Frontispiece
PRACTICAL
ORGAN-BUILDING
By W. E. DICKSON, M.A.
PRECENTOR OF ELY CATHEDRAL
SECOND EDITION, REVISED, WITH ADDITIONS
LONDON
CROSBY LOCKWOOD AND CO.
7, STATIONERS' HALL COURT, LUDGATE HILL
1882
[All rights reserved]
LONDON:
PRINTED BY J. S. VIRTUE AND CO., LIMITED,
CITY ROAD.
PREFACE.
This little work is undertaken because it is believed that no treatise on the construction of organs, at once short, practical, and accessible by all classes of readers, is extant.
The bulky volume of Hopkins and Rimbault, worthy as it is of all commendation, and abounding with matter interesting to the musician, does not profess to enter into details essential to the workman. The same remark may be applied to sundry treatises in the form of articles contributed to Encyclopædias, or to periodicals of a popular kind. The writers of these articles, probably fully masters of the subject, cannot, from the very nature of the case, command the time, space, and amplitude of illustration absolutely necessary for the full elucidation of the mechanical processes involved in the construction of the most elaborate and ingenious of all musical instruments.
Readers of the French language, indeed, may find all that they require in a most admirable and exhaustive work, the "Facteur d'Orgues," by M. Hamel, forming one of the series of the[Pg vi] "Manuels-Roret," published in 1849 by Roret of Paris, in three volumes, with an atlas of plates. The author of this complete exposition of the organ-builder's art has taken for the foundation of his book the great work of Dom Bedos, a Benedictine monk, who printed in 1766-78, at Paris, two sumptuous folio volumes, with plates, which leave unnoticed nothing which was known or practised by the workmen of his period. The modern editor, however, who displays a most intimate knowledge of his subject, together with an enviable power of explaining it in all its minutest details, aided, as he is, by the most accurate of all European languages, has produced in his third volume a manual of the art of organ-building in recent times, which covers the whole field of investigation, and of which it is not too much to say that it can never be surpassed.
A somewhat indifferent translation of a German treatise on the "Organ and its Construction," by Herr Seidel, of Breslau, appeared some years ago. But this work, like the English publication first noticed, is not for the dwellers in workshops, but for organists, choir-masters, clergymen, and others entrusted with the care of existing organs, or likely to be concerned in the erection of new ones.
The writer has lately perused, with much pleasure and advantage, a tract of about forty pages on "Organ Voicing and Tuning," published for the author (evidently a practical operator). He can warmly recommend this unpretending introduction[Pg vii] to the highest branch of the art, so seldom mastered save by those who have had the advantage of early and assiduous practice under skilled guidance. But it deals, of course, with that highest branch only, and assumes previous knowledge of mechanical construction.
He himself, several years ago, contributed a short series of articles on the construction of small organs to a periodical publication now extinct. The letters which he received from working men, urging him to treat the subject in greater detail, furnished a striking proof of the extent to which the leisure hours of many artisans are devoted to the production of an organ in some one of its innumerable forms, from the toy with two or three stops to the complete instrument with as many rows of keys. Such inquirers will not be satisfied, he fears, by the narratives of "How we made our First Organ," and the like, in well-meant and otherwise well-written books for boys. The real difficulties of organ-building (and they are numerous) are simply evaded in some recent books of this kind, which convey the irresistible impression that their authors are not themselves handlers of the plane and chisel. The true workman knows full well that the very simplest of organs cannot be put together in a few weeks, out of school-hours, and side by side with other undertakings.
If the present work, in which the writer describes the results of his own experience, and lays[Pg viii] down no rules which he has not reduced to practice in his own workshop, should have the effect of deterring ingenious boys from attempting their "First Organ" until the possession of a large stock of patience, as well as the command of leisure, and of means moderately adequate for the purchase of good materials, are abundantly and unmistakably assured to them, the author, once a plodding and untiring boy-workman himself, will have reason to be satisfied that his efforts to explain a complicated and intricate structure have not been entirely fruitless.
PREFACE TO THE SECOND EDITION.
Since the publication of this work, the author has had reason to believe that some hints as to the design and erection of small organs in country churches may be acceptable to readers who occupy the position, not of constructors, but of purchasers. He trusts that the chapter now added, "On Village Church Organs," will be found to contain the desired information.
CONTENTS.
| CHAPTER I. | |
| PLANT AND MATERIALS. | |
| PAGE | |
| The Workshop—Tools—Lathe—Materials | 1 |
| CHAPTER II. | |
| THE STOPPED DIAPASON. | |
| Tablature, or Names of Notes—Lengths of Pipes—Parts of Stopped Pipe—The Scale—Two Methods of making Wooden Pipes—Some Varieties of Pipes—Old English Organs | 10 |
| CHAPTER III. | |
| THE SOUND-BOARD. | |
| Dimensions of Organs—Construction of Sound-board—Channels—Sliders—Plantations of Pipes—Bars—Bearers—Upper Boards—Rack-boards | 27 |
| CHAPTER IV. | |
| THE SOUND-BOARD.—(Continued.) | |
| Grooving—Boring Holes—Conducting-boards—Conveyances | 44 |
| CHAPTER V. | |
| THE WIND-CHEST. | |
| Running of Wind—Blacklead used—Pallets—Leather for Pallets—Springs—How to make them—Pull-downs—Drilling—Brass Plate—Front-board | 55 |
| CHAPTER VI. | |
| THE BELLOWS, TRUNKS, AND FRAME. | |
| Shape of Bellows—Valves or Clacks—Cummins's Improvements—Counter-balances—The Cuckoo-feeder—Hydraulic-power Engines—Trunks—The Frame—Its general Dimensions—Hollow Frame-work—Blowing Pedal—Blowing Lever | 72 |
| CHAPTER VII. | |
| PLANTATION OF PIPES. | |
| Pipe-feet—Rack-pins—Symmetry | [Pg x]90 |
| CHAPTER VIII. | |
| THE ACTION. | |
| Definitions—Back-fall—Bridge—Square—Sticker—Tracker—Tapped Wires—Cloths—Buttons—Rollers—Roller-boards—Principle of Organ-action—Fan-frame—Keys—Roller-frame—Double Sound-board Action—Thumping-board | 94 |
| CHAPTER IX. | |
| VOICING AND TUNING. | |
| Metal Pipes—Their Construction—Nicking—Voicing—The Wind-gauge—Defects in Pipes—Temperament—Regulation | 115 |
| CHAPTER X. | |
| THE DRAW-STOPS. | |
| Four Methods of drawing the Stops described—Levers—Bell-cranks—Trundles—Iron Trundles | 127 |
| CHAPTER XI. | |
| PEDALS. | |
| Their Compass—Dimensions—Springs—Dip—Connection with Key-board—Removable Pedal-board | 135 |
| CHAPTER XII. | |
| TWO-MANUAL ORGANS. | |
| Remarks on the Swell-organ—Organs with Great and Choir—Borrowing in Two-manual Organs—Chamber Organ by Schmidt—The Swell-box—Its Construction—The Swell-action—Reed-stops—Manual Couplers—Rising and Falling Bridges—Pedal Couplers—Old Method of Coupling—A Combination Manual—The Pedal Sub-bass of 16-feet Tone—Scale—Wind-valve for Pedal Chest—Violoncello Stop—Terzo Mano | 141 |
| CHAPTER XIII. | |
| VILLAGE CHURCH ORGANS. | |
| Principles of Construction—Suggestions for Designs—Objections noticed—Care of Old Organs | 165 |
ORGAN-BUILDING.
CHAPTER I.
PLANT AND MATERIALS.
We shall assume at once, and at the very outset, that our reader has the fixed purpose of producing an organ which shall be creditable to its builder, a source of pleasure to its players and their hearers, and an ornament to the room or building in which it is erected: in short, that he remembers the excellent maxim, "whatever is worth doing at all, is worth doing well," and will not be content with rough workmanship, inferior materials, and inharmonious results.
Assuming this as the basis and principle of all our suggestions, we shall nevertheless bear in mind the necessity of adapting our rules to the conditions imposed by slender purses, and the imperfect appliances of humble workshops. Without attempting to quote the actual market prices of the wood, leather, and metal required, or of those important parts of the instrument which in most cases will be purchased ready-made, we shall endeavour to show[Pg 2] how economy may be consulted by obtaining all these gradually, as our work advances with that inevitably slow progress which attends all proceedings in which most haste is found to be worse speed.
We shall buy nothing which we can make for ourselves. The common sense of our readers may be trusted not to press the application of this rule to a reductio ad absurdum. As we shall certainly buy, and not make, our screws and nails, so in the course of the following pages we may possibly recommend the buying of certain parts of the work, in full remembrance of our rule. But even in these occasional instances we shall probably point out how expenditure may be saved by patient industry. We need not anticipate. Our readers will see for themselves what we mean as we go on.
Our task will be somewhat simplified if we suppose that an organ is desired for a room of moderate size. Such an instrument will commonly have one manual, or row of keys, with four or five stops, or sets of pipes. Pedals, with or without pipes of their own of deep bass quality, must be considered essential in every organ making any pretension to completeness, or intended to afford useful practice for learners. Taking this as a rough outline or sketch of probable plans, it will be easy to see hereafter how they may be indefinitely extended.
Our organ factory, then (with some such plan in our head), must be a roomy, well-lighted, perfectly dry workshop, furnished with a fire-place or stove[Pg 3] for the glue-pot, with drawers or cupboards for storing away skins of leather and other materials not in constant requirement, and with shelves on which pipes may be stowed without danger of rolling off. It must not be a mere shed or hovel in which we might mend the cart or the wheel-barrow, and it should not be far from our dwelling-house, if we are likely to work at our serious undertaking in the winter evenings.
The shop must be fitted with a full-sized bench in good condition, that is to say, with its top dressed truly, and not hacked by rough usage; and good workmanship will be much promoted if the usual appliances of such a bench are of the best kind and in complete order. True planing, so vitally essential in organ-building, cannot be done upon a crazy or worn-out bench. The bench should stand near a window, and it should be so placed that boards much longer than itself may be occasionally dressed upon it by temporary arrangements.
The tools required are chiefly those which are common to every joiner's shop; notably and of first importance the three planes, the jack, the jointer or trying plane, and the little smoothing plane. This last may now be bought in a very handy form, entirely of iron, and fitted with a clever adjustment by which the cutter can be set to any degree of fineness. This little plane (an American invention) is invaluable for many purposes involving extreme neatness and accuracy. The planes must at all times be kept in first-rate order, and any defect[Pg 4] which makes its appearance must be instantly rectified by a careful use of the oil stone. The latter, let us mention by the way, as we may have youthful and inexperienced readers, should be levelled occasionally by being rubbed on a flat slab with sand and water. The plane is emphatically the tool of the organ-builder, and no pains should be considered too great to be bestowed on the care of these beautiful tools, or on the attainment of dexterity in the use of them.
The usual saws, the ripping saw, the panel saw, the dovetail, the key-hole or pad saw, will be required; and we may take this opportunity of remarking that as the organ-builder must have a strong dash of the smith as well as of the joiner in his composition, his shop must have a stout vice fixed in a convenient part of it, and a few good files always available for brass or for iron. (The reader is doubtless aware that the same file must not be used for both these metals.) Drills for metal, some of them of small clockmaker's sizes with a bow and breast-plate for working them, will belong to this department, which will also include a screw-plate for tapping wires of various sizes from one-eighth of an inch downwards, and cutting pliers or nippers for dividing the wire.
The tool-chest must contain a thoroughly good brace and bits; and among the last should be some one of the various forms of adjustable centre-bits for cutting large circular holes of graduated dimensions up to 3 inches diameter.
In connection with this it may here be mentioned that most of the holes bored with the brace and bits (though not the huge holes just referred to), will be scorched or charred with a red-hot iron, in order to clear them of splinters, and allow a perfectly free passage for the air which will pass through them. A few pieces of iron rod, of sizes suitable for this purpose, will therefore be required. Many of these holes will be also countersunk, that is, rendered conical at their extremity, in order to receive the conical feet of the pipes which receive from these conduits their supply of wind. This countersunk portion is also scorched or charred, and two or three conical irons will be wanted for this purpose. But we have not yet come to this. When we are ready for these irons, we can have them made by any blacksmith, or we may have put aside some stout morsels of old iron from which we ourselves may contrive to fashion them.
An important question must next be asked.
Is a turning-lathe absolutely necessary as part of the plant of our factory? We must answer this. We should be sorry to deny that a small organ certainly can be and may be built without the aid of a lathe. We know that it has been done. But it is equally undeniable that the absence of a lathe, or of access to a lathe, will necessitate the purchase of certain parts (wooden pipe-feet for instance, and rack-pins), at an outlay which will bear an appreciable proportion to the first cost of[Pg 6] a simple and inexpensive machine. Pressed, then, to say if our workshop must include a lathe, we are bound to reply in the affirmative, explaining, in the same breath, that all the purposes of the young organ-builder will be answered by a lathe of humble character and trifling cost. We ourselves, during several years of early beginnings, used a small clockmaker's lathe by Fenn, of Newgate Street, just capable of admitting between its centres the little billet of wood ready for shaping as a pipe-foot, that is to say, about 7 inches in length, and from 2 inches down to half an inch in diameter. We still possess this little lathe, and still sometimes use it for small work. Some such simple lathe, or some lathe still simpler, being voted as necessary, the usual turning-chisels and gouges will of course accompany it, and we shall assume that our readers possess a sufficient acquaintance with the wood-turner's art to require no hints from us on the subject other than those which we shall give in regular course as we proceed. If they are fortunate enough to possess a superior lathe, with slide-rest and slow motion for turning iron and brass, they will find the machine most conducive to good and durable workmanship, and we shall not hesitate to point out, as we go on, how materially it will assist us in giving strength, firmness, and finish, to various parts of our work.
We have furnished, then, our workshop, or rather, let us say, we see it in our "mind's eye"[Pg 7] furnished as we should wish it to be. And now we may lay in our stock of wood.
Several boards of half-inch pine, perfectly dry and sound, without knots; these are of first necessity. Such boards are generally about 12 feet in length and from 12 to 15 or even 20 or more inches in breadth. If a little stock can be laid in of such boards when an opportunity occurs of obtaining exceptionally clean stuff, it will be well to have them by us. A board or two of three-quarters stuff, and a board of inch stuff, all sound and clean pine, must be provided.
And here we may pause for a moment.
We intend to begin our organ by making a set of wooden pipes. Hence we need not provide ourselves with more timber for the present than we shall need for this first operation. But as in our imaginary furnishing of the workshop, we included several or many things which belong rather to future than to immediate use, so we may here place the reader in a position to form some idea of the further expense to which he will be put for the purchase of timber for his proposed small organ of four or five stops. The pine boards just enumerated will give us our first set of pipes; but when these are ready, we shall require some rather costly wood for the sound-board. This should be Honduras mahogany, often called "Bay wood," and of three thicknesses, say, three-quarters stuff for the table of the sound-board;[1] a full inch, or, [Pg 8]still better, five-quarters, for the upper boards; and some very thin stuff, three-eighths or less, known as "coach-panel," for the sliders. The quantities, or number of square feet, of these mahogany boards will be determined by considerations discussed in a subsequent chapter. The wood must be carefully selected, for the grain of it is often tortuous and unkindly for the plane; it must be, like the pine, free from large knots, flaws, and cracks; and the completeness of its seasoning should be quite unquestionable and beyond the reach of suspicion.
[1] All these expressions will, of course, be explained hereafter.
It is not unreasonable to assume that the reader, who has contemplated for some time the building of an organ, has already by him some materials which he knows will be necessary; for instance, some boards of sound white deal for the framework, and perhaps for the bellows; and some scantlings of red deal, or pitch pine, or oak, or mahogany, or red cedar, for the blocks and stoppers of pipes. He will not need the aid of this book to be aware that old materials may sometimes be turned to excellent account in such a business as that upon which he is embarking. We have known the purchase (for a pound or two) of an old square pianoforte turn out a profitable investment. Its mahogany top was solid, not veneered; and the thin boards found in its interior dry as touch-wood, and perhaps one hundred years old, were made into pipes of charming sweetness.
The old organs before the days of mahogany were made chiefly of oak, often called "wainscot."[Pg 9] We ourselves have made much use of this durable and trustworthy material, which may be obtained in the convenient form known as "coopers' staves," being planks about 6 feet in length, as many inches in width, and 2 or 3 inches thick. They may be divided, at any saw-pit or saw-mill, into boards of the desired thinness, and they work pleasantly under thoroughly sharp tools.
And now we may set to work upon our set of wood pipes.
CHAPTER II.
THE STOPPED DIAPASON.
Why do we begin by making a set of wooden pipes?
For two reasons. First, because they will afford a trial of patience, and involve a great deal of good joinery. Second, because until they are made, or, at any rate, until we know their precise dimensions, we cannot plot out with accuracy the very important sound-board, which is to carry them and the other pipes which are to follow. Either of these reasons is, to our mind, sufficient, apart from the other; and we strongly recommend the young beginner to set himself resolutely to the manufacture of the complete set of wooden pipes belonging to the commonest of all organ-stops, the Stopped Diapason, before taking any step in the direction of the machinery or apparatus which is to waken them into harmonious vibrations.
Our explanations will be much assisted here if we introduce a few definitions of terms in constant use. The pipes which we are about to make will give notes, when tuned, which are familiarly designated by certain names. Thus, the lowest[Pg 11] note on the manual or key-board of modern organs is called Double C (printed CC). The note one octave above this is Tenor C; the octave of Tenor C is Middle C; and above this, again, we have Treble C (often called Foot C) and C in Alto. Some of the other notes of the scale, in a similar way, have convenient names. Thus, the first F in the bass is Double F, or FF; the next F, the F of the Tenor octave, is often called Clef F, as the Bass, or F Clef, stands upon this line in music; its sharp is FF sharp; but then we come at once to a single G, and this note is often called Gamut G. The octave above this note is called Fiddle G, as it sounds the same note as the fourth string of the violin. The note B, we may add, throughout the organ, is understood to mean B flat; the semitone above this is indicated by the musical symbol the Natural (♮).
We have not quite done with this. There is another way of referring to pipes, and to complete sets of pipes, which is in familiar use, and is part of the mother-tongue of the organ-builder. We have said that Treble C is often called Foot C. This is because the ordinary open pipe of that note (speaking now quite inexactly, and without precision), is 1 foot in length. In a similar way, CC is 8-foot C, or the 8-foot note, because the open pipe is 8 feet in length, speaking roundly or roughly. Tenor C is 4-foot C; Middle C, 2-foot C.
It will be easily understood that these convenient designations are retained, even though the construc[Pg 12]tion of the pipes may render them strictly inapplicable. Thus, the lowest note of our first stop will still be 8-foot C, though, as we shall soon see, the stopping of the wooden tube enables us to reduce the actual length by one-half. Our CC will still be of 8-feet pitch, or tone, and by no means becomes a 4-foot C, because its actual measurement, when completed, will not exceed 4 feet in total length.
One step further. The theoretical length of the lowest note is not only used to designate that note and the pipes which belong to that note, but is extended to the designation of the whole set of pipes of which it is the lowest or longest. This whole set of pipes is called familiarly a Stop; thus we have at once the ready terms, 8-feet stops, 16-feet stops, 4-feet stops, 2-feet stops, &c.; and it will be understood that by an 8-feet stop, we mean a set of pipes yielding the common or ordinary pitch of the pianoforte, or of the human voice; while a 4-feet stop, when the very same keys are pressed down, will yield notes one octave higher than this ordinary or standard pitch; the 2-feet stop, notes two octaves higher; the 16-feet stop, notes one octave lower, or deeper. And if all these four stops are played at the same time, (tuning and other manipulations being now assumed), an effect will be produced highly agreeable to the ear, and vastly superior to that which would result from the mere multiplication of 8-feet stops only.
Our little organ of five stops, when completed,[Pg 13] will probably be described with correctness if it is said to contain two 8-feet stops, two 4-feet stops, and one 2-foot stop: a ready and conventional way of speaking, we repeat yet once more, since the instrument will contain no open pipe 8 feet in length, and since, of the 4-feet stops, one will be only of 4-feet tone, or pitch, while even the 2-feet stop, for reasons which will be abundantly made clear, may possibly have no 2-feet pipe.
Some pains have been taken to explain all this, because we have met with young workmen whose comprehension of such rudimentary matters was far from complete, and who were misled by the fanciful and wholly unimportant names engraved upon the knobs which govern the stops, e.g. "Flute," "Dulciana," &c. If we have any such young beginners among our present readers, they will see that the names are quite of secondary concern, and that the essential thing is to have a clear understanding of the pitch of each stop, as represented by the length of the pipe, actual or virtual, corresponding to the lowest note of the manual.
And now we proceed to our work. What we have to do is to make fifty-four pipes, extending from CC to F in alto, and of the form or sort known in England as Stopped Diapason. One of these pipes, let us suppose Tenor C, is shown in Fig. 1. a is a block of mahogany or oak, or of some other wood faced with mahogany or oak, and about 3 inches in length. It has a throat or deep depres[Pg 14]sion across it, formed by taking out the wood between two saw-cuts, or by boring adjacent holes with a centre-bit. b is a stopper, made of any wood, the exact size of the block, or a trifle less, to allow for a leather covering, and fashioned at top into a knob, or turned in the lathe, for convenient handling by the tuner. c is the pipe when put together by gluing three boards, namely, the back and the two sides, to the block, and one, namely the front board, to the edges of the sides. This fourth board is about 3 inches shorter than the others, and has a lip formed on its lower edge by bevelling the wood with a sharp chisel. d is a cap, 3 inches long, and as wide as the block with the side boards attached; it is hollowed in a wedge-shaped form as shown in the figure. e is a foot, turned in the lathe, bored from end to end, and 5 or 6 inches in length. f is the completed pipe, with the stopper inserted, the cap put on, and the foot in its place.
Fig. 1.
We have to make fifty-four such pipes, each of the dimensions proper for the production of its[Pg 15] own note, deep in the bass or shrill in the treble.
It is quite clear that we must not work by "rule of thumb," but understand well what we are about from the very first, if we do not wish to cut our wood to waste and cover ourselves with mortification.
Begin thus. Take a sheet of stout paper, and on it, with rule and compasses, draw a scale showing all the requisite measurements.
Here we must be a little arbitrary, and lay down the law without giving lengthy reasons for our ruling. Stopped pipes are half the length of open pipes yielding the same notes. Our CC pipe will therefore be 4 feet long. The four C's of the ascending scale are the halves of each other. Therefore Tenor C will be 2 feet, Middle C 1 foot, Treble C 6 inches, and C in alto 3 inches, in length. The word nearly, or about, must be understood as prefixed in every case to our measurements. Accordingly, the lengths of all the pipes in the stop will be easily obtained by drawing a vertical line 1 foot in length on the paper, and dividing it into twelve equal parts. At the bottom, write Tenor C, 2 feet; at the top, Middle C, 1 foot. Then the length of each of the eleven pipes intervening between these extremes will be at once obtained by easy measurement. By doubling these lengths we shall obtain those of the bass, or 8-feet octave. By halving them, those of the middle octave. By dividing them by four, we get those of the treble octave.
Note well that these rough and approximate lengths are speaking lengths of the wooden tubes, or, in other words, of the column of air within them, measured from the top of the block to the under side of the stopper. Hence, in cutting out the boards, the length of the block—about 3 inches, or less in small pipes—must be added to three of them, and an inch or more allowed to all four of them to give good room for the stopper.
But we are not yet in a position to cut out the boards.
It might be thought that as we get the lengths by the easy arithmetical process described above, so with equal ease shall we get the widths and depths of the blocks. The pipes are not square, but are deeper than they are wide, in the proportion of about 5 to 4. It might be thought that if the block of Tenor C be 2 inches wide and 2½ inches deep, then the block of Middle C will be 1 inch by 1¼ inches; the block of Foot C ½ inch by ⅝, and so on. This is not so. These treble pipes would be quite unreasonably small, and would give weak and thin sounds, while the bass octave, commencing with a block 4 inches by 5 inches, would be needlessly large for a chamber organ. Without wasting words upon a matter which is really very simple, let us say at once that we shall adopt for our Stopped Diapason a scale commencing with a CC block 3¼ inches wide and 4 inches deep, and that the block of Tenor C will be 2⅛ inches wide and 2⅝ deep. Thus the half of the width and depth[Pg 17] of the CC block will not be reached until the eighteenth note above it, instead of the thirteenth, and in the higher parts of the scale the diminution in the sizes of the blocks may be yet more gradual.
Fig. 2.
A glance at Fig. 2 will enable our readers to draw scales for themselves for the Stopped Diapason, and for other wooden stops which may follow it, from a few given data, and to suit cir[Pg 18]cumstances. A minute or Chinese accuracy is not requisite. The vertical line of any convenient length being drawn upon the paper, the width and depth of the CC block are measured off upon a horizontal line drawn at its lower extremity. Eighteen divisions being marked upon the vertical line, the half-width and half-depth of the CC block are measured upon another horizontal line drawn at the eighteenth mark. These points being joined by straight lines, and horizontal lines being drawn at each of the marks parallel to the others, we shall have the widths and depths of the blocks of all the pipes from CC to Clef F inclusive, viz. eighteen blocks. The next eighteen blocks will be sized in a precisely similar manner, and as three times eighteen is equal to fifty-four, the whole stop may be divided into three sections of eighteen pipes in each section, and it may be for our convenience to make one section at a time.
There are two methods of working together the block and the four boards which form the pipe. We will give them both, and decide between them.
First method. Cut out the board for the back, and dress it carefully to the exact width of the block. Glue the block to the lower extremity, and when the glue is dry dress up all perfectly flush. Cut out the side boards as wide as the depth of the block with the thickness of the back board added to it. Glue them to the sides of the block and to the edges of the backboard, obtaining a perfectly close joint by using wooden clamps and wedges[Pg 19] as in gluing up a violin, or by other obvious contrivances. When the glue is dry dress up the front edges flush with the block, and glue on the front board, which will be cut out as wide as the block together with the thicknesses of the side boards. The front board must overlap the upper edge of the block by about ⅛ inch or more. If all this is carefully done according to the rules of good joinery the result should be a neat and strong pipe, truly rectangular at its upper or open extremity. Brads or sprigs are not to be thought of in pipe-making, unless, indeed, in the very exceptional case of organs intended for tropical climates.
Second method. Cut out first the two side boards the width of the depth of the block, and glue them to it. Dress the edges flush with the block, and glue on at once the back and front boards, obtaining irreproachable joints as before, and taking infinite care that the upper extremities of the side boards do not approach each other. In making our smaller pipes (say from Middle C upwards), we are in the habit of straining whip-cord or stout hempen string round them, winding it first upon a loose pipe-foot or smooth tool-handle to avoid cutting the hands; and we ensure a correct aperture at the top by placing within it a thin slice cut from the block itself, or by introducing the stopper if it has been already prepared of the same size as the block. The notches made by the string upon the edges of the soft pine-wood[Pg 20] are easily removed when the finished pipe is dressed over with a fine plane.
We have no difficulty in giving our decision in favour of the second plan, which avoids the four tedious dryings of the glue, and which admits more readily of pressure being applied to the freshly glued joints. But in making open pipes, which have not to bear the driving-in of a stopper, there is much to recommend the first method.
This point being settled, we may cut out the side boards and prepare the blocks for one of our divisions, let us say the middle section, from Clef F sharp to the natural below Foot C. Blocks of this moderate size will be best made by taking a piece of wood of suitable character, long enough for six or more, and by dressing it down as each block is cut off, making careful and constant use of the gauge, the square, and the callipers. We like to form the throat with a centre-bit after the pipe is put together. The thirty-six boards will be glued to the eighteen blocks, and while the glue is drying we can prepare the backs and fronts. The bevelled lip of the latter will be left uncut until all the pipes have been glued up and dressed over, and the top edges nicely cleaned off and made true. But as there will be, doubtless, a most pardonable anxiety to hear the sound of one pipe, we will here explain that the height of the mouth of each pipe must be equal to one-third of its width; thus the mouth of the pipe measuring one inch and a half across the block (A in our scale) will[Pg 21] be ½ inch in height. In measuring the height of the mouths, a pair of proportional compasses with sliding centre, or common dividers set to thirds, fourths, and fifths, will be useful if not necessary. The slope of the bevel is not of great importance. Cut it with a sharp chisel, taking care not to injure the block, and leave the lower edge or lip rather blunt. A sharp and pointed knife may be employed in cutting the lip truly, guided by the square. The use of fine glass-paper is permissible here to smooth all these parts nicely.
The throat having been formed in the face of the block, about 1 inch from its lower end, bore the foot-hole in the bottom of the block clear into the throat, beginning with a small borer, and enlarging the hole cautiously, as rough and hasty proceedings might split the block at this point, especially in the case of small pipes.
Prepare the cap from a suitable bit of mahogany, oak, or other close-grained wood, and hollow out the back of it with a chisel as shown in d, Fig. 1. Form the flue or wind-way through which the air is to pass to the lip by filing away the edge left at the top of the wedge-shaped hollow, trying your work by placing the cap against the side of the pipe or any other flat surface. The flue must not be wider than 1⁄16 inch at Tenor C, and must be reduced as we ascend the scale until it will hardly admit a slip of thin paper. It will not be so much as ⅛ inch wide even at CC.
Perhaps the stopper has been already prepared[Pg 22] of the same size as the block, and has been formed into a knob at top, or turned in the lathe, or, in the case of the larger pipes, fitted with a turned handle glued into a hole bored for its reception. Dress off the angles of the stopper in order to allow room for the soft white leather with which it is covered to fold itself in the corners of the pipe. We generally rasp our stoppers, leaving them rough that the leather may cling to the stopper and not to the pipe. The leather cannot be too thin if it is soft, and if the stopper fits closely. Rub the interior of the top of the pipe with a bit of tallow-candle, and introduce the stopper cautiously. It should slide within the pipe at once easily and with accurate fit, and if your joinery has been good there should be no fear of splitting the pipe or of opening the joints.
The cap when finally fitted will have its upper edge about ⅛ inch below the upper edge of the block. On applying it in this position, holding it there with your fingers, or tying it on with string, and blowing gently into the foot-hole, you will have a pleasant fluty musical note. Probably a little chirp or whistle will be heard before the note comes on. The removal of this defect belongs to the important operation called voicing, of which we shall treat hereafter.
We have cut our boards from the half-inch pine, but as we rise in the scale much thinner stuff will be used. It is well to foresee this in laying in our materials. Red cedar, often used by cabinet[Pg 23]makers for the inside of drawers and wardrobes, makes very pretty pipes, holds the glue well, and has an agreeable odour in working. Harder woods, notably oak, were often used by the old builders. Pear-tree commends itself much in German workshops.
The four or five lowest pipes (CC to EE, or higher) should be of stouter stuff than half-inch, say five-eighths or even three-quarters. The caps of these large pipes will not be glued on but fixed with three screws, and we may modify a previous remark by admitting that in the case of these larger pipes the use of nails is legitimate.
Of the pipe-feet we shall speak when we come to the business of planning the rack-board with its holes for their reception.
We must not close this chapter without giving some further explanations on the subject of pipe-making.
Large pipes, both open and stopped, may be advantageously made with languids instead of blocks. Fig. 3 shows the section of a pipe so made. The block is replaced by two pieces of suitable wood, a a, let into the side boards with plenty of glue. The glue should also be allowed to run freely into the angles and corners of the throat when the back board is fitted. Pipes made in this way are a little lighter than those with blocks.
Fig. 3.
The stoppers of the smaller pipes, say from Fiddle G or Middle C to top, are often bored with a hole passing clear through the wood and leather, and burnt smooth with an iron. After what has been said of the necessity of securing a good fit for the stopper, it might be thought that this hole would ruin the pipe. Curiously enough it is not so, but imparts a slight increase of fulness to the tone. The holes must not be large, ¼ inch at Middle C will be sufficient. Note well that pipes with perforated stoppers must be a trifle longer, say 1 inch in 12, than those completely closed. Thus the pipe for C sharp must be as long as the fully stopped C pipe.
Wooden pipes are also made with inverted mouths, that is to say, the bevelled lip is formed on the inside instead of on the outside of the front board. In this case the bevel is cut and the mouth measured and formed before the pipe is put together, and the front board will be of the same length as the others, and will be glued like them to the block. The throat is cut through the board into the block, and the cap will project beyond the level of the board. All this is shown in Fig. 4.
Fig. 4.
We have a very charming Stopped Diapason made in this way, and with perforated stoppers, in one of our organs. It[Pg 25] is of red cedar from Middle C to top; the lower part is of pine and of the ordinary construction. The mouths are in the proportion of two-sevenths of the width of each pipe. Inverted mouths are well suited, also, to the Clarabella and Hohl Flöte, two kindred stops which sometimes take the place of the Stopped Diapason in its upper octaves. The pipes are open, and have a hollow penetrating tone; Middle C is 2 feet long, and its block may be of the same size as that of the same note in our scale, namely, about 1⅜ by 1¾. The mouth about 2⁄7 of the width. These open pipes are tuned by means of shades, which are pieces of pipe metal let into a saw-cut made in the top edge of the back board. The shade must be as wide as the pipe, and ½ inch longer than its depth. The pipe is flattened by bending the shade over the open top, sharpened by raising it.
The German stop, the Doppel-flöte, which has two mouths opposite to each other, and of course two caps for each pipe, is seldom or never heard in this country. A few pipes which we have made as experiments hardly seem to repay us for the additional trouble and labour.
Trouble and labour were of little account, apparently, in the old days of English organ-building two centuries ago, if we may judge from the really marvellous specimens of patient pipe-making in wood which have come down to us. We ourselves have seen and played organs of exquisite sweetness and beauty by old Bernhard Schmidt[Pg 26] (1660-1708), containing four or five stops in which every pipe was of oak, even up to the top note of a Fifteenth of 2 feet. Such an organ, built by Loosemore, 1664, the builder of the cathedral organ, is preserved, we believe, at Exeter. It has six stops, including a Twelfth, all made of wood. Modern life is too hasty and impetuous for such efforts. If any of our readers, however, should set themselves the task of making very small pipes in wood, we advise them to form the block and foot from one piece, and to follow the first method (see p. 18) in putting the minute contrivance together.
CHAPTER III.
THE SOUND-BOARD.
We may fairly assume that no one will embark upon the very serious business of building an organ, and that probably no one will read this book, who has not sufficient previous knowledge of the subject to understand what is meant by the expressions sound-board, wind-chest, pallets, sliders.
It may be taken as certain, moreover, that the reader who takes up this book to assist him in the arduous work which he has undertaken, and in the hope (which we trust we shall not disappoint) of finding rules laid down in it which he can readily reduce to practice, has long ago decided upon the position which the projected organ is to occupy, and has measured with his eye, if not with his two-foot rule or tape, the breadth, depth, and height which can be fairly allowed to the finished instrument.
Great diversity of dimension and design is one of the peculiarities which distinguish organs from all other musical instruments. Our organ may be wide and shallow like a book-case, or it may be of[Pg 28] little greater width than its key-board, but deep like a wardrobe; it may be carried up nearly to the ceiling of a lofty apartment, or may be kept down to suit the low-browed rafters of a country farmhouse or a workman's cottage.
The site chosen for the organ may allow of convenient access to the back of it for tuning purposes; or it may compel us to arrange the interior so that the back may always remain in close contact with the wall. The projection of the keys, too, from the front, and therefore the position of the player when seated at the instrument, possibly in a small room; the place for the blowing-handle and for the person who works it, so that convenient space may be left for him to fulfil his irksome duty—these are matters of detail admitting of great variety of treatment.
There are cases in which it may be possible, and very advantageous, to separate the bellows from the organ which they supply, and to establish them in an adjoining room, or beneath the floor or platform on which the organ is placed.
All these considerations must receive full attention, and drawings or rough sketches sufficiently intelligible to the workman himself must be made in accordance with the decisions arrived at. Then, and not till then, we can launch ourselves upon the very serious business of designing and constructing the sound-board.
A serious business, we say, making a large demand upon our industry and perseverance, and[Pg 29] calling for adroit use of tools of several different characters.
To facilitate our own task in describing the process of constructing a sound-board, we shall divide this chapter into short sections, with intervening remarks.
1. The sound-board is a shallow box, divided internally into as many transverse grooves or channels as there are notes on the key-board. The pipes stand upon holes bored through the top of the box into these channels; and it is plain that if air is made to fill these channels, and to issue from these holes in a constant stream when we please, all the pipes which stand upon the holes will give their sounds according to their pitch and character.
Remark.—Thus if one channel, say the channel corresponding to Tenor C, have five holes bored into it through the top of the box, then five pipes standing upon those holes may be made to speak at once, or in chorus, by pressing down the one key on the manual.
2. It is plain that we must possess the power of opening and closing these holes in sets or classes at our pleasure, so that the air may be directed into those pipes which we desire to hear, while others are silent. The top of the box is therefore made double, or of two layers of wood; and between the two layers long strips of thin wood are introduced, lying lengthwise, that is to say, at right angles to the channels beneath or within.[Pg 30] The holes are bored down through all these three layers of wood forming the top of the box; and we see that by sliding the thin slip an inch or so to the right or left, we can cut off at once the current of air from the pipes standing on those holes, since the apertures in the three layers will then no longer coincide.
Remark.—All this is quite independent of, and preliminary to, the arrangements for admitting the supply of air to the channels themselves.
3. Having already made our Stopped Diapason pipes, let us range them on a table or floor, and consider well how they must be planted on a sound-board such as we are about to make for our organ, be it broad and shallow, or narrow and deep, be it low or lofty.
Remark.—No other stop will practically take up so much room on the sound-board as the Stopped Diapason; hence, if we plot the board with reference to it, all the other pipes will be easily worked in.
Fig. 5.
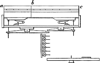
4. On the opposite page several different plantations of the Stopped Diapason are shown both in elevation and in plan. In Fig. 5 the pipes, planted in a double row throughout, are placed alternately to the right and to the left, meeting in the middle at the smallest pipe. The exact reverse of this plantation, namely, placing the largest pipes in the middle, and sloping down to the smallest pipes at each end, can be easily imagined, and it is unnecessary to figure it. It is clear that in both these [Pg 31]plantations the large pipes occupy a space, as regards depth, out of proportion to the space occupied by the upper part of the stop. Fig. 6 shows a very common plantation of pipes, which, as we shall see hereafter, allows us to simplify the internal mechanism or action. Fig. 7, in plan only, shows a mode of economising space as regards depth by planting the pipes of the lower octave in a single row, resuming the double row at Tenor C. This plantation would suit a wide and shallow organ. Figs. 8 and 9 show different methods of planting the large pipes in order to avoid a disproportionate [Pg 32]sacrifice of space on the board. It will be seen at a glance that they can be ranged behind the pipes of the tenor and treble octaves, or carried off to the right and left in rows standing at right angles to them. Fig. 10, in elevation only, shows how we may build an organ under the ceiling of a very low room, by planting the eight feet octave on a board[Pg 33] of its own at a lower level than that of the sound-board proper. And it is easy to conceive, without a figure, that this accessory board may be replaced by two boards, to right and left, resulting in a plan resembling that in Fig. 9, but giving a lower level to the tall pipes.
Fig. 6.
Fig. 7.
Fig. 8.
Fig. 9.
Remark.—We confess to a strong liking for these later plantations, which require some little careful mechanical adaptations, but result in a compact arrangement, admitting of enclosure in a case of graceful outline.
Fig. 10.
5. We have still some considerations requiring careful attention before we can map out our sound-board. The plantation of the pipes will be the chief guide to the planning of the channels, with the divisions or spaces between them; but it must not be forgotten that the boring of the holes for the supply of air must be done in regular lines within spaces or widths easily covered by the sliders. A[Pg 34] slider is seldom more than from 2 to 3 inches wide; there are good reasons why this width cannot conveniently be much exceeded. But the feet of the large pipes in the bass octave will be as much as 5 inches or more apart when the pipes are planted back to back, as in Figs. 5 and 6. Hence we must decide, before we begin to work, not only how the pipes are to stand on the board, but how they are to get their wind and be deprived of it by the action of a slider of the usual width. Perhaps we shall resolve to run two narrow sliders under the foot-holes of the whole stop, one for each of the two rows, controlling both sliders by a single knob or handle. By this method every pipe will stand on its wind, as the workmen say, that is, will be in direct and uninterrupted communication with the channel when the holes are open. Or possibly it may suit our plans better to run two sliders under the feet of the bass pipes, and a third between them, under the rest of the stop; all three, be it well understood, extending from end to end of the sound-board, but having holes only at the[Pg 35] proper places, and being blank elsewhere: these three sliders being governed by one knob, or by two, if the stop is to draw in halves (as it is called), that is, as a separate Bass and Treble. Or, once again, we may use a single slider for the whole stop, but carry the wind through grooves fashioned in the solid wood from the holes bored in the usual way to the points at which the pipes are planted. And, lastly, we may carry the wind from the holes to pipes planted in any position, and practically at any distance by tubes made of pipe-metal or other material.
Remark.—It need hardly be said that an examination of the interior of a well-built organ will be of great service to the beginner who is planning his first sound-board.
6. The dimensions, then, and character of the sound-board having been determined after full consideration of the site for the organ, and a drawing or sketch having been made for your own guidance, proceed thus:—Take a board of good clean bay-wood, ½, ⅝, or ¾ inch in thickness, and long enough and wide enough to form the "table" or top of your work; and dress this carefully until one of its surfaces is quite true and level. This dressed or levelled side is to be the lower or under side, and we are about to form upon it the grooves or channels of which it will ultimately form the roof. Next prepare a ruler or straight edge of any thin stuff, and on this, with compasses, rule, and square, guided by plenty of deliberate consideration, mark the size and place of each of the grooves, and of[Pg 36] the bar of wood which will divide each groove from its neighbour, from end to end. You will find, of course, and you were previously aware, that the widths of the grooves and the thickness of the bars will vary in proportion to their place in the scale. Let us say at once that ¾ inch will be ample width for the CC groove in our small organ; and let us advise that the smallest groove in the treble be about ¼ inch in width, and that the bars between these narrow grooves be at least ⅜ or ½ inch in thickness, in order to allow a good seat or margin for the pallets or valves which are to govern the admission of the wind. In the bass the bars will be very much thicker than this, or not, according to the plan which you have adopted. The part of your rule in which you will soon perceive that the chief danger of crowding your pipes will arise is the tenor octave. Refer carefully to your pipes, and be quite sure before you mark your ruler, that you are allowing room for Tenor C and its neighbours to stand clear of each other when they are planted on the completed board. Having satisfied yourself on these points, prepare your bars from sound pine-wood, planing them with care, and especially seeing that the edge of each bar is truly square with its sides. Two inches will be an ample width for each bar, in other words, an ample depth for each groove when completed. Their length will of course be equal to the width of the table, less an inch or so, according to the construction now to be described.
There are now two methods of proceeding. First method:—The table being turned over, with the dressed side uppermost, your ruler well in sight, with plenty of hot and fresh glue fix your first thick bar at or near either end of the table. We say, "or near either end," because you may like to leave room for a finishing cheek of mahogany when all the bars are put in. The second bar will be glued to the table in like manner, the proper distance from the first being secured by "filling-in pieces" of wood of the exact thickness, glued between the bars at their ends. This alternation of bars and fillings-in will be continued until all the grooves have been formed according to your ruler; the rough ends of the bars will then be dressed with a sharp plane, and neat cheeks of stout bay-wood will be glued on all the four sides of the divided box which you have thus built up. Second method:—Prepare the bay-wood cheeks first, and in the two long ones, using a fine saw and small chisel, cut grooves to receive the ends of the bars. Form a shallow box by gluing these bay-wood sides and ends to the table. The corners need not be dovetailed, but an equally close joint must be secured if dovetailing is omitted. Then introduce the bars, using an abundance of hot glue, and taking care that no bar fits so tightly between the cheeks as to risk bending. When all the bars are glued in, add more thin glue within each groove, placing the sound-board in a sloping position that the glue may run into the angles, and afterwards reversing[Pg 38] the board to the opposite slope, repeating the coating of thin glue.
Remark.—This unusual profusion of glue is to preclude the possibility of air making its way from one groove to the adjacent one bypassing between the edge of the bar and the table; and what is here said applies equally to both methods.
We ourselves prefer the second method to the first. M. Hamel, in his wonderfully accurate and minute treatise, describes a third, in which the fillings-in are avoided. Those to whom his book is accessible cannot fail to share the present writer's admiration of his marvellous industry, and of his great gift of clear and precise description of mechanical processes. Hopkins and Rimbault may also be consulted with much advantage.
7. The work, thus glued up, must be left in a dry room for two or three days, until all is perfectly set and hard. Meanwhile the other pieces of which the completed sound-board will consist are being cut out and prepared. We shall want the upper boards, the sliders, and the slips of wood (false sliders the French builders call them, while in England they are termed bearers) which divide these from each other.
We may safely suppose that if the ordinary form of sound-board has been chosen—such, for instance, as that which is shown in Fig. 6—its size will be about 4 feet, or 6 inches more, in length. Its width will depend on the number of stops for which it is planned, and therefore of sliders which are to work[Pg 39] on the table; if we are to have five stops, about 15 inches may be taken as the probable width, but this may be less, or more, according to the class of stops selected, and the arrangement chosen for their bass pipes. To give accurate measurements in feet and inches for all the parts of the sound-board would only mislead our readers at this stage of our labours. We give general rules only: it must rest with the reader himself, as we have now abundantly reminded him, to decide on the shape of his sound-board and to make the plantation of his pipes, and the consequent arrangement of grooves and sliders conformable thereto.
Assuming, then, quite arbitrarily, and independently of all special considerations, that the sound-board is 4 feet long and 15 inches wide, we may cut out the upper boards from sound and clean bay-wood, 1¼ inch thick. Cut them 6 inches longer than the sound-board. And now as to width. As there are five stops, and five sliders for them, are we to understand that we shall have also five upper boards? To this we reply, by no means. Our stops, we assume, will be two of 8 feet, two of 4 feet, and one of 2 feet. For reasons which we shall soon give, we shall propose to have one upper board for each of these three divisions: that for the 8-feet stops being 7 inches wide, that for the 4 feet 5 inches, and for the 2 feet 3 inches. Under the 7-inch board there will be two sliders, each 2 inches in width; under the 5-inch, two sliders, each 1½ inch in width; and under the 3-inch, one[Pg 40] slider, 1¼ inch wide. The bearers will be thus:—The two outside bearers, that is, those which extend along the front and back margins of the sound-board, to be 1¼ inch in width; the second bearer (reckoning from the back) to be 1 inch; the third to be 1½ inch, because it will lie beneath the line of junction, or rather of division, between the two wider upper boards; the fourth bearer may be ½ inch only, being merely a separation between the next two sliders; the fifth may be 1¼ inch, falling as it does under a line of division; the sixth is similar to the first. It will thus be seen that we have—
| 2 | sliders, | 2 | inches | each | = | 4 | inches |
| 2 | " | 1½ | " | " | = | 3 | " |
| 1 | " | 1¼ | " | " | = | 1¼ | " |
| 3 | bearers, | 1¼ | " | " | = | 3¾ | " |
| 1 | " | 1½ | " | " | = | 1½ | " |
| 1 | " | 1 | " | " | = | 1 | " |
| 1 | " | ½ | " | " | = | ½ | " |
| — | |||||||
| Total width | = | 15 | inches. |
Remark.—All this is so important that we have shown the measurements drawn to scale in Fig. 11.
Cut out the sliders and bearers from perfectly clean sound bay-wood or red cedar boards, not more than ⅜ inch in thickness. Having turned your sound-board over, with the table uppermost, assemble all the pieces, and satisfy yourself that your measurements are correct, and that so far there is no error in your plans. See that all your planes are in first-rate order, and set yourself in earnest to bring to a perfectly level and true sur[Pg 41]face the table or top of the sound-board, and one side of the sliders and bearers. No pains must be spared to render the surface of the table absolutely true. Apply a "straight edge" rubbed with chalk, moving it in various directions, and use unwearied diligence in removing all inequalities detected by this means. Take care, too, that there is no "winding." In short, adopt all the means which the rules of good joinery give you for producing a surface faultlessly level. This done, arrange upon the table, with their planed sides downwards, your sliders and bearers, and pin them down upon it with very small brads, piercing through near their edges. In doing this have regard to the grain of the wood, as you are about to dress the upper surfaces. Sink the brads well out of the way of the plane with a punch, and bring the sliders and bearers to a true level as you did the table.
Scale, two-thirds of an inch to a foot.
Fig. 11.
Remark.—M. Hamel advises that in making the sound-board the table should be left 3 inches longer at each end than the actual box beneath, expressly to afford a bearing for the ends of the[Pg 42] sliders during this business of planing them. If this suggestion is not followed, the projecting ends of the sliders will require separate attention.
The three upper boards may now be brought down upon the finished sliders and bearers, and a couple of iron pins or dowels may be let into each of them and into the bearers and table beneath, near their extremities, for the purpose of confining them temporarily in the exact places which they are to occupy. Dress over now the upper sides of the three boards, which do not, however, require attention to absolute truth.
8. We cannot yet bore the holes for the pipes. Before we can do so we must prepare yet another board or boards of clean pine, ⅝ or ¾ inch thick, 4 feet 6 inches long, and 15 inches wide, for the rack boards through which the pipe-feet are to pass, and which are to maintain the pipes in an upright position. If you have two upper boards the division should occur between those of the 8-feet and 4-feet stops. Pin down your rack-board upon the upper boards with brads here and there near the edges.
Let us now consider for a moment. We have made our box of fifty-four transverse channels or grooves, and its top consists now of four layers of wood—namely, the table, the sliders, the upper boards, and the rack-boards. Through these four layers of wood, at the proper places, are to be bored holes of various sizes clear through into the channels; but it is plain that the holes in the rack[Pg 43]-boards will always be much larger than those in the three other layers, because the rack-boards are to be ultimately raised about 5 inches above the upper board on legs or pins, and will therefore receive the thick part of the conical pipe-feet, while the holes in the upper board will only receive their tip or small extremity. But the centres of the large holes in the rack-board must coincide accurately with the centres of the small holes beneath, and we shall therefore proceed to mark the exact spots where each of the holes will commence.
By the aid of your marked rule, trace a line on the front and back cheeks of the sound-board, showing the centre of each groove. From these points draw lines across the rack-boards. It is evident that all holes bored through the four layers of wood at any point in any of these lines must terminate in a channel. Draw lines at right angles to the last, showing the widths of the sliders and bearers; it will then be further evident that we cannot easily get wrong in boring the holes so that they may penetrate the sliders at the exact points intended. But the actual boring, with certain consequences or contingencies belonging thereto, must be reserved for the next chapter.
CHAPTER IV.
THE SOUND-BOARD.—(Continued.)
The time has come when we must decide what our five stops are to be, since the sizes and places of the holes must be in accordance with the quality and character of the pipes supplied by them.
The Stopped Diapason we have already made; and in our organ it will be the chief or foundation stop of 8-feet tone. We shall assume that the second stop in the 8-feet pitch will be a metal Dulciana, or small open Diapason. The 4-feet stops will doubtless be a Principal (or some equivalent) and a Flute. The 2-feet stop we will call simply Fifteenth for the moment. For convenience of reference we will number the stops thus:—
| 1. | Dulciana or open | } | 8 | feet pitch |
| 2. | Stopped Diapason | } | " | " |
| 3. | Principal | } | 4 | " |
| 4. | Flute | } | " | " |
| 5. | Fifteenth | 2 | " |
The pipes of No. 1, being the tallest in the organ, will be planted nearest to the back; all the others, occupying the successive sliders, will present a gradation of heights agreeable to the eye and convenient for the tuner.
No. 1, we say, is the tallest in the organ; but be it carefully observed that in our small instrument it will not be carried down to its lowest note CC, which would be 8 feet in speaking length; it will not descend lower than tenor C, 4 feet, and the last or lowest twelve notes or sounds will be obtained by using the corresponding pipes of the Stopped Diapason as a bass for both stops.
This will be done by "grooving;" and it will now be seen why, in cutting out the upper boards, we were careful to have a single board for the pipes of 8-feet pitch, and another single board for those of 4-feet pitch. For it is plain that by boring holes through the upper board, sliders, and table into any groove of the sound-board, and by connecting these holes together by means of another deep groove or score cut in the wood of the upper board, and then covered in with an air-tight covering, we obtain a secondary channel, supplied with air by either or both of the sliders at pleasure; and by boring one hole through the air-tight covering, and planting a pipe on that hole, that pipe will speak whenever a connection is made between the secondary channel on which it stands and the main channel or groove below, which is receiving air at the moment from the bellows.
Clearly, therefore, if we bore holes through the upper boards and sliders of Nos. 1 and 2 into the twelve grooves of the bass octave, and then connect these twelve pairs of holes by cutting upper grooves in the surface of the boards, covering them in by[Pg 46] thin boards of wood well glued down, we have then only to plant our twelve largest stopped pipes on twelve new holes bored in these thin boards last mentioned, and we have at once a bass common to both stops, and each of the two stops will be practically, and for ordinary purposes, complete down to the lowest note when its slider is drawn. When both sliders are drawn, the secondary groove will receive air from both holes in the upper board; but this will not have the effect of over-blowing the pipe, since the pressure or weight of the air remains the same, and since the pipe can only receive the quantity of air which is permitted to pass through the aperture in its foot.
It will now be seen why we did not at once bore the holes, or rather mark their places, on the rack-board. Plainly, we must make these twelve grooves first, and cover them in. Then, replacing the rack-board as before, carefully mark on the latter the exact place of each bass pipe, as it will stand on any part of its secondary groove. Afterwards, with a bradawl or other sharp-pointed borer, prick quite through the rack-board at every one of the points which you have marked throughout its whole extent. At these points there will hereafter be circular holes of various sizes for the reception of the pipe-feet, but in the upper boards, sliders, and tables there will be smaller holes, adapted for conveying its stream of air to each pipe. Before removing the rack-board, decide upon the places where the rack-pins, or pillars[Pg 47] which will hold the rack-board up above the sound-board, are to be. Have plenty of these, say six or eight if you have a single rack-board, or five to each if you have two, in order to insure a firm plantation of the pipes, and bore holes for them with a centre-bit, say ⅝ diameter, through the rack-board and to the depth of 1 inch in the upper boards.
The rack-board now being put aside for the present, all the holes may be bored through the upper boards, sliders, and table with bits of various sizes. From what has been said above it will be seen that it is not the sizes of these holes, but of the apertures in the pipe-feet, which regulate the volumes of wind supplied to the pipes; but you will, of course, use bits proportioned to the pipes you have in view. The upper, or treble, holes must not let the little pipes slip into them, nor must the larger holes throttle or check the flow of the wind. In the bass the holes may be as large as the grooves will allow; and if these are narrow, or if there is secondary grooving or conducting, it will be well to cut the round hole at its interior aperture with a sharp chisel into a square or rectangular opening; or to bore two round holes and connect them by taking out the intervening wood. Afterwards, with iron rods of various sizes, heated to redness, scorch all the holes through the three thicknesses of wood, leaving a clear and smooth charred passage for the wind.
We have not yet done with grooving. This seems[Pg 48] to be the proper place for pointing out how the use of this system may further assist us in the arrangement of an organ.
Our bass pipes, we have said above, may be planted on holes cut in any part of the covering or roof of their respective secondary channels. It follows readily from this that the secondary groove or channel may be extended or prolonged for the express purpose of locating the pipes in situations convenient for them. Quite apart from any necessity which may exist for supplying a common bass to two or more sliders, we may evidently plant our larger pipes almost where and how we please by cutting grooves in the substance of the upper board, extending from the table beneath to the point where we wish the pipe to be. So long as the holes are of sufficient diameter and the grooves of ample dimensions, the wind will reach a pipe located at a distance even of 2 or 3 feet from its source of supply without any appreciable interval between the impact of the finger on the key and the production of the sound; and the grooves may be curved almost as we please, though sharp angles should be avoided.
Even if, in consequence of alterations of original plans or other circumstances, the upper boards should not be of sufficient thickness or size to admit of grooving, we may still avail ourselves of this convenient system by using an additional or supplementary upper board, which we will here call a conducting board, screwed down upon the main[Pg 49] upper board, and containing the grooves. To fix the exact places for the holes in the under side of the conducting board, corresponding with those in the table, spread a sheet of white paper over the upper board at the part where the conducting is to be, making the edges or corners of the paper coincide with those of the board, and rub the paper with the finger so as to take clear impressions of the holes; then transfer the paper to the under side of the conducting board, guided by the edges and corners as above, and prick out on this under side the centres of the circular impressions made on the paper. It is evident that when the conducting board is applied to the upper board, edges and corners coinciding as before, these punctured marks will be exactly over the wind holes in the table. The holes in the upper side of the conducting board will be marked as before from the rack-board, and grooves cut and roofed in with thin wood, as previously described.
Note further, that the grooving may be, if necessary, on both sides of the upper boards. All that is needful in such case is, that after the grooves on the under sides, next the sliders, are cut, the whole of the board, and not merely the grooved part of it, shall be covered or veneered with thin stuff. This must be dressed perfectly true, as in the case of the solid or ungrooved board, and all the holes will be bored through it. The upper sides will also have a neater appearance if the roofing of thin mahogany or cedar is carried over its entire surface. Upper[Pg 50] boards so treated are, in fact, compounded of three layers of wood, a central thick slab containing the grooves, and two coverings or veneers. The gluing on of these latter must, of course, be very sound and effectual in every part, or a running of wind might ensue—a most provoking and really fatal defect, incurable without complete reconstruction.
Short grooves may be made by boring holes with a centre-bit in the edges of the upper boards, and making the wind-hole beneath and the pipe-hole above communicate with this concealed tunnel. On plugging up the external aperture in the edge of the board, or on stopping a whole row of such apertures by gluing a band of leather, parchment, or thick paper over them, it is clear that the wind will pass to the pipes at pleasure. All such holes and channels must be scorched with hot irons. To the true joiner this may seem an unworkmanlike expedient, but it is necessary to prevent the weakening of the currents of air which would ensue from friction against rough surfaces, and to preclude the risk of carrying tiny chips and particles of wood into the pipes. If conducting boards are used, they should be faced with soft white leather on their under surfaces before they are screwed down in their places, unless, indeed, they are glued down immovably. The places for the screws, as well as for those which secure the whole upper board to the table, must be carefully determined with reference to the grooves.
Fig. 12 is intended to show, in a rough way, how in an upper board BB grooves may conduct the wind from the holes in a slider AA to a row of pipe-holes near the margin of the board, resulting in an arrangement like that shown in Fig. 8. The dotted lines are meant to indicate grooves cut in the under side of the board. It is clear that these might be made to cross the others, so that different plantations of pipes might be obtained, as in Fig. 9.
Fig. 12.
Remark.—These figures, however, must be understood rather as illustrations of our meaning than as representations of actual work.
Conveyancing tubes are in constant use, not only as substitutes for grooving, but as ancillary to it. They are made of pipe-metal, and from about ⅝ inch in diameter to much larger sizes. To manage them neatly and well you should be adroit in the use of the soldering-iron. They are commonly smeared over with a composition which will not receive the melted solder; this composition is scraped off at the points where a junction is to be made at an angle, and with the usual copper tool, a little resin and tallow, the solder is applied. Much practice is needed to give mastery of this[Pg 52] process, apparently so easy; we have known instances in which it has been avoided altogether by covering the junctions of the conductors with white leather secured by thick flour paste. It is right, also, to add, that we have seen successful conveyances made of cartridge paper rolled upon wooden mandrels with paste. Any tin-plate worker in your town or village would make them of his own material or of zinc, and in an hour or two would solder all the junctions for you when you had planned your arrangement thoroughly.
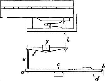
Assuming, however, the use of the usual tubes, we may say that they are thus applied. Let us suppose that the large pipe shown in Fig. 10 is to be conducted off from the sound-board at the higher level to the plank on which it stands. Bore the hole in the upper board a trifle larger than the outside diameter of the tube. Glue a patch of white leather over the hole, and cut out the aperture in this leather somewhat smaller than the hole, leaving an excess of leather all round the hole of about 1/8 inch. Then, making the end of the tube a little conical, thrust it into the hole; it will carry in with it the surplus margin of the leather, which will form around it an air-tight joint or collar. A right angle may be allowed in the tube at this first commencement at the hole itself, but in its subsequent course sharp corners should be avoided. The pipe is planted on a hole bored to a sufficient depth in a plank; a second hole, suited to a conducting tube, is bored at any[Pg 53] convenient distance from this, and communication made between these two holes by a groove in the under side of the plank closed in with leather, parchment, thick paper, or wood; then the end of the tube is forced as before into the hole bored for it and provided with leather packing, and all is complete.
It is by these means that "speaking fronts" are arranged according to any design.
Remark.—If you have all your pipes, metal as well as wood, ready at hand, it might be well to pierce the rack-board and fit them in their places at this stage of the proceedings, because chips and dust are inseparable from the operation, and may be more troublesome and mischievous after the pallets are put in than now. Those readers who resolve on this course may turn, then, to the subsequent pages, in which they will find all the directions which are necessary for their guidance. For our own part, we prefer to continue in the next chapter our account of the mechanism of the sound-board.
We may further remark, that while the boring-tools are in use we may perhaps do wisely in piercing holes also for the screws which are to hold the upper boards down upon the sliders. If the planing has been perfectly true, about four pairs of screws should be enough for each upper board, and no extra screws should be required to force the boards into closer contact at any intermediate part. The screws should pass clear and[Pg 54] easily through the holes in the boards, and should bite well in the table beneath. The heads of the screws should be let down below the level of the upper surface of the boards by counter-sinking, and it is a useful practice to mark the places of these screws on the rack-board as well, and to bore corresponding holes in this latter, in order that if hereafter a slider should be pinched too tightly between the upper board and table, the end of a long screw-driver may be introduced to ease it by slackening the screws without disturbing the pipes.
But we shall have to return to this part of our subject.
CHAPTER V.
THE WIND-CHEST.
The somewhat wearisome task of boring more than 250 holes in the sound-board being now assumed as accomplished, we may take the upper boards and sliders apart, and retouch the holes here and there, as required, with the hot iron. The apertures of the holes in the interior of the channels must be thus attended to, as the boring-bit may have occasionally torn the wood and left rough edges. Upon the faintest suspicion arising in your mind of any flaw or crack set up in any channel during the business of boring, smear over the whole interior of that channel anew with thin glue, letting it flow as before into the angles. A running of the wind from one channel to the next is, as we have said, the most provoking of all defects, and might compel us to pull the whole of the organ to pieces after it was set up.
The running of wind from one pipe-hole to an adjacent one, either under the slider or between the slider and upper board, though very annoying, is a much less serious evil. As a precaution against its occurrence, it is usual to make little cuts or[Pg 56] canals running tortuously all across the table from edge to edge between the pipe-holes, and to make similar canals or ducts across the under side of the upper boards, so that no vagrant wind can pass from a hole to its neighbour in any direction without encountering one of these little cuts, and being conducted by it to the edge of the sound-board, where it will escape harmlessly. If the planing of all the surfaces is absolutely perfect, these cuts should be unnecessary, and we have seen highly finished sound-boards in which they were omitted; but we must recommend their introduction by all young beginners. They may be neatly and quickly formed by using the V-shaped tool common among sculptors in wood, and procurable at any good tool warehouse. Its two edges should be exceedingly keen. The cuts may be about ⅛ inch in depth.
After this is done, the movement to and fro of the sliders should be regulated by cutting a little slot in each of them, and letting a very stout pin of wood or iron into the table within the slot, so as to stop the slider at the exact points. Of course all your sliders will have the same extent of play, say 1 inch, less or more, according to your arrangement of the pipe-holes. You will probably have so far thought over your whole work as to be able also to cut the openings or slots in the projecting ends of the sliders by which the mechanism for drawing them in and out will be applied to them. We shall show, hereafter, one or two different ways of effecting this movement to and fro.
After this, take some good blacklead in powder, and with a stiff brush rub it over every part of the table until the whole surface has a lustre like that of a well-cleaned boot. Treat the sliders and the under side of the upper boards in the same way. This application of blacklead greatly diminishes friction between wooden surfaces brought into contact. Some operators mix the blacklead powder into a thick paste with spirits of turpentine, or with water. We prefer using it dry, but we heartily endorse M. Hamel's complaint that it is difficult to procure blacklead of good quality. That which is sold for household purposes is often little better than a gritty sand.
When the blacklead has been applied, the bearers may be pinned down in their places with small brads. The holes which you have bored for the screws will be conspicuous in them: over each of these holes, using thin glue or paste, place a slip of paper, extending 2 or 3 inches along the bearer on each side of the hole. The use of this is to hold up the upper board, in order that the slider may not be pinched so tightly as to be immovable. The upper boards may then be laid upon the bearers, with the sliders in place, and the screws turned until the sliders can be made to glide to and fro with smooth and easy motion.
Our bench, let us assume, has been swept and cleaned up after this blacklead rubbing, and now we turn over our work and proceed to a new class of operations.
We have to attach to this lower side of our sound-board a shallow box of the same length, and about 3 inches deep, called the wind-chest, which is to contain the apparatus by which the admission of compressed air to the channels is governed, and which is in direct communication with the bellows by means of a wooden tube called the wind-trunk.
We are mindful, of course, in drawing up this account of organ-building operations, that the majority of our readers stand in no need of definitions of these common terms. To such readers it is superfluous to explain that the valves by which the channels are kept closed while the keys are untouched by the fingers are called "pallets," and that these pallets are slips of wood a few inches in length, planed to a triangular prism-like section, faced with soft white leather, and held up against the channels, so as effectually to prevent the ingress of air, by springs. When the keys are pressed, the pallets corresponding to them are drawn down or opened by wires called "pull-downs," passing in an air-tight contrivance through the bottom of the chest.
Fig. 13 is a transverse section of the wind-chest, in which a is the pallet, held up by b, the spring, and drawn down by c, the wire. Part of the sound-board is shown above, also in section, as will be easily comprehended; and Fig. 14 is a view of part of the interior of the wind-chest when the front board is removed, four of the grooves being shown in section.
We proceed by sections, with intervening remarks, as in Chapter III.
Fig. 13.
1. Seven inches will be an ample length for the pallets in our organ; and as our channels are about 12½ inches in length (inside measurement), there will be between 5 and 6 inches of the channels uncovered by the pallets, and closed permanently in another way.
Remark.—We take 7 inches as the length of our pallets on the assumption that the widths of the channels are proportioned to a sound-board about 4 feet long.
Fig. 14.
2. Between the bars of the sound-board, at a distance of 6½ inches from that side at which you mean the movable front board to be, glue pieces of thin wood about 2 inches long and fitting nicely, and when the glue is dry dress these over with a fine plane truly flush with the edges of the bars and of the cheeks. You[Pg 60] have now a firm wooden surface to which you will glue, by-and-by, the little flap of leather which forms the hinge of the pallet.
3. The width of the wind-chest will be governed by that of the space covered by the pallets to be enclosed within it, in our case about 8 or 9 inches. 3 inches will be a sufficient depth. Make the two ends or cheeks of stout stuff, and face them up to correspond with those of the sound-board, with which they will be flush, taking care that their thickness is not so great as to prevent the leaving of an ample margin to the two extreme channels for the pallet to rest upon.
Remark.—In one of these cheeks a trunk-hole may have to be cut for the entrance of the wind. We ourselves greatly prefer making the trunk-hole in the bottom board of our chests. Your plans may not admit of this, and you will act accordingly.
The back of the chest, called the "wind-bar," d, Fig. 13, should be of strong and sound stuff, oak or mahogany, as it greatly helps to strengthen the whole sound-board and to bear the weight of the pipes. The corners should be dovetailed, or otherwise well and firmly jointed. These three pieces, the two cheeks and the back or wind-bar, will now be attached to the sound-board with glue and screws, to be separated from it no more; but the bottom, e (of 1-inch pine), will be fixed on with screws only, strips of soft white leather being interposed between the surfaces to ensure air-tightness;[Pg 61] and the front board, f, will be similarly fitted with an eye to occasional removal.
Remark.—All such screws should be dipped in melted tallow, or otherwise well greased before use, that they may not rust in their places.
4. Prepare the pallets from clean and very dry pine. Every pallet will be at least ¼ inch wider than its channel, that it may have not less than ⅛ inch of overlapping or margin on each side, and it will have more than this space to spare at each end. The pallets will be separated from each other when finally put in by stout pins of iron or brass, driven into the bars g, Fig. 13 and Fig. 14. Two such pins may be necessary between many of the pallets if the plan of your sound-board has given unusual thickness to some of the bars, and therefore unusual spaces between the pallets.
5. The pallets are to be faced with white sheep-skin, and it is usual, but not absolutely necessary, to give two layers of it to each pallet. About an inch of surplus will be left at one end to form the hinge; and this hinge should be stiffened by gluing a slip of thinner leather upon it and upon the sloped-off end of the pallet. The quality of the facing leather is of the highest importance, and we must counsel the reader to procure it from a builder, or from one of the shops which supply builders' materials. The price of such skins is between three and four shillings. If an inferior leather is used disappointment is sure to ensue; and though leather of very promising appearance[Pg 62] may be bought at the fellmongers' or shoemakers' in your town, you will only be put to new expense and additional trouble in the end by using it. In putting the leather on the pallets, a common plan is to pin down a sheet of glass-paper of medium roughness on a board, and to scatter a little whitening on it. The face of each leathered pallet (when the glue is dry) is gently drawn across this whitened surface. If, however, the leather is of superior quality in the first instance the glass-paper may be omitted, and a little whitening rubbed upon the leathered face will suffice. Even this may not be essential.
6. In working the pallets in take great care that each channel is covered by its pallet with an equal margin or surplus on each side of it. It is well to trace pencil lines on the bars as a guide. As you glue down each hinge give a little tap with a light hammer to the pallet, and satisfy yourself by inspection that the impression on the leather is equal and similar in every part. Allow no defect to pass. Rectify, for instance, the slightest bruise or depression in any of the bars at the points covered by the pallets. See, also, that all the pallets play easily between their guide-pins. Finally, a slip of wood about an inch wide may be bradded down upon the hinge-pieces. This is not essential, but it is a protection against possible straining and injury to the hinge by incautious treatment hereafter in cleaning the surface of the pallets.
Remark.—Organs have been constructed in[Pg 63] which the pallets were made to play upon a pin at the hinder end, and not upon a leathern hinge glued to the bars. Such pallets could be taken out one by one at any time for repair or cleaning. But repairs and cleaning, if the original workmanship is good, become necessary only at extremely rare intervals, and these removable pallets may be ranked among the mere curiosities of our subject. They are described and figured, however, by Seidel.
7. The springs, see Fig. 13, are now commonly of steel, which has extensively superseded brass, in consequence of the deterioration to which the latter metal is subject. We are bound to say, however, that we have used springs of best brass wire, even of late years, without any disappointing results, and that sets of such brass springs are, to our knowledge, as efficient as ever after thirty or forty years of constant use. But it is undeniable that the brass wire now procurable is subject to a change under the influence of damp and (it is said) under that of the fumes of gas, which renders it brittle and quite useless for purposes which require flexibility. Springs certainly cannot be made from wire so spoilt; but, as we have said, when once made from new wire, they may continue in use for periods practically unlimited.
Remark.—The store of brass wire should be kept wrapped up in brown paper. This applies also to brass plate.
Whatever the wire, the springs may be quickly[Pg 64] fashioned by using a board, Fig. 15, in which you have fixed a stout wooden peg, x, and two pins, y and z. The wire, if brass, should be about No. 17 or No. 18 of the gauge. The formation of the spring, by twisting the wire round x, y, and z, is too obvious to require further remark. The arms of the spring maybe about 5 inches in length, and they are curved outwards (see Fig. 16) by drawing them between the thumb and fingers. When so curved, and left uncompressed, the gape or distance between the extremities will be 7 or 8 inches.
Fig. 15.
Fig. 16.
Remark.—The strength of the springs must be regulated by your plans in other respects. We ourselves like strong springs, even if the manual touch be in consequence a little heavy.
8. The two extremities of each spring are bent at a right angle or nearly. One of these will be inserted, but quite loosely, in a small hole or punch-mark near the middle of the back of the pallet; the other, also quite loosely, in a similar hole or depression in a wooden bar extending the whole length of the wind-chest, and screwed down within two notches made for it in the inside of the cheeks. As the united pressure of the 54 springs will certainly bend this bar, it is well to introduce a long screw at about its middle point, passing through it, and biting well in one of the sounding-[Pg 65]bars. The spring-bar has a slip of wood, cedar or mahogany, about 2 inches wide, glued or bradded to it along the side which is to be nearest to the back of the chest. The springs will be held parallel to their pallets by playing loosely in cuts, about ⅛ inch wide, made in this slip of wood (Fig. 17).
Fig. 17.
The socket, or punch-mark, upon which the pressure of the spring is exerted, should be a little in advance of the middle of the pallet, so that the latter may be held up against the bars throughout its extent. The spring, be it carefully observed, is loosely held in place by the sockets and by the rack in which it plays, and it can be removed at any future time by the aid of the little clever tool which we have figured in Fig. 18, and which you can make for yourself.
When all this is done, furnish every pallet, if you have not already done so at an earlier stage, with a little ring or crook, by which to draw it down. This ring is best made by bending one end of a[Pg 66] bit of suitable wire, and thrusting the other obliquely into the pallet (see Fig. 18a). This is better than driving in a little staple vertically. The rings may be in a line drawn across the pallets about 1½ inches from their extremities.
Fig. 18.
Remark.—But it will be convenient that the rings to which the pull-downs will be hooked should be quite clear of the guide-pins.
Fig. 18a.
9. The bottom board being now put in its place for the moment, draw a line upon it from end to end exactly above the line of rings on the pallets, and draw lines at right angles to this corresponding with the centre of each channel, and therefore of each pallet. At each of these points a pull-down will pass through the board, and it is plain that it must be made to do so without allowing the wind included in the chest to escape. This was formerly effected by "purses" (French, boursettes), little leather bags, tied or otherwise attached to the pull-downs. We have seen this method successfully tried, but it is now so completely superseded by a simpler and more effectual plan that we do not think it worth our while to say more of it.
The arrangement now invariably adopted is thus made:—Procure a strip of brass plate, or several strips, equal in the aggregate to the length of the chest, and about 1½ inch or 2 inches wide. In too many organs this plate is poor stuff, not thicker than a visiting-card, sometimes even of zinc only, but in our opinion it should be at least[Pg 67] as thick as a shilling. Drill holes in this plate near the edges, and pin it down for the moment on the bottom board, so that the lines of holes for the pull-downs may run along its middle. Mark on the brass the intersections of the lines as before. Having previously chosen the wire for your pull-downs (of which more directly), take a fine drill, with your breast-plate and bow, and on a bit of waste plate try the size of the hole made by it, altering it on the oil-stone until the hole receives the wire with the nicest and most accurate fit.
Remark.—It will be well to store away the drill afterwards, with a bit of the wire as a specimen, and to use it for no other purpose.
This drilling is not a difficult operation, and only requires care and delicate manipulation. Of course, however, any clockmaker would drill the holes for you. Assuming confidently that you will drill them yourself, we recommend you to hold the bottom board, with the plate on it, in the screw-clamp of your bench, or in a similar vertical position, so that as the drill penetrates the brass it may be received by the soft wood of the board. This will diminish the risk of breaking it.
Remark.—Those who have a light handy lathe will know how to utilise it in drilling the holes in the brass plate apart from the board.
When all the holes are drilled, remove the plate, and clean off with a fine file the rough projections thrown up by the drill. With a much larger drill, twirled gently between the thumb and finger,[Pg 68] smooth the edges of all the holes on both sides of the plate. Try a bit of the wire in every hole, and draw it to and fro, when necessary, until its passage is perfectly smooth and easy. Grease should not be used; or, if a little tallow is rubbed over the wire, it should be wiped off clean.
The holes in the bottom board itself may be of any size we please, since they have nothing to do with keeping in the wind, and merely allow a perfectly clear passage for the wire pull-downs.
It is plain that if we now pin down the drilled plate in its place, the arrangement will not be complete without some provision for preventing the escape of wind in large quantities, and with an intolerable hissing noise, at the edges of the plate.
The builders prevent this escape and hissing by fitting two long slips or tringles of wood (see h, k, Fig. 13) along the two edges of the plate with glue and brads, or screws. These slips press the plate closely to the board throughout its entire length, and they protect from injury at the same time the rings of the pull-downs, which might easily be bent and distorted.
Using thicker plate, however, we ourselves greatly prefer to glue a strip of white leather, of the same width as the plate, over the holes in the board, piercing it with a sufficiently large awl at the centre of each hole, and we screw down our plate upon this leather, using numerous short screws, placed only 4 or 5 inches apart, passing[Pg 69] through holes drilled near the edges of the plate, and countersunk in the usual way. All escape of air is thus most effectually prevented, and the slips or tringles of wood become unnecessary, except, indeed, in their secondary character as protectors of the rings.
The bottom board may now be put on, and strongly secured by plenty of screws, well lubricated with tallow. Prepare the pull-downs, of uniform length, each with its little ring neatly formed; pass each through its hole in the plate, and with suitable pliers form the top of the wire into a hook, which takes hold of the ring of the pallet.
Remark.—Or you may pass all the wires through the holes, and form the hooks upon their ends before you fix the board in its place.
The builders often muffle the hook or ring with silk thread, or a morsel of soft and thin leather, to prevent a slight clicking noise which might be heard of wire against wire. This, however, is really not essential. It is, or formerly was, very common also to interpose an S of wire between the hook of the pull-down and the ring of the pallet. These connecting links are unnecessary, and are better omitted.
According to strict rule the pull-downs, passing through holes in brass, should themselves be of iron or steel; but we have always used brass wire, and we must refer our readers to what we have said of this material in treating of springs.[Pg 70] They must judge for themselves. The essential thing is that the wires should play easily and smoothly through the holes, drawing down the pallets with perfect freedom, and allowing them to return, when released, with a pleasant smartness. If a single pull-down fails in these respects remove it at once. Perhaps it is a little bent or bruised; possibly the hole in the plate may have been inadvertently left with a sharp edge, which has cut a notch in the wire; possibly, also, the pallet-ring may not be quite in a line with its fellows, and therefore not quite correctly above the hole in the plate, throwing the pull-down out of a right line into an oblique one. Rectify all defects of this kind at any expenditure of time and patience.
We have left all this time several inches of each channel open or uncovered, since the wind-chest closes in only that portion of the channels to which the pallets are applied. We may now finish our work by gluing white leather, or parchment, or even only stout paper, over the open part of the channels, taking care that it adheres well in every part.
We may add that it is sometimes, or often, convenient to place the wind-chest under the back part of the sound-board, and not under the front; or to place it midway between the back and front, or a few inches from either. This is done with an eye to arrangements connected with the action or movement, which will be described in detail. When the wind-chest is so placed care must be[Pg 71] taken to provide for the complete closing of the front board. A ledge of wood should be glued and pinned to the bars in such case, to afford a bearing for the front board and to receive the screws which secure it; or the edges of the board may be leathered, and it may be thrust in, with a tight fit, between the under side of the channels (roofed with wood at that point for the purpose), the cheeks, and the bottom board, cut an inch wider accordingly. Wedges are sometimes used, driven in behind clasps or hooks of iron, to keep it in its place. But in truth, when the organ is once well built and finished, several years may elapse without a disturbance of the board.
CHAPTER VI.
THE BELLOWS, TRUNKS, AND FRAME.
After all our minute operations with small drills and fine wires, calling for a light hand and patient accuracy, we have to turn to work comparatively rough and coarse. The business of bellows-making presents no serious difficulty, and we hope we may pass rapidly over it. We shall have no reader who is not already familiar with the form of organ-bellows, which consist of three main boards, namely, the middle board, the top board or table, and the feeder, and of thin plates of wood called ribs, the whole united together with flexible white leather forming hinges and gussets.
The shape or form of the bellows will of course be determined by that of the organ; they may be long and narrow, or short and wide, like the sound-board. Their capacity, or area, will depend on the number and character of the pipes which they have to supply with wind. A common rule is to assign two square feet of superficial area for each stop in the organ; but this would be in excess of the requirements of such a small organ as that which we are making. 3 feet 6 inches by 2 feet, giving[Pg 73] 7 square feet of area, will be ample dimensions in our case, and will work in conveniently with the size which we have assumed throughout for the sound-board, namely, about 4 feet or 4 feet 6 inches by 15 inches. In arranging your plans in the first instance, allow room for a drop or play of the feeder of at least 10 inches, free of all interruption from the pedal or other contrivance for blowing, for it is upon the capacity of the feeder that you must depend for the quantity of air supplied, the upper part of the bellows being merely a reservoir in which the compressed air is stored away, and from which it is distributed to the pipes as it is wanted. The reservoir may have a rise or play of about 10 inches or a foot. Get out the three main boards of deal or any sound stuff, leaving the middle board some inches longer than the other two, that its ends may rest upon the frame of the organ, or upon other supports as you may arrange. Cut out pieces, also, to form a shallow box, say 4 inches deep, upon the middle board, of the same size as the top board. This is called a trunk-band, and is introduced to allow of fixing the wind-trunks which are to convey the wind to the chest. You will want also a light frame of three-quarters stuff, pine recommended, to carry and support the ribs of the reservoir; the four boards of which it is made will be of the same width as the ribs themselves, namely, about 4 or 4½ inches. The ribs are of very thin stuff, say ¼ inch, but they must be quite sound and free from cracks. You will want six[Pg 74]teen ribs (eight pairs) for the reservoir and six for the feeder; of these last the long ones will be of triangular form.
Fig. 19.
Cut plenty of large openings in the feeder board for the admission of the external air, and in the middle board for the transfer of that air to the reservoir. These openings may be rectangular, say 4 inches by 1½, and there may be fully six of them in each board. After cutting them, convert them into gratings by fitting little wooden bars across them, 1 inch apart, let in flush with the board, and planed level. Each of these gratings will be covered with a valve or clack of stout white leather, two thicknesses glued together, and held down along one edge by a slip of wood and brads. These leathern valves should play with perfect ease, and it is well to thin down the hinge-flap, or cut it half through with a sharp penknife, that the valve may fly open at the slightest pressure of the wind, and may not throttle or retard its passage. It is a common plan to make these valves without a hinge, by attaching pieces of tape to the four corners, and pinning down the ends of the tapes to the board. The whole valve then rises and falls. We prefer the hinge. After cutting your ribs to the proper shapes, in which you can hardly get wrong, sort them into pairs, and glue a long strip of stout white sheep-skin along the edges of each pair. Stout calico or linen may be substituted for leather on the opposite side, namely, the side which will present the inner angle, and in which [Pg 75]the ribs will be in close contact when folded together. A glance at Fig. 19 will show that the upper ribs of the reservoir are in a position the reverse of that of the lower ribs. This inversion of the ribs represents the result of a clever invention by one Cummins, a clockmaker. Before its introduction, the air in the reservoir had suffered a slightly unequal compression as the top board descended, in consequence of the closing-in on all sides of the folds of the ribs, which diminished the space occupied by the air. Cummins's ingenious modification at once rectified this inequality, since the upper ribs fold outwards, and allow more room for the air, precisely in the same proportion as the lower ribs fold inwards and diminish the space. An unpractised ear might not, indeed, detect the slight change in the tone of the pipes caused by bellows made in the old-fashioned way, but let us by all means follow Cummins's plan. You will do well first to join the inner lower edges of the upper ribs to the inner sides of the middle frame; then [Pg 76]their other edges to the top board at the proper distance from its margin; then attach the upper and outer edges of the lower ribs to the outer edges of the middle frame; lastly, the lower edges of the lower ribs to the trunk-band. All this must be done quickly that the glue may not grow cold; it will much facilitate a distasteful operation to use a small sponge with warm water, passed over the outer or smooth side of the leathern strips as they are glued on. The main hinge of the feeder will be best made by passing pieces of hempen rope through several pairs of holes bored obliquely for the purpose in the feeder board and middle board, and wedged in with pegs and glue. Fig. 20 sufficiently explains this. Two or three layers of the stoutest leather will be glued over the line of junction formed by this hinge. There is no reason why the hinge should not be on one of the long sides of the feeder, instead of its narrow end, if your arrangements for the blowing-handle or pedal render this form of construction desirable. (You have doubtless well considered your blowing mechanism.) The ribs of the feeder being worked in like those of the reservoir, and all the glue dry, fix the bellows in a fully distended position by temporary appliances, and fill up the open corners by gusset-pieces of your best and most flexible leather. Material will be[Pg 77] economised and neatness consulted by preparing a paper pattern of the gusset-pieces in advance. Those of the feeder must be very strong, and it may be well, but it is not necessary, to put on a second pair over the first, but not glued to them in the folding or crumpled part. All must be perfectly tight and well glued down in every part. A mere pin-hole will betray itself hereafter by a disagreeable hissing.
Fig. 20.
We had almost forgotten to say that a valve 4 inches square, or thereabout, must be fitted in the middle of the top board to prevent over-blowing. This is generally made of a small board of wood, planed truly level, and covered with two thicknesses of the pallet leather, rubbed with whitening. It opens inwards, and is held closed by any simple application of a stout spring made of much thicker wire than the pallet springs. Fig. 21 suggests one of the very simplest of arrangements. A string, fastened to the under side of this safety-valve, and to the middle board beneath it, may be of such length as to pull the valve open when the bellows are fully inflated; or the valve may be pushed open from above by a wooden arm or catch attached for the purpose to some part of the frame.
Fig. 21.
The apertures for the trunks should be cut in the trunk-band, according to well-digested plans, before the bellows are put together, that there may be no sawdust or chips afterwards to get under the clacks; and it is well to give the whole interior of the bellows two coats of glue-size before the ribs are closed in.
Fig. 22.
The little contrivance a b c d, Fig. 22, is to ensure the simultaneous rising of the top board and middle frame when the bellows are in action. It may be conveniently made of hoop-iron, but oak or any hard and strong wood will be equally good. If some such contrivance were not introduced, the top board and upper ribs would rise first on the working of the feeder, and the frame and lower ribs would follow in their turn. This would cause inequality of pressure, since the top board would not at once bear up the weight of the frame and lower ribs. The little jointed apparatus redresses this by causing the whole of the ribs to obey the first admission of air. A simpler form of it will be found in Fig. 22a.
We are building a very small organ, but, desiring as we do to give as much completeness to this[Pg 79] treatise as circumstances will allow, we here explain that in larger instruments two feeders are generally or always introduced, unless, indeed, a "cuckoo feeder" is used, which practically amounts to the same thing, being a long board hinged to the under side of the middle board by a stout transverse piece in its middle, and provided with two sets of ribs, each set filling up the space from the middle hinge to the end of the board. This feeder supplies wind with the upward as well as the downward stroke of the bellows-handle, but it would not be suitable for an organ in which the blowing is effected by the foot.
Fig. 22a.
We may have readers who are so fortunately circumstanced as to be able to apply water-power to their bellows. In this case two feeders should be fitted in order to utilise both strokes of the ingenious little machine, which consists essentially of a piston moving water-tight in a cylinder provided with a valve which admits water alternately above and below it. This is not the place for entering on a discussion of the conditions essential to the due working of the water-pressure engine;[Pg 80] they may be studied in any modern treatise on hydro-dynamics; it is enough for our present purpose to say that a cylinder not larger than a common wine-bottle will give ample power for such an organ as ours, provided that the pressure on the piston be not less than 30 lbs. to the square inch, and that the supply-pipes be of ample size. Water, it must be remembered, does not expand like steam when admitted into an empty space, or rather into a space occupied only by atmospheric air; hence large pipes, large valves, and large ports, or valve-openings, must be provided, that the water-pressure, irresistible when properly applied, may be thrown at once upon the point where it is wanted. But this is by the way, and we will only add that the water machine should be in a room or cellar below or adjoining that in which the organ is placed, as a slight noise is inseparable from its action, and it should act on the feeders by a wooden or iron rod brought up through the floor. Still better if the whole apparatus, feeders, reservoir, and all, can be down-stairs or in a neighbouring apartment, the trunks only passing through the wall or floor. In very large modern instruments the feeders, worked by steam or water, are commonly made to move horizontally, in a way which will be understood if we imagine an accordion or concertina laid upon its side. When the reservoir is fully inflated it acts upon a valve, which reduces or cuts off the supply of water or steam.
The trunks are rectangular wooden tubes made[Pg 81] of half-inch pine, and well jointed. In their course from the trunk-band to the wind-chest right-angled mitres are permissible, for it is a mistake, though a common one, to imagine that the wind rushes in an impetuous stream along the trunks as it does (for instance) along a conveyancing tube when its pallet is open. The trunks are simply connecting links between the reservoir and wind-chest, but they must be large enough to ensure an equality of wind-density in both wind-chest and reservoir under all demands on the part of the player. Our trunk may be 5 inches by 2, inside measurement; or it may be 9 or 10 inches wide by only 1; or we may make it 3 or 4 inches square, as may suit our plans. The ends of the trunk should not be glued into the openings cut in the trunk-band and wind-chest. The ends, reduced by half the thickness of the wood, and brought to a shoulder, should be glued into an opening in a small board, an inch or two larger on all sides than the area of the trunk. Engineers would call this a "flange." This flange being leathered, and the aperture of the trunk cut out, it may be pressed with four or more screws against the margins of the openings with which it is in communication, and will thus be removable at any time if the organ is taken down or altered. The interior of wind-trunks should be well coated with thin glue, and the exterior should be painted. Some builders prefer to cover the exterior of their trunks with paper, and to line the ribs of the bellows with the same[Pg 82] material, applied with common paste. Trunks have been made, too, of zinc, and oval in section.
The frame of the organ, whatever its form or plan, should be very strong and solid, and should stand firmly in its place on the floor without any tendency to vibration or unsteadiness. The pieces of which it is composed should be of good deal, 1¼ inch thick, and from 3½ to 4½ inches wide, according to circumstances, that is to say, according to the weights which it has to carry. The essential points are these, namely, that the keys, or manual, shall rest upon firm supports at the proper height above the floor; that the sound-board shall be borne upon bearers at a sufficient height above the keys to admit the intervening mechanism; that the bellows shall be carried on cross pieces far enough removed from the floor to admit of the free play of the feeder.
You will take into consideration, in designing your frame, the question whether you will have pedals, and the still more important question whether you will have separate pipes for them, and how they are to be connected with the lower keys. Room must be provided for all the apparatus involved in these arrangements, and, as in every part of our work, so in this, we say that the reader himself must think over carefully all contingencies, and make a preliminary drawing to scale for his own guidance.
Enough if we lay down here the following rules:—
1. The under side of the key-board must be 25[Pg 83] inches from the floor, or from the upper surface of the pedal-board.
2. The under side of the wind-chest should, if possible, be at least 15 inches above the key-board.
3. The middle board of the bellows should be fully 12 inches above the floor, or above any trackers or other mechanism connected with pedals.
4. The front edge of the key-board should project about 1 foot in advance of the panels closing in the lower part of the case.
5. Ample space should be secured for a large book-board by allowing a still greater distance between this front edge of the keys and the front edge of the sound-board above.
These are not quite all the considerations involved in designing the frame. The draw-stops and their connection with the sliders must be well considered, and room left for the requisite apparatus; and the position of the bellows-handle should be determined, and the part of the frame on which its fulcrum or centre will rest.
Fig. 23 gives, perhaps, the simplest form of frame usually adopted for a small organ. It is made of four distinct frames, united at the angles by screws, so that the whole can be easily taken to pieces. It must be understood that the key-board is carried upon two cross-bearers, leaving the under part of the tails of the keys accessible; and the sound-board in like manner rests upon two bearers under its extreme ends. If any longitudinal bar is introduced to assist in sustaining[Pg 84] the weight of the sound-board, it must be after careful consideration of all the arrangements for the action or movements of the keys. Similarly, the entrance of the trunk must depend on the mechanism of the action and of the draw-stops. It is unnecessary to screw down the sound-board to the bearers. Its own weight when loaded with the pipes will keep it down, while a couple of dowels (short wooden pegs), one in each bearer, fitting into sockets in the bottom board of the wind-chest, will prevent it from moving laterally.
Fig. 23.
There is another form of frame well suited to small organs, and which we ourselves greatly approve. According to this plan, which is sketched in Fig. 24, the bellows are enclosed in a stout low[Pg 85] structure rising no higher than the level of the key-board which rests upon its top. The sound-board is carried upon cheeks screwed or otherwise attached to the bottom board of the wind-chest either at its extreme ends or at points nearer to its centre, according to your plans for the action and the draw-stops. Or the cheeks may be united by a stout transverse piece or girder, the sound-board being then kept in place by dowels only.
Fig. 24.
The present writer has further modified this arrangement by substituting a wide and shallow trunk for one of the cheeks. This trunk is screwed by its flange to the bottom board of the wind-chest, where the wind enters, and it is closed at[Pg 86] the bottom, where it rests upon the cross-bearers of the frame. A lateral aperture is cut in it an inch or two from this lower end, and a short mitred trunk connects it with the bellows. All this may be sufficiently understood by inspection of Fig. 24.
Remark.—The late eminent builder, Mr. W. Hill, we believe, exhibited an organ at the London International Exhibition in 1851 which had hollow framework, serving as trunks. It is evident that by making one end of our bellows rest upon a hollow bearer we might omit the trunk-band entirely, since this hollow bearer might be directly connected by a mitred trunk with the hollow cheek supporting the wind-chest. And by making one leg of the bellows-frame hollow, and connecting it at top with a hollow cross-bearer, carrying the cheek on which rests the wind-chest, it is plain that we supersede the separate trunk altogether. Such plans as these may amuse some of our readers.
Fig. 25.
If the feeder is worked by the foot of the player such a pedal as that shown in Fig. 25 will be found convenient. It is made of hard wood—oak, birch, ash, or walnut—with iron or brass hoops and pivots, and is screwed to the floor of the room, independently of the organ-frame. The little[Pg 87] roller should be covered or muffled with soft leather, and you will see that it rolls clear of the valve-holes in the feeder. By lengthening the middle piece or shaft we may work with the right foot, a feeder having its play on the left side; but in such a case the whole machine will be best made of iron by a smith. He will coat the pedal for you with india-rubber where the foot rests upon it—a much better plan than roughening it like a rasp. The pedal, as figured, is intended to be on the extreme right of the player, and to be clear of a pedal-board of two octaves.
The reader will see that by reversing the positions of the arms of the pedal it may be made to suit any little organ with a manual only. In this case the muffled roller will traverse the feeder not crosswise, but lengthwise.
We pointed out in a former page that the position of a bellows-blower must be considered in your plans for the finished instrument. If he stands close to the player on either side of him the lever will be easily poised upon a strong pin projecting from the frame. A piece of web or a leathern strap will be a better connection with the feeder than any rigid bar of wood or of iron. If the organ is not placed against a wall the position of the blower may with equal ease be precisely reversed. The lever, however, may be arranged parallel to the back wall by constructing your bellows in the first instance with a view to this, the hinge of the feeder being on one of its long[Pg 88] sides, as we have explained in a former page. Or, with a feeder hinged as usual at its end, the lever may still be parallel to the back wall by acting upon an arm with a roller precisely similar to our foot-blower.
Fig. 26.
Another mode of effecting this is shown in Fig. 26. a b is the handle turning on a strong pin at a, fixed to the back of the frame. c d is a shaft which should be of iron, but might be of hard wood, hooped at the ends, having two arms, e and f, projecting from it in opposite directions. This shaft turns on stout iron pivots which enter holes in stanchions securely fixed to the frame. These holes will be better for being bushed with brass. g is a short wooden link connecting the handle with the arm f; and h is a wooden rod which connects the arm e with a forked lug screwed to the feeder. All these connections are by stout turned[Pg 89] pins of iron or brass. It is plain that every downstroke of the handle a b will bring up the feeder. All this is a matter of mere mechanical arrangement; the simpler you can make it, by diminishing as much as possible the number of pivots or turnings, the better it will be.
We conclude this chapter, and turn to the next branch of our subject, with the assumption that the organ is thus far satisfactorily advanced. When the new bellows are worked we assume that no hissing is heard, and no escape of air perceived at any of the holes when a slider is drawn, or at any part of the junctions of the trunk. We assume also that when any pallet is opened by drawing down the ring of its wire, a strong rush of wind will immediately follow, and will be as instantly stopped by releasing the ring, when the pallet will close with a ready and prompt snap. The sliders, too, must glide to and fro with perfect smoothness and ease.
Pass over no serious fault. Remedy all defects with unwearied patience, even if it involves a reconstruction of your work.
It is usual to paint the frame and bellows (leaving the ribs untouched, however) with some dark priming. A dull red was formerly in vogue; chocolate, dark brown, or a slaty black have now found favour in the eyes of builders.
CHAPTER VII.
PLANTATION OF THE PIPES.
We explained in a former page that it is well to plant all the pipes upon the sound-board before the pallets are fitted, because dust and chips are inseparable from the operation, and may be troublesome and mischievous if introduced into the grooves and conveyances. Some of our readers, therefore, having their stock of pipes by them, have perhaps already perused this chapter and acted upon its suggestions. It has been reserved, however, for this place in our work, in accordance with our wish to meet the case of workmen and young beginners who are under the necessity of proceeding by degrees.
Possessing a turning-lathe, and resolving to turn the wooden pipe-feet yourself, you will doubtless commence by boring four or more holes in a bit of thin board with centre-bits of different sizes as a guide or gauge for the diameters of the pipe-feet. If you mount this little board at a height of 4½ inches above another board or stand, by pillars or legs, it will represent a portion of your rack-board, and as you rapidly throw off the feet in the lathe they will[Pg 91] be as quickly sorted by passing them into these trial holes. The billet of wood, pine, willow, sycamore, or any other suitable stuff, should be bored while still in the rough by a bit revolving in the lathe. The bore cannot then fail to be central. It should ultimately be scorched with a hot iron, unless, indeed, your borer has been so well suited to the wood as to render unnecessary any further smoothing. The feet will be slightly conical, the smaller end tapered off to fit the countersunk hole on the board, the larger formed into a neck with a shoulder (see Fig. 1).
The rack-pins should be of mahogany or oak, with a shoulder at each end, the necks fitting tightly in the holes provided for them already. These necks may be blackleaded, to facilitate removal.
All the holes may now be bored in the rack-board corresponding to our two wooden stops (Nos. 2 and 4), at the points marked long ago, when the grooving was finished; the board may be placed on its rack-pins, and the feet dropped into their places, adjusted, where necessary, with a half-round file. The pipes may then receive their feet one by one, and if your calculations have been correct and your measurements accurate they should stand in orderly array. Use the spirit-level, square, and plumb-line in planting the pipes, to ensure truly horizontal and perpendicular lines. The feet should not be actually glued into the blocks until the last little adjustments have been given.
In planting the metal pipes, holes 2 inches or[Pg 92] more in diameter will be required in the bass, while those in the extreme treble will be little larger than a common quill. Adjustable bits may be bought, clever contrivances producing beautifully true circular holes (see Chap. II.). In the absence of these, we recommend you to use discs of stiff paper or cardboard, representing the exact size, as ascertained by callipers, of the conical foot of the pipe at about 5 inches from its lower extremity; from these discs the outline of the holes may be traced on the board, and all the holes, great and small, may be cut out with a pad-saw, or bored with common bits, in every case a trifle smaller than they are ultimately to be. Then, the rack-board being in place, each pipe may be adjusted in its position by using a half-round rasp, and similar or rat-tail files. With these you will easily give a conical form to the holes in the board.
Great care will be well bestowed in this operation. If, unfortunately, you cut any hole too large, line it with a morsel of soft leather. But every true workman will desire to resort as seldom as possible to this expedient.
Probably none of the metal pipes will require to be grooved off. But this you have attended to long ago. If any of them are grooved off, take care that the grooves are of ample size, that the wind may not be throttled.
When all the pipes are planted, whatever the arrangement which you have adopted, they should gratify the eye by their perfect symmetry.
"If they do not look well they will not sound well," was a good maxim long ago impressed upon the writer by an ingenious German workman, to whom he was indebted for much valuable information.
CHAPTER VIII.
THE ACTION.
This important subject will be prefaced by a few definitions, superfluous, perhaps, for some readers, necessary for others.
Backfall. A lever of any clean wood, ⅜ inch or less in thickness, 1 inch or 2 inches in width, and seldom more than 1 or 2 feet in length, turning upon a wire as its axis or fulcrum.
Fig. 27.
Bridge. Backfalls occur in sets, corresponding to the number of keys in a manual or of pallets in a wind-chest. They are arranged side by side in notches formed by taking out the wood between saw-cuts in a balk of mahogany or oak 2, 3, or more inches square. This balk is called a bridge. Fig. 27 shows part of a set of backfalls and their bridge.
Square. Squares are now usually of metal, but may be easily made of wood, and consist of two arms, 2 or 3 inches long, united at a right angle to each other, or cut at once from a single piece, and turning on a wire as an axis passing through a hole at the intersection of the arms. Like the backfalls, they may be arranged side by side in a bridge, but the modern metal squares are screwed separately in their places (Fig. 28).
Fig. 28.
Sticker. A slender rod of light wood, not larger than a common cedar pencil, and from a few inches to a foot or two in length (Fig. 29).
Fig. 29.
Tracker. A flat riband of pine, sometimes several feet in length, about ⅜ inch in width, and less than ⅛ inch in thickness. Trackers, however, are now frequently slender round rods, like the stickers (see Fig. 30).
Fig. 30.
Tapped Wires. Formerly of brass, afterwards of tinned iron, and now generally of phosphor-bronze or some other alloy. These are pieces of wire about 3½ inches in length, from No. 16 to No. 18 in gauge, and cut with a screw-thread upon about half their length, with a ring or hook at the untapped end.
Buttons. Round nuts of old and thick leather, or latterly of a composition into which gutta-percha enters, pierced at their centre to receive the tapped part of the wire.
Cloths. Little discs of woollen cloth, mostly red, used as mufflers to prevent the rattling noise of wood against wood, or metal against metal.
Roller. An axis or shaft of light wood (but in certain cases of iron), turning easily on two wires as pivots, which enter holes in studs fixed firmly. The roller has two (or more) arms, 2 or 3 inches long, projecting from it, generally near its ends. It is plain that any motion given to the roller by acting on one of these arms will be transmitted to the other arm. Rollers are in sets, like backfalls and squares, and are arranged symmetrically on a board called a roller-board (Fig. 31).
The nine articles just described are all brought together in the action of an organ, even of a simple kind. We shall endeavour in this chapter to show how they are combined in ordinary circumstances, involving no peculiar complications.
A simple and rudimentary example of the principle underlying all systems of organ-action may be seen in Fig. 32. a b is the key-board, in which each key (as always in England) is balanced on a pin-rail near its centre, and has a pin, c, passing through a little mortice cut in it, while another pin, d, out of sight, near its fore end, keeps it in its place, parallel to its fellows. At the tail of the key, e is a sticker, having a wire thrust into each of its ends, and projecting about 1 inch; one of these wires is inserted in a small hole drilled in the key-tail, and conical beneath, or cut into a[Pg 98] little mortice. A "cloth" is slipped upon the wire to prevent the end of the sticker from rattling upon the key-tail. The upper wire of the sticker slips into a similar hole (a cloth interposed as before) in the end of f, a backfall working in its bridge, g. The other end of f is connected at once to the pull-down of the pallet by a tapped wire and button. Clearly, if a finger is placed upon the key, its hinder end will rise and will push up the back end of the backfall, which will draw down the pallet; and by simply reversing the position of the backfalls as shown in the cut, we may pull down the pallets in the wind-chest when placed under the back of the sound-board.
Fig. 31.
If, then, we have fifty-four keys in the manual, a repetition of this simple apparatus fifty-four times will be requisite to bring every pallet, with the pipes controlled by it, under the command of the player.
Fig. 32.
But this is taking no account of the fact that the pipes are not planted in an unbroken chromatic series from bass to treble. In the arrangement shown in Fig. 5 (and in its reverse or opposite plan) it is plain that our simple backfalls would fail us; while in Fig. 6 some of the bass pipes are planted to the right of the player, equally out of reach.
Here we resort, then, to rollers. Fig. 33 shows a single roller, in which i k is the roller, turning on pivots in studs, and having arms, l, m, of wood or of iron, projecting from it. The sticker from the[Pg 99] key-tail pushes up the arm l when the key is depressed; the roller turns on its pivots, and the arm m pushes up the tail of the backfall by another sticker, the pallet being thus opened as before; and it is plain that by arranging a set of rollers on a board, as in Fig. 31, we may act with ease upon pallets to the right and left which could not be reached in any other way.
Fig. 33.
The roller-board as here described is placed above the key-board, with action by stickers; but it might be as easily placed immediately under the wind-chest, with action by trackers. In this latter case, the key-tail will push up the end of the backfall, the other end of which will draw down a roller arm by means of a tracker; the other arm of the roller will be hooked to the pull-down of the pallet by means of another tracker. If so placed, room must of course be left for the roller-boards by fixing the wind-chest at a sufficient height above the backfalls. Figs. 34 and 35 show, sufficiently for our purpose, but without any pretension to exactness of detail, the two positions of the roller-board, and it is easy to see that by reversing the backfalls, and in Fig. 35 the roller-board also, we can act upon a back wind-chest.
Fig. 34.
Probably the reader has already surmised that the notches in the bridge are by no means neces[Pg 100]sarily parallel to each other, or, in other words, that the backfalls themselves are not parallel. The left-hand pipes, as shown in Fig. 6, are reached by cutting the notches in the bridge askew, so that while one end of the backfall is over the key-tail, the other may be under the pull-down; and as this[Pg 101] applies to the whole set of backfalls, except those connected with the rollers, the whole of the notches will be cut at varying angles to the central line or axis, and the complete set of backfalls, when put in their places, will present a fan-shaped plan. Hence it is sometimes called a "fan-frame."
Fig. 35.
But parallel backfalls occur constantly as transmitters of motion from the keys to the rollers, and in other positions which will be noticed. The plantation of pipes shown in Fig. 5, for instance, and the reverse of it, which has the larger pipes in the centre, can only be adopted by having a roller for every pallet; and in this case the backfalls will be parallel, whether the action be by stickers or by trackers.
Already, we hope, we have given explanations so far intelligible that ingenious reader's might have no difficulty in devising for themselves some one of the numerous distinct combinations which may be made of the nine pieces or members which we began by defining.
Let us take, however, the very common arrangement of Fig. 6 as that of our organ, and apply to it the rules already laid down.
1. The keys will be procured, of course, from a maker, unless the cost—fifty to sixty shillings—can be saved by adapting an old set. We ourselves are admirers of the old-fashioned claviers with black naturals and white sharps, or sharps of bone or ivory with an ebony line down the middle of each. We possess two specimens of double manuals of this kind; one of them, taken from an organ by the elder England, is extremely handsome, with a mahogany frame almost black from age, purfled like a highly finished violin. It was presented to the writer many years ago by the late excellent builder, Mr. Walker. The other double set, in a plainer frame, was bought at a sale for the sum of one shilling and sixpence! The chief objection to the use of old claviers is that the keys, from long usage or from original faulty construction, rattle audibly against their guide-pins. This, however, may be quite obviated by bushing the little mortices which receive the guide-pins with fine cloth, as modern piano keys are bushed, or with thin leather—for instance, the kid of old gloves. If the keys are[Pg 103] handsome, a little patience bestowed in this way may well reward the operator, who will find the movement of his old manual when this is done as silent as he can wish it to be.
2. We shall assume that the front board of the wind-chest is above the keys, and that the organ is to stand against the wall. Hence the backfalls will be turned towards the player, as in Figs. 32 and 34. But all that we shall say will be applicable to backfalls acting on a back wind-chest.
The keys, whether new or old, will probably be 18 or 19 inches in length from their front edges to the rear. Their position in the frame should be such as to allow the front edge to project 10 inches at least beyond the front line of the wind-chest, in order to allow room for a book-board; hence our backfalls will be short. But their shortness will not be an evil, since the extent of their play or oscillation is extremely trifling. One-third of an inch will be a sufficient descent of the pull-down; the other end of the backfall will traverse a similar space, and it will easily be seen how small an arc will be described by any point near the centre. Backfalls from 4 to 6 inches in length will, therefore, present no practical inconvenience. At the same time it must be admitted that with such short backfalls the obliquity of those to the extreme left will be somewhat embarrassing, and we shall recommend the use of rollers for the six pallets to the left as well as those to the right, especially since,[Pg 104] as we shall show, the width of the roller-board will not be materially increased thereby.
The backfalls should be of oak or mahogany, and the bridge of the same, or other hard wood. If the bridge is not sufficiently strong and rigid, a disagreeable and perceptible yielding of the whole manual will take place when the player presses down a chord. The backfalls, if parallel, or if only at a moderate degree of obliquity, will oscillate upon a single wire extending throughout the whole range. This wire should be sunk in a score or channel made with a V-tool before the notches of the bridge are cut; and it should be held firmly down by small cross slips of oak screwed with very fine screws into the wood of the bridge between every six or so of the backfalls. This is much better than the common way of driving in little staples of wire, which are apt to split the wood, and are not easily extracted in case of repairs becoming necessary. The small holes for such screws may be bored conveniently with a drill, revolving by means of the Archimedean drill-stock, now sold in all tool-shops for the use of fret-cutters.
Stickers may be quickly, easily, and neatly made by a bead plane. Take a piece of three-eighth pine board of the requisite length and dress it over. Then, with a three-eighth bead plane, strike a bead along one edge, reversing the board when cut half through, and using the plane as before. A slender wooden rod will be the result, which will only require a little smoothing with glass-paper. To fit[Pg 105] the wires into the ends of the stickers, mark the centre of the rod with a punch or other suitable pointed tool, and pierce a hole with a fine drill revolving in the lathe. The wire may then be driven down without fear of splitting the sticker or of entering it obliquely and penetrating the side of it.
For trackers we prefer round rods, made precisely as above, but with a ¼-inch bead. If tapped wires are to be inserted in the ends of the trackers, it is well to flatten the inserted end of the wire by hammering it, that it may not turn round in the wood when the button is afterwards applied. A fine saw-cut is made in the end of the tracker, the flattened part of the tapped wire inserted, and strong red thread, well waxed, neatly tied round. The ends thus whipped are sometimes varnished with a red composition. But this is superfluous.
If flat trackers are unavoidable, they may be cut from a three-eighth pine board with a gauge, armed with a cutting-point instead of the usual scoring-pin. A smoothing plane should be specially prepared by fixing two slips of wood to its face. These slips will prevent the plane from cutting anything thinner than themselves. Then, the plane being held firmly down upon the bench, an assistant, walking backwards, draws the tracker beneath the blade until it is reduced to the same thickness as the slips, say ⅛ inch. The tapped wires will be inserted and the ends whipped as before.
The squares shown in Fig. 28 are cut from thin[Pg 106] boards of oak or mahogany. Perhaps it will be found less troublesome and laborious to make each square of two distinct arms, halved together and glued at the angle, or more effectually joined by tenon and mortice. Metal squares can be bought ready made, or they may be cut with shears from brass plate. But we should use wood ourselves.
The rollers will be of pine or deal. They are cut out and dressed up as square or rectangular rods of the requisite length, but two of their sides are afterwards rounded or curved. It follows from this that when arranged side by side on their board the curved sides may be nearly in contact. As our rollers are short, three-quarters stuff will suffice for them, but rods inch or more square should be used when rollers have a length exceeding 2 feet or 30 inches.
Iron roller-arms have some great advantages, and they may be bought at a moderate price per gross, neatly bushed at the holes to prevent a rattling of metal against metal. But we ourselves deliberately prefer arms of wood, involving, as they do, much greater labour. If these are used, they should be made of oak or other hard wood, and let neatly into a little mortice in the flat side of the roller. After they are glued in, the holes may be pierced in each end of the roller to receive the wires or pivots on which it revolves, and which should be stout and rounded smoothly at the external extremity. One of the reasons why we prefer wooden arms is this, viz. that the pivot can[Pg 107] be driven into or through the arm, which may thus be at the extreme end of the roller; while if iron arms are used a margin or surplus must be left at each end of the roller to allow room for the insertion of the pivot without interfering with the arm, the screw of which passes through the axis of the roller. But it is undeniable that iron arms abridge labour and save time.
The studs in which the pivots are supported are also among the fittings which can be obtained from the shops; but we have always made our own of oak, turning the peg or shank in the lathe. These studs must be bushed with cloth. Drill the hole truly through the stud, using a borer much larger than the pivot-wire. Cut a strip of red cloth about ⅜ inch in width. Point one end of it, and draw it through the hole in the stud. It will adapt itself to the circular hole, and will take the form of a cloth pipe lining the hole, and effectually preventing a rattling noise which would certainly be heard in its absence.
The planning of a roller-board, so as to economise space as much as possible, is one of those operations which call for forethought and ingenuity. The forms which it may assume are numerous; we shall indicate by one or two simple diagrams some of the combinations of the fan-frame with rollers which occur in ordinary practice.
Fig. 36 shows the usual way of carrying the touch to the pallets on the right and left in the common form of sound-board shown in Fig. 6. A[Pg 108] set of backfalls is assumed as in situ under the wind-chest, parallel to each other as regards the six pallets at each extremity, but fan-framewise as regards the pallets from Tenor C to the top. As the actual key-board (disregarding its frame) is about 2 feet 6 inches in width, while the row of pull-downs on which it is to operate extends to a length of 4 feet or more, we see that there will be an overhanging margin or surplus of the wind-chest on each side of some 9 or more inches, and it is probable that all the pallets affected by rollers will be included in these overhanging portions of the chest.
Fig. 36.
Take a piece of three-quarters or five-eighths board, the full length of the wind-chest, and wide enough for your twelve rollers when placed as we shall now direct. Dress it up, and give it two[Pg 109] coats of priming. At its lower edge mark the exact centres of the key-tails from end to end of the key-board. At its upper edge mark the precise centres of the tails of the twelve backfalls on which the rollers are to act, fixing the board temporarily so that precision may be secured. Along the two side margins of the board (which has been squared up true) mark rows of dots at equal distances, say 1 inch or considerably less, according to the scantling of your rollers, which may be placed as close to each other as possible without actual contact when made to revolve through a small arc on their pivots. You have now all the data which you require, and may draw pencil lines showing the exact place of every stud on the board, the exact length of every roller, and the exact spots on each roller at which the arms must be inserted.
Fig. 36, in which x y is the key-board, the rollers and stickers being represented by lines only, shows that the longest roller, that of CC sharp, is placed by itself at the top. This is done in order to enable us to use a single stud, common to two rollers, throughout the board until we come to the last, which will stand alone. If the rollers of CC and of its sharp were thus placed in a line, running into a single stud, there would be hardly room enough for the latter, as the arms would be in immediate contiguity. By giving the CC sharp roller a place by itself, we get the following pairs: CC and DD sharp; DD and FF; EE and G; FF sharp and A; G-sharp and B natural; A sharp will have its own[Pg 110] two studs. Thus we obtain a distance of fully 1¾ inch between the centres of the contiguous arms of these pairs of rollers; and if iron arms are used, there is room to drive in the pivot without meeting with the interruption of the screw in the heart of the wood.
When these measurements have been made, and lines drawn in pencil or chalk, the holes for the shanks of the studs may be bored, and the board cleaned over and perhaps repainted. When the work is complete, the cleanly planed rollers with their neat studs on the dark background of the board should present a pleasing appearance.
Sometimes the roller-board lies horizontally. It is then usually called a roller-frame. Fig. 37 is a slight sketch showing how a roller-frame may be united with squares in certain cases. a b is a key-board, acting by stickers on a set of squares, c, arranged in a bridge. d is another set of squares in a longer bridge under the pull-downs of a chest, e, let us say that of the second manual in an instru[Pg 111]ment of considerable size, placed at the back of the case, and possibly some feet from the player. f is a roller-frame, transmitting the touch by trackers to the extreme pallets right and left.
Fig. 37.
If economy of height is no object, however, the roller-board will be placed between the squares d and the chest e in the usual vertical position, or it may be above the keys.
Sometimes space is saved by inserting the roller-arms on opposite sides of the rollers, cutting apertures in the board through which one arm of each pair may protrude. This plan may be regarded as a compromise between the fan-frame and roller-board, the latter doing duty as a set of backfalls.
Fig. 38.
This arrangement is sketched in Fig. 38. The roller-board, g, is above the key-tails, which act by stickers on arms brought through openings in the board. The opposite arms, h h, in front as usual, act on the pull-downs by trackers. We have adopted this plan in a very small organ, and under the necessity of economising space as much as possible, with complete success, although every pallet had its roller, the fan-frame being entirely absent.
Rollers are often made of iron, especially in the case of pedal movements, where space is not abundant. It will easily be understood that iron tubes of small calibre, plugged with wood at the ends to receive the pivots, and having iron arms screwed into drilled holes, would present no serious difficulties to the workman, and might be arranged upon a board little more than half the size of that required by a set of rollers in wood.
We must not close this chapter without explaining that the plantations of pipes sketched or indicated in Figs. 8 and 9 may be contrived without grooving by an arrangement involving no serious difficulty or complication.
Fig. 39.
In Fig. 39, a b c is a sound-board shown in section, divided internally into two unequal parts by a longitudinal bar at b. The front part, b c, nearest to the player, has 42 channels, and carries[Pg 113] all the pipes from Tenor C upwards. The hinder part has 12 channels only, and supplies the bass octave. These two separate internal divisions will have their pallets and springs as usual, and a single wind-chest may include both sets of pallets, or two wind-chests may be united by a short trunk, or separate trunks may be fitted to each, at the discretion and convenience of the builder. We have now only to adapt a set of backfalls in a fan-frame to the front pallets, and a roller-board acting on twelve parallel backfalls to the pallets of the bass octave, and we have a very compact and sightly arrangement of pipes without a single groove, every pipe standing on its wind. If the back pipes were these—Stopped Diapason, Bass, 4-feet tone, and open Flute, wood, 4 feet; while the front pipes comprised a Dulciana, Stopped Diapason, and Principal, or some equivalent—this little instrument might be entirely satisfactory in all respects.
We may add that this arrangement of a double sound-board and wind-chest has been successfully applied by the writer to an organ with two manuals. The sound-board was about 5 feet 3 inches in length. The front division had 84 channels, viz. 42 for each of the two manuals from Tenor C to top F; the hinder division had 24 channels, viz. 12 for each manual bass octave. There were practically eight stops, two of them grooved to each other in the bass. Of this grooving, when there are two manuals, we shall have something to say[Pg 114] in a subsequent page. It is not quite so simple an affair as the grooving already described.
When the key-board is in its place, the stickers adjusted, and the keys levelled by attention to the buttons on the tapped pull-downs, a heavy damper or "thumping-board" should be laid across the key-board. In modern organs this is generally a solid bar of lead, about ½ inch thick, and about 1½ inch in width; it is covered with baize on its under side, and a guide-pin, moving loosely in a little vertical groove cut in the key-frame at each end, keeps it in position. Our damper may be of oak or mahogany, very straight and true, and loaded with lead, run when fluid into cavities made with a large centre-bit. The damper, lying upon the keys, and supported by them, helps to keep them level, and by receiving the blow or shock of each key, as the finger leaves it, it prevents a tapping noise which might be heard if the rising keys were stopped only by the board of the key-frame.
The descent or fall of the keys when pressed by the fingers should not exceed ⅓ inch.
CHAPTER IX.
VOICING AND TUNING.
The time has now come when we may bring our little organ into musical order, and reap some of the fruits of our toil.
If the processes described in previous chapters have been steadily carried out, the instrument is now complete (so far as the manual only is concerned) with the exception of the draw-stop action, which we intentionally reserve, and the external case.
We shall insert here, therefore, a few pages on voicing, the important and delicate operation by which the correct speech and distinctive tone of organ-pipes is imparted to them.
Let us warn the reader at once, and with emphasis, that the process of voicing metal pipes is so complex that a complete mastery of its practical details is by no means uniformly attained, even after years of steady practice under skilled guidance. A very sensitive and educated ear, a delicate sense of touch in the handling of fine tools, and a thorough familiarity with the tonal quality, or timbre, of the best examples of[Pg 116] the many varieties of pipes—these gifts are essential to the successful voicer. Hence we cannot counsel beginners to attempt the voicing of metal pipes, unless they are fortunate enough to find themselves in a position to obtain lessons from some clever operator willing to give them, or unless they can gain permission to attend at some first-class factory, for the express purpose of watching the pipe-makers and voicers at work.
We shall not be deterred, however, by these considerations from describing, to the best of our ability, the business of voicing and regulating an ordinary metal pipe, pointing out specially, as we go on, all that may be necessary for the removal of defects and faults in pipes already voiced by other hands. But we must acknowledge our own obligations to the little treatise on voicing and tuning mentioned in the preface to this work. Those who obtain and peruse this thoroughly practical little tract will find all the information which they can require.
Figs. 40, 41 show the well-known forms of metal organ-pipes as seen in the Open Diapason, Principal, &c. Figs. 42, 43 give details. The languid, Fig. 42, is a little enlarged. It will be seen that the essential features of wooden pipes have their counterpart in those of metal—the language, or languid, answering to the wooden block, the conical termination to the wooden pipe-foot, the cylindrical body to the rectangular wooden tube.
Fig. 40. Fig. 41. Fig. 42. Fig. 43.
We have never made any metal pipes ourselves, and we doubt if our readers will do well to embark upon an undertaking requiring special "plant" and appliances in a separate workshop, and calling for great dexterity and neatness in a class of operations familiar only to trained artisans. For the information, however, of those who choose to make the experiment, we may explain that the metal sheets from which the pipes are made are thus produced:— "The ingredients (viz. tin and lead in various proportions) are melted together in a copper and then cast into sheets, a process effected by pouring it in a molten state into a wooden trough, and running the trough rapidly along a bench faced with tick. The metal escapes from the trough through a narrow horizontal opening at the back, leaving a layer of metal behind it as it proceeds; and the wider the cutting is, of course the thicker will be the sheet of metal produced. After being cast to an approximate thickness, the metal is planed down to the precise thickness required. It is then cut into portions of the shape necessary to give to[Pg 118] the pipes the required size and form, and is thus finally worked up."[2]
[2] Hopkins and Rimbault, p. 76.
The three parts which compose the pipe are first separately prepared. The sheet of metal is rolled round a wooden cylinder or cone, called a mandrel, and the edges are soldered together. The extreme neatness of this soldered joint is secured by smearing the metal with composition, which is scraped off at that part only which is to retain the solder; but a steady hand, and long familiarity with the manipulation of the heated copper tool and with the properties of soft solder, are absolutely essential to success.
At the lower part of the body thus soldered, the mouth is formed by flattening a portion of the cylinder and by cutting away a horizontal slip of the metal. The width of the mouth is to be in all cases a quarter of the circumference of the pipe. In the case of large pipes the mouth is formed by cutting away a piece of metal of considerable size, and replacing it by a sheet called the "leaf," having the mouth cut on its lower edge.
The foot is formed in a similar manner, and has a flattened portion corresponding to that of the body.
The language, or languid, is a circular disc of much thicker stuff, bevelled off round its periphery, which is altered into a straight line at that portion which will lie beneath the mouth when the pipe is complete.
The three component parts are thus worked together.
The languid is placed on the wide opening of the foot, and the windway formed by leaving a narrow slit between the straight edge of the languid and the flattened lip of the foot. The two are then neatly soldered together. The body is then soldered to the foot, care being taken to adjust the mouth exactly opposite to the windway.
The larger pipes have ears, namely, rectangular pieces of metal soldered on each side of the mouth.
Thus completed and cleaned over, the pipes are handed to the voicer.
It will be remembered that we left a wooden pipe, similarly put together but unvoiced, in an earlier portion of this book. We have now to explain that both classes of pipes pass through a similar or analogous course of treatment at the hands of the voicer.
With small metal tools, called notchers, of which he has four or five, he cuts a row of nicks in the straight edge of the languid, causing it to resemble somewhat the edge of a saw. These nicks or notches, coarse or fine, close together or at rarer intervals, as the case may be, conduct the sheet of wind from the foot-hole against the upper lip of the mouth, and influence to a most important extent the character of the tone.
Fig. 44.
In a similar way, and using a file ground to a saw-like edge, the operator on a wooden pipe cuts[Pg 120] nicks in the slightly bevelled upper edge of the block, and continues or prolongs these notches obliquely across the front of the block, letting them die away or come to nothing at their extremity. Fig. 44 shows the front of a block thus treated.
The art of the voicer, however, is by no means expended upon this notching of the languids and blocks. It extends to the accurate and nice adjustment of the height of the mouth, the aperture of the foot-hole, and the width of the windway. All these will bear strict proportion to the scale or size of the body of the pipe, and to the weight or pressure of the wind.
It will be seen, therefore, that the tone, quality, or timbre of an organ-pipe, and therefore of a "stop" or set of organ-pipes, depends upon skilled attention to at least six distinct considerations, viz.:—
- a. Scale of pipe.
- b. Height of mouth.
- c. Diameter of foot-hole.
- d. Width of windway.
- e. Character of notching.
- f. Weight of wind.
It is the thorough mastery of the art of manipulating pipes, with all these essential points kept in view, which enables the voicer to produce the exquisite contrasts of tone heard in good organs between the tranquil Dulciana and the delicate Salcional; between the Violin Diapason and the[Pg 121] Gamba; between the Keraulophon and the Viola, as variously constructed; between the fluty-toned stops, of wood or of metal, to which various names have been given: and the full chorus or combined power of a large instrument will be majestic, imposing, and dignified, or, on the other hand, shrill, harsh, and unpleasing (quality of materials being assumed to be similar), in proportion to the skill, taste, and judgment with which it is finally voiced and regulated.
We have said enough, perhaps, to justify our advice that metal pipes be procured in a finished condition from competent makers.
Our little organ contains two metal stops, viz. a Dulciana (or a small Open Diapason) from Tenor C to f in alt, and a Principal of 4 feet throughout. Each of these, made of good metal, should cost £6 or £7. Cheap pipes mean inferior metal, and this we cannot recommend in any organ, great or small. The nearer the approach made to pure tin the better (other essential points being assumed) will be the quality of the tone.
In ordering the pipes, the weight or pressure of wind on which they are to speak must be carefully specified. This may be easily ascertained by using a wind-gauge, a little instrument which we sketch in its simplest form in Fig. 45. It consists of a glass tube, bent as shown in the figure (this can be done at any glass-blower's or optician's), and having its lower end inserted in a wooden pipe-foot. Planting the gauge on any hole of full size[Pg 122] in any part of the sound-board, we pour a little water into the bent part or dip of the gauge. On blowing the bellows steadily, and depressing the key on the manual corresponding to the groove on which the gauge is placed, the water will be depressed in the inner column, and will rise in the outer. By adjusting the weights on the bellows we may make this difference in the levels of the two columns greater or less as we please. In our organ we shall have a "2-inch wind;" that is to say, we shall load the bellows so that the gauge may indicate a difference of 2 inches between the two columns.
Fig. 45.
We may note here that about 7 lbs. per square foot of surface of top-board will be required to give this pressure. Pieces of old cast iron about an inch thick may be procured at any foundry, and form the most suitable material for weights.
The voicer having worked to a 2-inch wind, it is probable that when the new metal pipes are planted in their places they will speak with charming evenness and truth. If some or any of them, however, betray some defects, it will be well not to meddle with them until we have satisfied ourselves that the fault does not belong to our own mechanism. If, for instance, one pipe should be softer or less prompt and clear than the others, let us be sure that the flow of wind to that pipe is not interrupted or throttled by a chip in the wind-hole[Pg 123] or (if there is conveyancing) in the channel. This will be ascertained by planting the pipe for the moment on some other groove than its own. If the holes and channels are all clear, and the pallet is opened freely by the key, the fault must be in the pipe. This may have suffered some little injury in the packing case, e.g. the lower lip may have been nipped too close to the edge of the languid, thus reducing the width of the windway. This may be carefully rectified with the flat blade of a common table-knife, or similar object. Or the languid itself may have been bent or depressed by the weight of another pipe, packed within it to save room in the case. If this is so, the languid must be carefully pushed back to the level by a stout wire or rod inserted through the foot-hole. If the upper lip has been pressed inwards, we must counsel the utmost care in bringing it back to its position. The pipe should be sent back to the maker if the distortion is serious or considerable. If it is slight we may rectify it by passing a slip of iron bent into the shape of the letter L through the mouth, and thus pulling forward the whole of the lower par of the "leaf," preserving its regular slope as before. If the mouth, lips, and languid are all right, it is possible that by some accident the size of the foot-hole has been reduced. It may be cautiously enlarged with a penknife or with a broach; and if under other circumstances the foot-hole requires reduction, this maybe done by gently rapping or hammering the metal round the aperture[Pg 124] with the flat side of a chisel. The builders have a heavy brass cone for effecting this reduction called a "knocking-up cup." Similar brass cones, we may here add, are used in tuning. They are expensive, however.
All that we have said of possible defects in metal pipes applies, mutatis mutandis, to wooden pipes; and as we make these ourselves we may deal more boldly with them.
An unvoiced wooden pipe will generally emit a chirp or whistle before its note. The nicking of the block will remove this, but if we overdo this nicking we shall hear a huskiness or buzzing equally or more disagreeable. This husky quality may also be due to a too wide windway; in this case, remove the cap and rub the inside face of it on a sheet of glass-paper pinned down upon a board, or plane off the inside face and file the windway anew. If the mouth has been cut too high, there may be nothing for it but to take off the front board and remake the pipe. If the pipe, in other respects good, is too loud, plug the foot-hole with neat flat plugs. If it is too soft, the pipe-foot may have been imperfectly bored, or may be defective in some way, or chips may have been left in the throat of the pipe. Ill-fitting stoppers are a fruitful source of defects in wooden stopped pipes. Refit them in every case of doubt, and leave no room for misgivings as to the soundness of the joints of the pipe near the top.
We must point out to our readers that strength,[Pg 125] sonority, or power must on no account be expected from wooden pipes. A tone utterly harsh and intolerable will be the result of over-blowing the Stopped Diapason or Flute, stops of which the characteristic quality should only be tranquil sweetness and softness. The flute of 4-feet tone, especially, cannot be too delicate, and in its upper octave great patience will be requisite in the adjustment of the tiny mouths and windways to prevent shrillness.
These remarks apply also to our fifth stop, which we have been content hitherto to call simply "Fifteenth" 2-feet. The Fifteenth proper is a metal stop of strong shrill quality, having its value in large instruments, where it is balanced by other stops in affinity with it. Such a stop would be quite unsuitable to our little organ. If we are to have a 2-feet stop at all, it should be a "Flageolet" or "Flautina," an echo, in fact, of the 4-feet Flute. This may be successfully made by diligent operators in wood, the lower part stopped, the upper part open. The professional voicers produce the fluty quality from ordinary metal Fifteenths by peculiar treatment of the mouth. In foreign organs such stops are generally or often of conical form, the narrow aperture at the top. These stops (which may also be of 4-feet or 8-feet pitch) usually bear the names "Gems-horn" or "Spitz-flute."
We may dismiss the subject of Tuning with a very few remarks. The general principles of Temperament—that is to say, of the compromise or[Pg 126] adaptation requisite in the modern scale of an octave containing twelve semitones—are not peculiar to organs, and may be studied in any treatise. Mr. Hopkins exhausts the subject in a very interesting chapter of his great work. Our useful little tract on voicing gives all needful information. A sensible and practical pamphlet on the same subject has been published by Mr. Hemstock, organist of Diss.
You will begin with Regulation, that is, with equalising the power or strength of the pipes composing each stop. Bestow every care on this, especially in the upper ranges of the small wooden pipes. The pleasing effect of the organ will greatly depend upon success in this operation.
When satisfied on this point, tune your wooden pipes to the metal Principal, which has been sent from the maker's ready tuned and voiced. After this rough approximation to absolute correctness, go over the whole organ with great deliberation and care, following the rules given in the works which we have cited, or in any one of them. A second or third tuning may be requisite before a sensitive ear is quite satisfied.
Cones and cups of boxwood, or made of sheet copper with brazed seams, may be used in the absence of the expensive cast-brass articles.
CHAPTER X.
THE DRAW-STOPS.
We have provided no means as yet for bringing the sliders under the control of the player. The mechanism by which this will be effected must depend upon our plans for the case and book-board.
Method 1.—As we have only five stops we may have resolved to arrange the knobs in a horizontal row above the key-board, and below the edge of the book. We shall soon see that this arrangement will result in much convenience and simplicity.
The ends of the sliders project at each end 2 or 3 inches beyond the margin of the sound-board. To the cheek of the wind-chest, below these projecting ends, will be screwed a stout balk of oak or mahogany (say 2½ inches square), constituting a bridge, and having stout levers, after the manner of backfalls, working in notches. These levers should be of oak, birch, or other hard wood, at least ½ or ⅝ inch in thickness, and not less than 2 inches wide; and the pins on which they work should be very stout, say ¼ inch in dia[Pg 128]meter, and should be held down in their places by slips of hard wood firmly screwed down to the bridge. All this is sufficiently shown in Fig. 46, and it will be quite plain to the comprehension of every reader that these levers (like backfalls) may be askew to the straight line of the bridge, so that while their upper ends spread out to reach the sliders, their lower extremities may be brought into any position convenient of access.
Fig. 46.
The arms of these levers will of course be of unequal lengths. About 2 inches, or a trifle more, will be found a sufficient and agreeable play for the draw-stops. If the sliders have a play of 1 inch only, it is clear that the lower arm of the levers must be twice the length of the upper arm. At any rate the adjustment of the play of the draw-stops to that of the sliders should be made in fitting these levers, and not in any other part of the mechanism. The upper end of the lever, shaped into a tenon or tongue, will enter a square aperture in the end of the slider, and the edges of this aperture should be bevelled, in order that the lever may bear equally upon it in all positions. Rub the end of the lever with blacklead, and use this wherever there is friction of wood against wood.
The levers being fitted, three at one end and two at the other, or all the five at the same end, as may best suit the position of the wind-trunk, the form of the frame, and other considerations, it will be easy to connect them with the draw-stops by means of squares or bell-cranks.
Fig. 47.
Fig. 47 shows these squares or bell-cranks arranged upon a board which is screwed upon the key-frame. They may be cut out of sheet iron or may be made of oak, the arms halved together or joined by tenon and mortice. They should work upon a strong pin of iron or brass, and a small block underneath each square lifts it above the level of the board. A trace, or light rod of pine, 1 inch or ⅞ square, notched at one end to receive the arm of the crank, and at the other to catch the end of the lever, is connected with each by a pin of iron or brass, and blacklead is used as before.
The draw-stops are generally turned and polished for a few inches at the end which appears in sight, and which carries the knob, and it is usual to line the holes through which this turned and polished part protrudes with scarlet or other cloth. The[Pg 130] tails of these draw-bars, left square, should work in guides cut in a vertical piece at the back, or otherwise arranged to ensure parallel movement. A short slip of hard wood or of metal connects each draw-bar with its bell-crank. The action of this mechanism must not be considered satisfactory unless each stop operates with ease and exactness, and without any sense of elasticity or unequal resistance.
The knobs will be easily fashioned, from a good pattern, by any turner possessing a light lathe; nor is it difficult to engrave the names on the ivory faces. A convenient tool for this latter purpose may be made by grinding down the end of a small triangular file. But the engraver's "burin" may be bought at the tool-shops. The knobs will not be glued into the ends of the draw-bars until all is complete, that the engraved titles may be rightly adjusted at a true level.
Method 2.—If it is preferred to place the draw-stops to the right and left of the player, as in large organs, we shall have the bridges and levers as before. The draw-bars will run through guides at the back, fixed to some part of the frame, and their polished ends will be brought through lined holes in the cheeks of the case, fitted according to taste. The connection of these horizontal draw-bars with the vertical levers will be effected by squares or bell-cranks of a form known as "trundles." We give a representation of one of these in Fig. 48, where a is the slider, b the lever acting upon it,[Pg 131] c the trace connecting it with d, an arm of the trundle e f. This trundle should be of oak, birch, or other hard wood; it has pins at each end, which are received into holes bored in bearers arranged accordingly, and not shown in the figure, or in the frame itself of the organ. (It is well to char these holes.) The trundles are of course placed parallel to each other in a row, and the second arm of each trundle will be inserted at the level answering to the position of the draw-bar. In the cut g h is this second arm and draw-bar.
Fig. 48.
The trundles are easily made of iron, and with manifest increase of strength and neatness. We have used gas-pipe for this purpose, ½ inch in external diameter. The arms made from iron slips, ½ inch wide and ¼ thick, were brought to a round pin at one end in the lathe. This round pin passes through a hole drilled through the trundle (whether tubular or solid), fitting it tightly, and the projecting end is spread out with a riveting hammer. All this may be done cold, but still more effectually with the aid of a forge. The ends of the trundle will be received in charred holes in bearers as before, using tallow as a lubricator; or if tube is adopted, brass or iron pins may be jammed into[Pg 132] the ends of the tube, and trued up in the lathe. All such iron-work, introduced here or elsewhere in the organ, may be painted over with the composition known as "Brunswick black varnish," which will prevent rust. The holes in the arms, to receive the pins of the traces and draw-bars, will be drilled with ease in the ever-handy lathe, or with a bow and breast-plate, or by any blacksmith.
Fig. 49.
Method 3.—In small organs, with short sound-boards, the iron trundles may be made to act at once upon the sliders, without the intervention of the levers and bridge. When this is done the upper arm of the trundle will be quite at its top, and will be sloped or bent upwards as shown in Fig. 49. Near its end will be a short and strong pin, which will enter a little slot or oblong hole in the slider. The trundle will revolve in a wooden collar screwed to the cheek of the wind-chest, and at its base in a hole in a bearer or in the organ-frame as before. The draw-bar will act directly upon the lower arm of the trundle, and the lengths of the two arms must be proportioned to each other, so as to compensate for the difference between the play of the slider and that of the draw-stop.
Cases of peculiar construction may be easily imagined, in which two sets of trundles may be[Pg 133]come necessary, communicating with each other by long traces. In some other cases the trundles may be horizontally placed, like a roller-frame, and common squares may act upon the sliders; with upright traces connecting them with the arms of the horizontal trundles; while combinations of these various plans will suggest themselves to the inventive reader to meet possible exigencies of position or arrangement.
Method 4.—We may still further explain that trundles may be discarded by fixing common squares or bell-cranks upon steps or stages cut on the edge of a piece of thick plank, screwed to the organ-frame, the steps or stages corresponding to the levels of the draw-stops as arranged in the cheeks or jambs of the organ. The draw-bars will act directly on these squares, which will transmit the movement to the levers by traces; but in this case it is plain that the levers will be of varying lengths, and must be provided with separate bridges, in order that the proper relation may be maintained between the play of the several parts. This plan has much to recommend it.
We have entered at some length into the subject of the draw-stop action, because much of the comfort of the player depends upon its efficiency. The arrangement to be adopted should be well considered, and the plans for it matured at an early stage of the work. All the pins used should fit accurately, and it is well that means should be taken to prevent the dropping or working out of[Pg 134] these pins. A very neat way of guarding against this common accident is to reduce a small portion of the end of the pin with a file or in the lathe, and to cut a screw-thread upon this reduced portion; a leather button will then render failure impossible. The other end of the pin is usually bent down at a right angle.
Composition pedals, for drawing and shutting off the stops in groups by the foot, are not wanted in so small an organ as ours, and we need not describe them.
CHAPTER XI.
PEDALS.
We have hitherto said nothing of pedals. What we shall now say will not occupy much of our remaining space.
We have to fit our little organ with a set of pedals pulling down the bass keys of the manual, but commanding no separate pipes of their own.
What is to be their compass? On this we have to remark that when an organ is intended for the practising of a student or professional musician, or for the performance by any player whatever of genuine organ music, the full compass of thirty notes, C to f, is quite essential. On this point no room must be left for misconception. But small organs, designed for humble and unambitious players, or for the accompaniment of voices in a room or in a village church, may be fitted with pedal-boards shorter by a whole octave than this complete or full compass. A range of seventeen notes, C to e, will certainly suffice for the ordinary practice of the great majority of persons who are at all likely to sit down to our little organ.
Observe, however, that this curtailed pedal-board[Pg 136] must be placed in the same position relatively to the key-board which would be occupied by one of full range. In other words, it must not be located, for appearance sake, in the middle of the case, but must be pushed away to the left of the player, leaving a blank space on the floor to the right. If this were overlooked, it is plain that a player accustomed to the imperfect pedals would be utterly at fault when introduced to an instrument of higher character.
An excellent rule on this subject has been laid down by Mr. Hopkins, whose opinion in such matters is judicial. It is this:—To place the central C of the pedals—the thirteenth note, commencing from the left—directly underneath the middle C of the manual. If this rule be observed, the foot will easily find all the notes of the lower octave, whether the compass be complete or curtailed; and we must leave to our readers to decide upon the range of their pedal-board after a due consideration of circumstances. Seventeen notes (an octave and a third) must be taken as a minimum; twenty notes (octave and a half) and twenty-five notes (two octaves) are alternatives still falling short of the full compass of thirty notes necessary for the practice of the preludes and fugues of Bach and other great masters.
The pedals should be made of oak, and should be from 18 to 20 inches in length, 1 inch wide or thick, and at least 1½ or 2 inches in depth. The sharps, or short keys, should be about 5 inches in[Pg 137] length, but they are glued or otherwise fastened upon strips of oak as long as the other pedals. The front or near end of the sharps should stand up about 1 inch above the level of the naturals; from this point they may slope up to 1⅜ inch. The long tails or bearers of the sharps must be sunk about 1 inch below the level of the naturals, in order that they may not be touched by the foot. The fore-end of the sharps will be well rounded off, and the upper edge of all the pedal keys will be made slightly convex. Lastly, the distance between the centres of any two adjoining naturals may be 2½ inches precisely. Of course an empty space or gap will appear between E and F and between B and C in each octave, as those intervals have no intervening short key.
We have found the following arrangements convenient and satisfactory. Make the pedal-frame of stout oak; the back bar, behind the heels of the player, a balk 3 inches or more by 2 inches. The fore end of the frame under the organ-panel is formed by an upper and a lower bar, between which strong round pins of oak are placed, making a rack through which the ends of the pedals protrude an inch or two. These protruding ends, where they pass through the rack, are muffled with cloth to prevent rattling, and each pedal descends upon a small pad of vulcanised india-rubber, and is met by a similar pad under the upper bar when it recovers its position. If this is properly managed the movement will be quite noiseless.
The builders commonly use a spring, screwed at one end to the under part of each pedal, and pressing at the other extremity upon a board or bar; or, on the other hand, the springs are screwed to this board or bar and press against the under sides of the pedals. In this case the tail of the pedal key, out of sight under the back bar of the frame, works upon a pin passing into a mortice.
We ourselves, however, have long used a spring which serves both for spring and for hinge. It is a simple slip of steel, 5½ inches long, ⅝ inch wide, and 1⁄16 inch thick, having two holes near the one end, and one hole near the other. This latter is screwed firmly down to the back bar of the frame, which, as we have already explained, is a balk 3 inches by 2. The fore end of the spring is screwed by its two holes to the under side of the tails of the natural keys (cut away to receive it), and to the upper side of the tails of the sharp keys. Or, the spring may be quite concealed from view by being let into a saw-cut in the tails of all the pedals. We have found this plan perfectly effectual, and we strongly recommend it to our readers. The springs can be made by any smith for twopence or threepence each. Their strength or resistance can be easily regulated by screwing them, not to the plane surface of the back balk, but within grooves cut in it, 1/2 inch deep at the back, diminishing to nothing in front. A few turns of the screw (which should be well greased with tallow), by lowering the tail of the spring, will bring on it a strain or[Pg 139] tension which enables us to adjust with accuracy the resistance of each pedal to the pressure of the foot.
The pedal-board should be laid upon the floor so that the distance between the upper surface of the pedal natural keys and the upper surface of the manual natural keys may be 28 inches.
The manual should overhang the pedal-board so that the front of its sharps may be just over the front of the pedal-sharps.
The seat of the player, to correspond with these arrangements, should be 22 inches above the pedals. The dip, or fall, of the pedals, under the foot of the player, need not exceed ⅝ inch, or at most ¾ inch, where they pass through the rack.
The connection between the pedals and keys will be by backfalls, working in a strong bridge secured to the frame below the key-board. These may be parallel, in which case a roller-board will be requisite, or disposed as a fan-frame. The hinder end of each backfall has a tapped wire passing through a hole in it, and carrying a button on its top, muffled with a disc of cloth or baize. The lower end of the wire underneath the backfall is bent into a ring, so as to be easily turned round by the finger and thumb. These adjustable buttons push up the tails of the keys when the fore ends of the backfalls are drawn down by trackers connecting them with the pedals. The eyes or rings on the pedals, to which these trackers are hooked, should be bushed, and great care should[Pg 140] be taken to secure noiseless action in every part.
The pedal-board is usually secured to the floor by a couple of screws passing through the side cheeks. But it is sometimes convenient, especially in small rooms, to make it removable at pleasure. This can be easily done by fitting a set of false or dwarf pedals, about 6 inches in length, in a bridge spaced to correspond with the keys of the pedal-board, and screwed to the floor under the organ. These false pedals are practically short backfalls, turning on a wire near their hinder end, and having the trackers hooked to them an inch or two from their fore end; and some simple form of spring should be placed under each. Then we have only to adjust matters so that the protruding ends of the organ-pedals may rest upon the fore ends of these false pedals, either or both of them being leathered or otherwise muffled at the point of contact, and it is plain that the pressure of the foot on any pedal will pull down the manual key as before. Two iron pins should be fitted to the pedal frame, going into holes in brass or iron plates screwed to the floor. These guide-pins will insure instantaneous fitting of the pedal-board at any time.
CHAPTER XII.
TWO-MANUAL ORGANS.
This treatise must not close without some reference to organ work of a more advanced kind than that which we have taken as the groundwork or medium of our hints on this subject.
Some of our readers may very naturally wish to understand the construction of an organ with two or more manuals and a pedal with separate pipes; and this implies a description of coupling movements and of the swell-box and its appliances.
In the first place, let us remark that as the swell-organ is a modern invention, innumerable examples of organs with more than one manual and with numerous stops, but entirely without the swell, were in existence in England up to a recent period, and are still to be found in every part of the continent of Europe. A great number of the most renowned organs of Germany and of Holland, organs furnished with four manuals and an immense aggregate of pipes, are without the swell to this day.
This is not the place to discuss the question whether the introduction of the swell, as the second[Pg 142] division of an organ with only two manuals, has been an unmixed advantage, and whether it has or has not tended to raise the standard of organ music and organ-playing in England. But some few musicians may agree with the present writer that it is quite possible to sacrifice sound principles of organ-building to the prevailing worship of the pretty and fanciful effects of the swell, and may even go so far as to regret, with him, the supersession of the old "choir organ," with its sweet tranquil tone and quiet cheerful brightness. We ourselves make no secret of our wish that in the design and erection of organs with only two manuals, the second manual should act upon a choir organ, while the swell should be reserved for those instruments in which a third manual is introduced. But we are quite aware that these views will be received with derision by a great majority of persons, who have become accustomed to the constant use of the swell and of the pedal Bourdons which characterizes the playing of many English organists on modern English organs.
Quite apart, however, from these views, which must be taken for what they are worth, there are reasons why any reader, resolving from the first to construct a small organ with two manuals for chamber use, will do well to resist the temptation to introduce the swell. These reasons will become apparent if we sketch out one or two plans for such chamber organs, and we should only occupy space needlessly by stating them in advance.
Resolving, then, to indulge ourselves with two manuals, but compelled to be economical of space and of pecuniary outlay, we decide at once to plant all the pipes, belonging to both manuals alike, upon a single sound-board, and by the system of borrowing to avoid the reduplication of large pipes in the bass octave.
To our original design of five stops on a single manual, let us suppose that we have added three, played by a second key-board. We must assume that the five stops belonging to the first manual (the lower), will be all throughout, and may be something like this, viz.: an open Diapason with wood bass octave; a Clarabella, with stopped bass octave; a Principal, Flute, and 2-feet stop as before. Then the second or upper manual should have some such stops as these: Stopped Diapason, the bass octave borrowed from that of the Clarabella; Dulciana to Tenor C; Gems-horn, or some other light 4-feet stop, the bass octave borrowed from that of the Flute or Principal.
As the sound-board will have two grooves for each note throughout its whole extent, namely 108 grooves if the manuals are of the usual compass, its length might be unwieldy and inconvenient, ill adapted to the size of ordinary rooms. We must strongly recommend, therefore, that the arrangement shown in Fig. 39 (see p. 112) be adopted. On the front portion, b c, containing eighty-four grooves, and carrying eight sliders, all the stops from Tenor C to top F may be planted.[Pg 144] On the back portion, a b, which will have twenty-four grooves only, all the bass pipes will be placed, unless, indeed, we assume that the large open 8-feet pipes are conveyanced off. This back portion will carry one slider for this open bass, one for each of the 4-feet and 2-feet stops, and two pairs of twin sliders, placed close together, for the borrowed stopped bass and borrowed 4-feet bass.
Our readers may feel confidence in the directions now given if we say that we are describing an organ built by ourselves and now in our possession.[3] The sound-board, admitting of eighty-four grooves in its front division, is 5 feet 3 inches long, and its seven sliders (we have no stopped Flute), with the bearers, occupy a width of 16 inches; but the 4-feet octave of the Open Diapason, and six pipes of the Dulciana, are brought into sight as a "speaking front," and therefore fill no space on the board itself. The back part of the board, with four sliders (two of them twin), has also a width of about 16 inches, our large open wood bass being on a board at a lower level, as in Fig. 10. Thus the whole board, carrying practically eight stops (one of our stops is of two ranks, viz. a Twelfth and Fifteenth) throughout, is 5 feet 3 inches long and 32 inches wide.
[3] This organ is sketched in the frontispiece.
We hope we have said quite enough in former pages of roller boards and backfalls to enable any intelligent reader to devise for himself the double action of such an organ. An inspection of Figs.[Pg 145] 37, 38, and 39 may suggest ideas to him. An essential point is that everything should be within reach if defects should require attention; and access to the back as well as to the front of such an organ is indispensable.
A word about the borrowing. It is plainly not enough to groove the two channels of each note together in the bass, as in the case of a single manual. If this were done the wind would fill the whole of the two channels upon lowering a key in the bass octave of either manual, and all the stops of which the sliders happened to be drawn at the time would speak together. Thus our purpose of borrowing one particular stop would be defeated. We must effect it thus: the twin sliders will be closely contiguous, and will only be separated by short pins of brass or iron let into the table, to prevent the friction of actual contact. Thus the two holes which are to be brought into connection are near to each other, and the communicating groove will be short. If this is cut in the upper board itself it must be neatly executed, and the bottom of the groove must be level and smooth. Over each of the two holes within the groove so cut must be placed a valve, consisting of a small piece of pallet leather covering the hole completely, and rising with complete freedom by a hinge along its edge, like the clacks of the bellows. Each pair of holes being furnished with these valves the grooves are roofed in and the pipes planted, as described in earlier pages of this book.[Pg 146] On lowering one of the keys the wind will affect the borrowed pipe only, since the little valve will stop the twin hole and prevent the flow of air through it into the channel. If the key corresponding to the same note be pressed down on both manuals, then both the little valves will be blown open by the wind; but if all the channels, grooves, and holes be of ample size, so that there is no throttling of the wind, the speech of the pipe will be entirely unaltered, since it will only receive a given quantity of wind through the perforation in its foot, and this wind will be of the same weight or pressure as before.
The borrowing grooves may be cut in the under surface of a separate board, which will then form a roof or cover to the several pairs of valves arranged over the holes on the upper surface of the sound-board itself. Or this borrowing-board may be put together with bars, cheeks, and an upper table like a light sound-board. The essential point is that all the openings be of ample size, and that the valves fly open widely at the slightest breath of wind, and close the holes as promptly when the wind is withdrawn. If due attention is given to all this no failure need be anticipated with the borrowed basses.
We have proposed the lower key-board as "Manual I.," in accordance with the German usage, and because that arrangement will facilitate some of our mechanism, for instance, the pulling down by the pedals of the bass notes. But lovers of[Pg 147] old English organs, among whom we must reckon ourselves, may prefer to make Manual I. the upper manual of the two. A beautiful instrument of this class, built by the late J. C. Bishop, stands in the chapel of Jesus College, Cambridge, and was the gift of an accomplished amateur, whose performances on it are still remembered.[4] The same gentleman was the possessor of a chamber organ of exquisite tone by Bernhard Schmidt, of such remarkable composition that it merits description here. The lower manual, or Choir, had three stops, an Open Diapason, a Stopped Diapason, and a Principal, all made of oak, and of extreme delicacy and beauty. The upper manual, or Great, had likewise three stops, all metal, namely, Stopped Flute, Fifteenth, and Mixture of two ranks (19th and 22nd in the bass, 12th and 17th in the treble). The Stopped Diapason could also be played upon this manual by borrowing. A coupler united the lower to the upper at pleasure, and then the "Full Organ" was produced upon the upper manual with an astonishing effect of sprightliness and brightness. Such an organ as this, with some changes (its key-boards were very antiquated, and so high from the ground that the player was perforce erect), might afford an admirable model for imitation.
[4] The late Sir John Sutton, Bart., author of "A Short Account of Organs built in England from the Reign of King Charles II. to the Present Time." Masters, 1847.
Let us add that if pedal notes of 16-feet tone are[Pg 148] added to an organ of this class, namely of two manuals, Great and Choir, only twelve large pipes will be necessary, even though the compass of the pedal-board be of thirty notes complete. This great economy of space and outlay will be secured thus: 1st, by making the pedals pull down on the chief manual throughout their whole extent as before; 2nd, by adapting the twelve deep pipes to the lower octave of the pedals, and by making their upper octave and a half pull down upon the lowest keys of the second manual. A moment's reflection will show that the 16-feet tone is thus obtained throughout the whole compass, and no inconvenience whatever will ensue to the player.
The mode of introducing the large bass pipes, and of pulling down as above, will be described before we conclude this work.
Still desiring to erect a chamber organ, and, therefore, to be chary of space and cost, we must now show how the swell-box may be included in our design.
We shall suppose that the organ has been completed so far as the lower manual is concerned, with all that pertains to it, according to the rules which have now been given at length and in detail. In laying it out we must assume that care has been taken to give increased size to the bellows, and to arrange the frame for the reception of a second sound-board.
We feel it due as well to our readers as to ourselves to explain that we confine ourselves in all[Pg 149] that follows to a description of work done by ourselves in our own workshop.
We shall place only three stops in our swell, which will have a compass of forty-two notes, from Tenor C to top f. The stops will be a Diapason in wood, partly stopped, and the rest open; a Flute of 4-feet tone in wood, open throughout; and a Gamba of reedy quality, in metal, of 8-feet pitch, but only descending to Fid. G., 3 feet, the remaining notes being grooved to No. 1. This curtailment is greatly to be regretted, but such imperfections are among the objections to the swell-box, which would assume dimensions inconsistent with a chamber organ if an attempt were made to give full compass to its 8-feet stops.
The sound-board for these three stops will be only 2 feet 9 inches in length, and 1 foot in width; but the upper boards must have an ample margin or surplus in both directions to afford support for the box which will rest upon them.
This box must be made of thick stuff, say 1½ inch deal; it will therefore be very heavy, and care must be taken to provide for its weight in planning the frame. It should be put together with screws, so that it can easily be taken to pieces for transit, and it is usual to line the whole of its interior with sheets of thick brown paper, applied with glue. It will be very convenient, if access can be had to the back of the organ, to fit the back of the box with hinged doors, or to make the back removable like a shutter; in this case the pipes should be[Pg 150] planted so as to present themselves readily to the tuner. If access to the back cannot be had, then a space is inevitable in the middle of the organ for a passage-board, on which the tuner may stand, or at least place his foot, while he removes the front shades in order to reach the pipes planted accordingly. In the swell-boxes of church organs the sides of the box are generally fitted as doors; then, the pipes being planted with the tallest in the centre, diminishing in height to each end, half of them can be tuned at one operation. When the pipes are thus planted, the top of the box will slope towards each side from a central ridge, like the roof of a house.
Fig. 50.
We cannot doubt that many of our readers have[Pg 151] had, or may have, opportunities of examining the construction of the shutters or shades of a swell-box. We have sketched it, however, in Fig. 50. The shades are 6 inches in breadth, and of the same thickness as the rest of the box, and each shade turns on pins let into the ends of it at a distance of 2 inches from its upper edge. These pins work in notches cut in the cheeks of the box, so formed that any shade may be easily lifted out and replaced. The edges of the shades are bevelled to half a right angle so that they overlap when closed, and the bevelled surfaces are faced with leather or cloth to shut in the sound more effectually.
Fig. 51.
The mode of opening the shades, and so producing a crescendo, is shown in Fig. 51. a, b, c are arms of oak, morticed into the shades at the level of the pins, viz. 2 inches from the upper line; d e is a long rod or tringle of wood, connecting all these arms by pins passing through them and itself. It is evident that by drawing up this rod at its top, or by pushing it up from below, we shall open all the shades at once, and as they are hung on axes placed at one-third of their breadth, they will close by their own weight when released. The leverage by which this movement is brought under the control of the player may be safely left to the inventive powers of the reader. It is usual to give promptness to the return of the swell-pedal,[Pg 152] and therefore to the closing of the shades, by attaching a strong spiral spring to the pedal, and to some firm point in the frame.
As the swell-box is at the back of the instrument, its key-action will have to pass or cross that of the Great organ. The way in which this will be effected must depend a little upon circumstances—for instance, upon the length of the key-tails in the two manuals. If the swell manual acts by squares and trackers, while the Great has backfalls and stickers, the small trackers, being thin ribands of wood, can be easily made to pass between the Great stickers. Or if the swell-keys act on backfalls, these backfalls may be thinned down behind the line of key-tails, so as to allow the stickers of the lower manual to pass between them. This may be understood from Fig. 52, though that figure refers to another subject. The worst plan of all is to make the lower stickers pass through holes or mortices in the upper key-tails, since this prevents[Pg 153] the removal of the upper key-board without a disturbance of the whole action.
Fig. 52.
We believe that these constructive details contain in themselves the grounds on which we based our advice to hesitate before including a swell-box in the design for a small chamber organ. It has been made apparent that it brings with it a considerable increase of bulk, weight, and complication, and that it cannot possess the full compass. We must add that if the bellows are worked by the foot, the use of the swell-pedal at the same time is of course impossible.
The large swells of church organs owe their grandeur of effect to their reed-stops; the trumpet, of which the oboe is a soft echo and our little gamba a faint and humble imitation, the horn or cornopean, and the double trumpet or bassoon, a stop of 16-feet pitch. All reed-stops are quite beyond the range of amateur construction, and each of the above will cost about £25 if purchased from a good maker and made of first-class material. Beautiful as such stops are when made and voiced by highly-skilled workmen, they may easily be unpleasing and even offensive.
Let us add that the twelve notes of the swell manual, below Tenor C, may be made to act on the lower manual by a "choir coupler" (see next section, and Fig. 52); or, if there is a complete pedal Sub-bass or Bourdon of twenty-five or more notes, the silent keys of the swell manual may borrow the pedal notes from CC, 8-feet tone[Pg 154] upwards. An easy mechanical movement of squares and trackers will effect this.
Two manuals imply couplers, though we greatly regret the incessant use of these contrivances by modern organists.
Fig. 53.
We shall treat, very briefly, of couplers under three heads, viz. the coupling of—
- (a) Upper Manual to Lower Manual.
- (b) Lower Manual to Upper Manual.
- (c) Manuals to Pedals.
(a) The common Tumbler coupler is represented in Fig. 53. a is a slender bridge, having as many notches as keys in the manual, and fitted with short stickers called tumblers. These tumblers, or stickers, are generally rectangular in section, and they must fit the notches neatly but with freedom of motion; the notches are closed in by a tringle of wood glued over them, thus forming a series of mortices; and each sticker has a little pin, or a pair of pins, to prevent it from falling out of its notch or mortice. Or, the tumblers may be made from round rods, and may pass through round holes in the bridge. They are well black[Pg 155]leaded in either case. Now if this bridge, with its tumblers, is placed between the manuals near their hinder extremities, if the length of the tumblers is equal to the interval between the upper and lower key-tails, it is evident that on pressing down a key of the lower manual the tumbler will push up the tail of the corresponding key on the upper manual, and so on throughout the full compass of both. To reverse this, and to leave the manuals separate and independent as before, the bridge is made to take a quarter of a revolution in sockets fitted to carry its ends, which are rounded or turned in the lathe; the tumblers, by this partial revolution, are then no longer perpendicular, but parallel to the key-tails, as shown by the dotted lines in the figure, and cease to be touched by them. On the whole, this is the simplest form of swell-coupler.
Fig. 54.
The tumblers may also be placed on or off by causing the bridge to slide between guides for a distance of 1 inch or 2 inches. When the bridge is pushed back by drawing a stop-handle (which acts upon a horizontal trundle with arms and traces[Pg 156] to give the sliding motion), the tumblers act on the key-tails; when it is drawn forward by thrusting in the stop, they fall into a hollow cut in the key-tails, and are too short to be of use. The hollow in the key-tails is bevelled, and the inclined plane so formed is leathered and blackleaded (see Fig. 54).
Fig. 55.
The ram coupler, Fig. 55, acts in a way closely resembling the last. Instead of tumblers, the bridge carries a set of short backfalls, turning on a wire as usual, and cut at the free end into a circular form. The sliding of the bridge brings these circular ends into contact with the key-tails of both manuals, or places them in a hollow cut in the keys, bevelled, leathered, and blackleaded as before. The ram-coupler can be used between manuals arranged too closely to admit of tumblers.
(b) It will facilitate our description of the choir-coupler and pedal-couplers if we here point out that if a bridge with backfalls (or squares) be made to rise or fall ½ inch or more at pleasure, the action connected with it will be thrown into or out of gear at the will of the player. If, in Fig. 32, for instance, the bridge g be made to rise ½ inch by[Pg 157] drawing a stop-handle, the stickers e will then be too short by ½ inch, or the pull-downs h will be too long in an equal degree, and the manual will be silenced.
Fig. 56.
An easy way of making such a bridge rise and fall is shown in Fig. 56. The bridge a, which cannot be too solid and heavy, is held between guides, c d, which are blackleaded and accurately adjusted. At each end of the bridge is fitted a little roller or wheel of box-wood, turning freely on a pin. To the frame below is fitted another such roller, or two, as in the figure. Between these two or three rollers, at each end of the bridge, an inclined plane of wood, e, is made to traverse by means of a horizontal trundle and arms. It will be seen at a glance that when the inclined plane is pushed between the rollers by drawing or thrusting in a stop-handle, it lifts the bridge between the guides and dislocates the action; when it is withdrawn, the bridge resumes its place by its own weight, and the action is again in order.
It is now easy to understand the construction of the remaining couplers. The choir-coupler (Fig.[Pg 158] 52, p. 152), has two bridges, x, y, with two sets of short backfalls and communicating stickers. If the bridges are fixed, then on depressing any key on the upper manual its tail raises the backfall, which presses down the lower backfall, which in its turn pushes up the tail of the lower key and causes the note to be heard. If the upper bridge be made to rise or the lower to fall ½ inch, then the keys are at once disconnected.
(c) The coupling of manuals to pedals is generally effected by rising and falling bridges, carrying backfalls which push up the tails of the keys. These bridges are arranged one above the other beneath the keyboards in large organs with three or four manuals, each bridge bringing its own manual into connection with the pedals by the movement already described. One roller-board (the rollers are often of iron for the sake of compactness) suffices for all the sets of backfalls, and the stickers (in this case generally flat strips of wood) pass through mortices cut in the tails of the lower keys to act upon the tails of the keys to which they belong.
The reader will easily perceive from these hints how the pedals may be made to act through their whole extent upon one of our manuals, and through only a part of their extent upon the other manual, as we have hinted at page 148. There will be two bridges, one over the other, and a very little ingenuity will be required to plan the roller-board so that the central C of the pedals shall pull down[Pg 159] the lowest C of the second manual (be it upper or lower), and thus give the octave below (or 16-feet pitch) without additional pipes from that note upwards. But this, perhaps, belongs to the subject of the pedal organ, which we reserve for the conclusion of this book.
It is right to add here that in old-fashioned organs, both in England and on the Continent (where many such instruments remain unaltered), the manuals were made to couple by being drawn out or pushed in about ½ inch. A spur or protuberance of wood was glued to the upper part of the tail of each key, and a similar spur to the under part of the tail of the key in the manual above. These spurs had rounded ends covered with leather. On shifting one of the key-boards backwards or forwards the spurs met each other, and the coupling was effected. Or the spurs were glued under the front of each key, immediately behind the beading of the key-frame, and upon the upper surface of each key in the manual beneath it, and a similar shifting brought about a like result. We see no objection to this very simple old-fashioned arrangement strong enough to induce us to discard it from consideration.
The common type of small church organ with Great and Swell (throughout) would be vastly improved by the introduction of a manual between the other two, having no stops of its own, but coupled to both by such spurs. Instead of two qualities of sound, namely Swell alone and Great[Pg 160] and Swell combined (the incessant use of the coupler being the inveterate habit of most players), we should have three: Great alone, Swell alone, and combination of Great and Swell. This obvious improvement could be introduced into new organs or added to existing instruments at a very small cost. There should be a coupler to connect this Combination Manual with the pedals.
It is undeniable that the addition of a pedal organ with a Sub-bass or Bourdon of 16-feet tone is a very important and valuable improvement to any organ, large or small. It gives a dignified cathedral-like solemnity and grandeur which every ear can appreciate. We shall bring our treatise to a close by a few remarks upon it.
1. The pipes will be made precisely like those of the Stopped Diapason, of which they may be regarded as a continuation, and they should be of stout material, the last four or five of inch stuff, then three-quarters to the twelfth or thirteenth note above.
On the question of scale the most diverse opinions have found favour of late years. A writer whose dicta are entitled to respect[5] urges that the lowest pipe (CCC, 16-feet tone) should have the enormous if not preposterous scale of 11½ by 13 inches inside measurement, and that the next six pipes above it should be in proportion. After that, he says, a smaller scale may suffice.[Pg 161] It is clear that if this ruling be correct we may dismiss the idea of introducing a Sub-bass into our chamber organ. Mr. Hopkins, on the other hand, prints two scales for 16-feet toned Bourdons, the larger of which gives 6⅛ inches by 4⅝ as the inside measurement of the CCC pipe; while the smaller gives 5 inches by 3⅜ for the same pipe. We may safely adopt this larger scale of Mr. Hopkins; and we will only say further that with our light 2-inch wind the mouths should be cut up one-third of the width, or rather less, and the foot-holes should be of ample size.
[5] Rev. F. G. Hayne, Mus. Doc., "Hints on the Purchase of an Organ." Novello, 1867.
2. Their location in the organ must depend very much on special circumstances. When they can be placed in a row at the back of the instrument, their connection with the pedals becomes very simple, two sets of squares with trackers running under the bellows being all that will be necessary. If the room has abundance of height, the back set of squares may act on a roller-board, and then the pipes can be disposed symmetrically, the largest at each end.
3. The board on which they stand will not require a slider. It will be, in fact, a wind-chest only, a long box of stout pine or deal, having holes in its top countersunk to receive the pipe-feet. Under each hole is placed a pallet or valve, held up by a strong spring, and having a pull-down wire passed through a brass plate in the usual way.
The aperture of the wind-trunk is in the lower board of this chest, and over it, before the board is[Pg 162] in place, is fitted a valve, faced with leather, and made to slide to and fro between guides. An iron spindle, turned to fit accurately in a brass collar, carries an arm jointed to the valve by a connecting rod or trace; and outside the chest it carries another arm, at right angles to this, jointed to the draw-stop handle or its trace. We have, in fact, a trundle passing air-tight through a collar, and by this simple contrivance we can shut off the wind at pleasure from the chest. Other methods of effecting this are in use, and may easily be devised. The pipes are very frequently placed on both sides of the organ, to the right and left. In this case the two chests will be at right angles to the manual chest or chests, and the action will be less direct. But it will be readily arranged as follows:—The pedal roller board will be long enough to act upon sets of squares, carried on the organ-frame to the right and left of the player, and at any convenient height. The other arms of these squares act by trackers on roller-frames placed under the chests.
There are cases in which this roller-board will be better placed at the back of the organ, the connection between it and the pedals being by squares and trackers; and there are also cases in which a large roller-frame lying upon the ground under the bellows may be made to answer every purpose. Bell-cranks, or horizontal squares, may also transmit the pressure of the foot on the pedal by other squares and trackers to the pedal pallets in a[Pg 163] manner analogous to that of the draw-stop action, Fig. 49. There is abundant room for ingenuity and contrivance in all these details; the essential points are strength, quietness, and accessibility for repair or adjustment.
Some of our readers may be able to indulge in the luxury of a second pedal stop. This should be a Violoncello in metal, of 8-feet tone and length. In this case the pedal chest or chests will be regular sound-boards, with sliders; or the Sub-bass may be on a chest as already described, while the Violoncello may be on another, with two actions.
We have only to add, that the power and effectiveness of small organs may be increased by the contrivance called a "Terzo Mano" (Third Hand), or octave coupler. Let us suppose that an ordinary action has been fitted with backfalls in the usual positions. Then a second bridge, rising and falling by a draw-stop, is introduced, carrying skew backfalls which act on the pull-downs an octave higher than the first set. Thus the key CC will take down the Tenor C note, and so on throughout the scale. It is evident that the effect on the ear will be nearly, though not quite, the same as if each 8-feet stop had its corresponding 4-feet stop drawn with it. An Open Diapason will sound like an Open Diapason and Principal; a Stopped Diapason, like a Stopped Diapason and Stopped Flute, &c. To render the illusion complete, the pipes should be carried up twelve notes higher than the apparent compass of the key-board, that is to say, if the key-[Pg 164]board has fifty-four notes the sound-board should have sixty-six grooves.
In a similar way the pedal Sub-bass may be made to play in octaves, producing the effect of a Sub-bass, 16-feet tone, with a Flute-bass of 8-feet tone added to it.
Of all such mechanical devices it must be said, finally, that neatness, accuracy, and noiseless precision of action are the conditions necessary to complete success.
CHAPTER XIII.
VILLAGE CHURCH ORGANS.
Our labours have hitherto been exclusively directed towards the production, in private workshops and by young workmen, of small organs adapted for domestic use. That such organs should be of varied character, and that they should represent the differing musical tastes and unequal mechanical ingenuity and adroitness of their unprofessional or self-taught constructors, is the legitimate outcome of the circumstances assumed.
The case of organs for churches must be regarded from a different stand-point. Designed for public use, and consecrated to lofty purposes, they should reflect no private fancies or peculiar tastes; should admit of no experiments or eccentricities; should be distinguished by excellence of material, finished perfection of workmanship, and solid stability of structure. We cannot, therefore, recommend the construction of any church-organ in a private workshop. The aim and object of this volume would be entirely misconceived by any reader who should imagine that we encourage such an ambitious attempt. However humble as[Pg 166] to style of architecture the church may be, however unpretending the scheme for the organ may be, we must strenuously advocate the placing the order for its erection in the hands of a well-established firm of professional builders.
Guarding ourselves thus, we trust, against all possibility of misconception, we shall endeavour in the following pages to offer some suggestions on the subject of village organs, which may tend to smooth away perplexities from the path of those who, without any previous acquaintance with such matters, find themselves called upon to exercise discretion, and pronounce decisive judgment on estimates and specifications submitted to them by builders and by musicians.
In using the term "Village," we refer less to locality than to condition. We desire to be of service to the promoters of the erection of an organ in those very numerous cases in which no skilled player is resident in the place, and in which the new instrument will inevitably be left to the modest efforts of a schoolmistress or of a young beginner, on whose ability, moreover, no greater demand will be made than that which is involved in the accompaniment of simple chanting and psalmody. It is to the dwellers in such quiet corners of the country that we would offer a few rules or maxims, based, we hope, on principles, the soundness of which will commend itself to their good sense.
Let us bring together, in a compressed form, a[Pg 167] few of these maxims, afterwards examining them in detail.
A village organ should be of simple construction, containing no mechanism liable to sudden derangement. It should stand well in tune, without attention, even though placed in a building exposed to alternations of temperature and perhaps not free from dampness. Its musical effects should be readily and obviously producible by any person sitting down to it for the first time, and guided only by experience gained at the harmonium or pianoforte. It should present no facilities for ambitious attempts at executive display by thoughtless aspirants. Its power, or volume, should be sufficient to assert itself unmistakably in a full congregational chorus; and its tone, or quality, should be that which long experience has shown to be impressive and pleasing to the vast majority of listeners. Hence, it will be capable of emitting no sounds which might be described by any uneducated hearer as odd or curious. Lastly, let us add that its case should be shapely, even if destitute of ornamentation.
Whole pages of disquisition may be saved if we proceed at once to apply these maxims to the specification of the smallest and least costly organ which we shall recommend for a village church: an organ, namely, with four stops only.
1. Organ No. 1. The manual will be from CC to E in alt, 53 notes.
Remark.—The key-board is more sightly when[Pg 168] its two extremities are rendered similar by this omission of the top F. But the further omission of the four upper notes would still leave a compass of 49 notes, amply sufficient for the accompaniment of voices.
2. Its stops will be these:—
(a) Open Diapason, metal throughout, or of metal from Gamut G, with seven pipes of open wood below.
Remark.—These open wood pipes, when properly scaled and voiced, have some advantages over metal for our present purpose, and may be placed so as to close in the back of the case instead of panelling.
(b) Principal of metal throughout, being the octave of the Open Diapason, to which it will therefore be made to conform as regards scale and voicing.
Remark.—The two stops, (a) and (b), when played together, will furnish the element of power, or loudness, to the organ.
(c) Stopped Diapason of wood throughout, or of metal with chimneys from middle C to top; but not with a Clarabella of open wood as its upper part.
Remark.—The metal Stopped Diapasons which have come down to us from the days of Harris, and other old builders, are often of exquisite beauty of tone. Modern builders are apt to neglect the stop, and to treat it as a mere "Coppel," or vehicle for exhibiting the qualities of imitative stops. We should be glad to persuade them to make the upper octaves of oak, after the example of Schmidt.
(d) Stopped Flute of wood throughout, or of metal with chimneys as to its three upper octaves. This stop pretends to no imitation whatever of the well-known musical instrument, the Flute, but is simply the octave of the Stopped Diapason, of which it should follow the scale and voicing.
Remark.—The two stops, (c) and (d), when played together, supply to the organ the important element of softness and tranquil clearness; and when added to (a) and (b), they enhance the fullness and volume of those stops, while correcting a certain crudeness or tendency towards harshness. The Stopped Flute fulfils a further most important office. When added to the two Diapasons (without the Principal), it imparts not only a most pleasing silvery sweetness to the tone, but gives a definiteness of pitch which will correct the tendency of school-children to sing out of tune. This stop should, therefore, on no account be omitted, or cancelled in favour of more showy or conspicuous qualities of tone.
3. Be it carefully observed that the stops (a) and (b) can be made to produce sounds of several gradations of loudness according to the scale of the pipes, the pressure or weight of the wind, and the character of the voicing. Their tone will be further affected by the substance and quality of the pipe-metal. Let us confidently assume that the order for the new organ will be given to no builder who does not hold his art in such esteem as to be incapable of using inferior and perishable materials. The metal should be tin and lead only, in at least[Pg 170] equal proportions; still better if the tin be three-fourths, four-fifths, or seven-eighths of the whole alloy. The wind-pressure should be light, as we desire that the feeder should be easily worked by the foot of the player. The scaling and voicing must be left to the judgment of a trustworthy builder, as they will vary with the capacity of the church and the requirements of the singing. Enough if we advise that, even in the case of the smallest church, the two metal stops be of bold, out-speaking character, asserting themselves distinctly, and having no tinge of the muffled or subdued quality proper to chamber-organs.
4. The case of the organ, even if carving be entirely absent, may be of graceful and pleasing outline by making the upper part, above the level of the keys, overhang the lower part, or base, which encloses the bellows.[6] This lower part need not be much wider than the key-board itself, and about three feet in depth, from front to back. If the upper part be five feet in width, it will overhang the base one foot or a little less on each side, obtaining apparent support from a pair of brackets. The total height, if the open bass pipes be set down at the back, will not exceed nine feet; but the speaking front may be well thrown up by the usual expedients if the church be lofty. We strongly advise[Pg 171] that these speaking front pipes be left of their natural silver colour, which they will not lose if tin predominates largely over lead in the alloy. For our own part, we are no admirers of the chocolates, dark blues, and sage greens smeared upon front pipes by way of decorating them. Too often, we fear, such diapers are a cloak for very inferior metal, which would soon betray the presence of antimony and other deleterious ingredients by turning black if left unpainted.
[6] See the frontispiece of this book. Some charming but elaborate designs will be found in the Rev. F. H. Sutton's "Church Organs," published by Rivingtons. Folio. 1872.
The draw-stops will be most conveniently handled if arranged above the keys, under the ledge of the book-board, as in the harmonium. It will be well to place the Stopped Diapason and Flute on the left, and the Open Diapason and Principal (which will be more frequently drawn and shut off) on the right, leaving an interval of a foot or so between the two pairs.
The cost of this four-stop organ, made of first-class materials, in a case of stained deal or pitch-pine, should not exceed £80. A provincial builder, who works with his own hands, might undertake it for a smaller sum, but we cannot counsel a diminution of cost by a lowering of the standard of the pipe-metal or by a resort to inferior woods.
A hasty résumé of our design will show a close correspondence with our initial maxims.
The organ is:—
1. Of simple construction, containing no mechanism liable to sudden derangement.
2. It will stand well in tune, without attention, even for years, especially if the smaller stopped pipes be of metal with chimneys.
3. A new player will be met by no special difficulty whatever.
4. As there is no "swell," there can be no exhibition, on the part of the player, of the peculiar forms of bad taste to which that invention lends fatal facility; and as there are no pedals, there will be no lumbering and blundering attempts to play grand compositions never meant for village churches.
5. Its power, or volume, will be ample for the accompaniment of the ordinary congregational singing of two or three hundred persons, and more than abundantly sufficient for the support of a rustic choir; and it emits no sounds which can provoke criticism by singularity of intonation, and which have not been found, by long years of experience, to be invariably agreeable to all musical ears.
Organ No. 2. To the four-stop instrument just described, a "Dulciana" might be added, at a further cost of about £10, less or more, according to quality of pipe-metal, &c. Its compass will be from Tenor C to top, or, still better, from B flat or a lower note, the remaining sounds being obtained by grooving to the Stopped Diapason. The Dulciana is of beautifully delicate tone, slightly nasal; when played with the Stopped Diapason it gives a charming clearness and sonority to that soft stop.[Pg 173] When the Flute is added, we have a true choir-organ quality, most useful in the accompaniment of low and solemn music.
Remark.—Some builders or organists may recommend a "Salicional," or "Viola di Gamba," or "Keraulophon," in place of the Dulciana. All these stops, when properly made, are of beautiful tone, but their beauty is of a kind which soon satisfies, and then is apt to weary the listener. They are therefore excluded from our village organ by one of our maxims. The same sentence of exclusion must be passed upon the class of stops known as "Lieblich Gedact," and rightly introduced in large organs as alternatives for the Stopped Diapason and Stopped Flute. "Their tone in the treble," says Mr. Hayne,[7] "is so peculiar as to become wearisome, and a little of them goes a very long way." The imitative Flutes, which have many different names, as "Flauto Traverso," "Concert Flute," "Oboe Flute," and the like, find their place in organs of much larger dimensions than our village organ; and Harmonic stops, of every pitch and quality, are shut out by their costliness, if not by the character of their tone, which is unacceptable to some ears.
[7] "Hints, &c.," p. 14.
Organ No. 3. Perhaps greater loudness may be reasonably desired when the village church is large and the singers numerous. This accession of power will be gained by adding two more complete[Pg 174] ranks of pipes, namely, a Twelfth of three feet (nominal) and a Fifteenth of two feet, both in metal. We cannot enter into controversy with modern purists who object to the Twelfth. Enough that its effect, when duly balanced, has been accepted as dignified and elevating for centuries past. As it is never used without the Fifteenth, the pipes of both may be governed by one slider, and in this case the stop may be called "Mixture, ii. ranks."
The additional cost of the Twelfth and Fifteenth, with the necessary enlargement of the sound-board and bellows, may be £20 or £25.
Organ No. 4. The stops which have been enumerated, with one or two additions, might be distributed between two manuals, with great advantage to the player, and without a violation of any of our self-imposed conditions. Instead of suggesting the list of stops ourselves, we give the names and distribution of those in the beautiful little organ in the choir of Jesus College Chapel, Cambridge, designed by the late Sir J. Sutton, Bart., and built by the late J. C. Bishop, some old wooden pipes by Schmidt being worked in.
Upper Manual, or Great Organ.
| 1. Open Diapason | 8 | feet. | |
| 2. Stopped Diapason | 8 | " | tone |
| 3. Principal | 4 | " | |
| 4. Twelfth | 3 | " | |
| 5. Fifteenth | 2 | " | |
| 6. Tierce | 1⅗ | " | |
| 7. Mixture | iii. | ranks. |
Lower Manual, or Choir Organ.
| 1. Open Diapason, | wood | 8 | feet. | |
| 2. Stopped Diapason | " | 8 | " | tone. |
| 3. Open Flute | " | 4 | " | |
| 4. Stopped Flute | " | 4 | " | tone. |
Such an organ could not be costly, as there is no swell-box, and as large Bourdons or 16-feet Open Diapasons are absent, together with couplers and all other complications. But perhaps it is luxuriously large for a village church of average size. It might be somewhat lessened thus:—
Organ No. 5.
Great Organ (Upper or Lower, as preferred).
| 1. Open Diapason | 8 | feet. |
| 2. Hohl-flöte, wood | 8 | " |
| 3. Principal | 4 | " |
| 4. Stopped Flute | 4 | " |
| 5. Mixture | iii. | ranks. |
Choir Organ (Lower or Upper).
| 1. Stopped Diapason | 8 | feet | tone |
| 2. Dulciana | 8 | " | |
| 3. Gemshorn, a light Principal | 4 | " | " |
Remark.—The Mixture, No. 5, will be 15th, 19th and 22nd from CC to middle B, and 8th, 12th and 15th onwards to the top.
Perhaps we should not conclude without noticing one or two objections to our plans.
First. "Organs cannot be properly played without pedals."
Most unquestionably true classical organ music cannot be played on instruments with manuals only. But it was on such instruments that the illustrious Handel, with his contemporaries and[Pg 176] predecessors, Croft, Boyce, Worgan, the blind Stanley, and a host of others, delighted their audiences by their masterly performance. Pedals were not added to English organs until the latest years of the eighteenth century. The nineteenth was far advanced before the pedal-board, of full compass, had come to be considered an essential part of every organ.
Why should the effective management of organs without pedals be among the lost arts? Why should not the clever manipulation of such organs be practised by ladies, and by the modest players in villages, to whom the preludes and fugues which echo through the aisles of the cathedral must ever be a dead language? Why should the cathedral player himself, fresh from his pedal fugues, deem it beneath his dignity to draw sweet music, in a totally different style, from an instrument on which Handel would have willingly displayed his powers?
We were present on a certain occasion, many years ago, when the late Professor Walmisley, of Cambridge, was asked to play on a small and old-fashioned organ without pedals. The distinguished pedallist and renowned interpreter of Bach's compositions did not turn away with contempt. He seated himself, and charmed all who were present by his ingenious extemporisation. The skill, and learning, and resource of the true musician were never more conspicuously displayed.
We see no reason whatever why such a bright example should not be followed; and, while we[Pg 177] yield to no one in appreciation of the pedal-organ, and of the music proper for it, we hold that the typical organ of the village church has no concern with these, and that no greater demand should be made upon the executive powers of its player than that which is made in the acquirement of a pure legato style at the pianoforte or harmonium.
Second. "Why omit the Swell, the greatest improvement of modern organs?"
The Swell-organ proper owes its effectiveness to its reed stops, and these are one and all excluded from our village organ by the fact that they require the frequent attention of a tuner. We grant, however, that reedy stops of the Gamba class might take their place in small organs; and we admit that our organs, Nos. 1, 2, and 3, might be very easily enclosed in swell boxes, while a "Swell" might take the place of a "Choir" in No. 5. Such alterations would have many advocates, both professional and amateur.
In adhering resolutely to our plans, we must express the opinion that the judicious management of the Swell is a gift rather than an art. It is but occasionally, we think, that refined taste is made evident by a sparing use of the tempting contrivance. Too frequently, even in churches of high class and pretension, the tone of the swell-organ, with its mechanical rise and fall, prevails from the beginning to the end of the performance, until the ear longs for relief. If the abuse of the Swell be thus common even in town churches,[Pg 178] is it well to trust an apparatus which may be so easily misunderstood to the discretion of players in village churches?
Moreover, our village organ is for the accompaniment of singers. We believe that many musicians will endorse our opinion that as an accompaniment for singers the Swell-organ is misleading and unsatisfactory. An accurate ear will often detect a slight difference of pitch in the pipes of a small Swell-organ when the shades are closed or suddenly opened. We have repeatedly heard the voices of the men and boys, even in very good choirs, thrown out of tune by injudicious persistence in the use of the Swell as an accompaniment. The sense of discomfort and uncertainty was removed at once when the player transferred his hands to the Choir-manual, with its quiet and cheerful brightness.
It is for these reasons, and not from any want of appreciation of the effect of the Swell in the hands of an educated and gifted performer, that we counsel our village friends to turn a deaf ear to the praises of the Swell which will doubtless reach them from many quarters, and to rest content with genuine organ-tone produced by means which do not lend themselves to abuse.
A few words may be added for the guidance of those who find themselves entrusted with the care of old instruments.
The eighteenth century witnessed the erection, in the churches of many country towns, of noble[Pg 179] organs, honestly constructed by true artists, men who disdained the use of inferior timber or of base metal. A great number of these costly and beautiful instruments remained unaltered, or at least uninjured, within the recollection of the present writer, but demolition rather than restoration has been at work during the last thirty or more years, and the plea which we would put forward for the reverent preservation of the works of old masters may now be opportune in but few and isolated cases.
Nevertheless, if it should happen to any of our readers to discover in a village church, or in that of some quiet market-town, an organ by Snetzler (1749), by his predecessors, or by his immediate successors, ending with the Englands, father and son, we would earnestly counsel a respectful treatment of the valuable contents.
An old picture may have long lain hidden in a lumber-room, with its face to the wall; when brought into the light, and its merits recognised by an expert, its possessor replaces the worm-eaten stretcher and decayed frame by new wood, but he would indeed act strangely if he permitted the house-painter to touch the precious canvas with his brush.
Yet we have known many organs by the builders and of the period indicated above, taken down and carted away; their pipes (in Snetzler's case of nearly pure tin) sold for a trifling sum or thrown into the melting-pot; and this wanton destruction has been justified on the ground that the time[Pg 180] is come for a "better instrument," that the old organ is "screamy;" above all, that the belauded "Swell" is wanting. Accordingly the modern builder meets the wishes of his customers by providing an organ of the common-place type, and the reign of Swell-coupler and Pedal Bourdon is duly inaugurated.
Surely a wiser course would have been this:—Carefully preserve every pipe, and round out those which may be bruised by rolling them on mandrils; insist on the inclusion of all these pipes without any omission whatever in the new structure which the ravages of the worm may have rendered inevitable; add to these original contents (if funds permit) some modern ranks of pipes carefully voiced by an accomplished artist to the same pressure of wind, and calculated to support and balance the shrill high tones which the old organ doubtless contains; repair the old case, and even retain the old key-board if possible.
No doubt, in towns, where a succession of skilled players may be found, the addition of a Swell-organ and of a pedal-organ, both most carefully designed, scaled, and voiced, cannot justly be disapproved. The instrument, thus reinstated, will be a most interesting link with the past; will supply in itself a history of the progress of the organ-builder's art, and will possess an individuality of tone which educated listeners will appreciate, and which they fail to perceive in many or most of the organs erected in the present day.
INDEX.
- Action. (See KEYBOARD, PEDAL.)
- Backfalls, 94
- Bars of sound-board, 36
- Bearers of ditto, 38
- Bell-cranks, 129
- Bellows, construction of, 73
- Blacklead, 57
- Blowing pedal and lever, 86
- Boards, upper, 39
- Borrowing in bass octave, 45, 145
- Bourdon, 160
- Brass, its employment, 63, 67
- Bridge, 94, 157
- Building-frame, 81
- Buttons, leather, 96
- Channels, 29
- Choir-organ, 142
- Clarabella, 25
- Cloths, 96
- Compass, of pedals, 135
- Combination-manual, 159
- Conducting-boards, 48
- Conveyances, 51
- Counter-balances for bellows, 78
- Couplers, various kinds of, 152-157
- Cuckoo-feeder, 79
- Cummins, his invention, 75
- Diapason, open, 44, 121
- Diapason, stopped, 10
- Dip of keys and of pedals, 103, 139
- Drilling, 67
- Double sound-boards, 112
- Draw-stops, 127
- Dulciana, 121
- Engines, hydraulic, 79
- Fan-frame, 101
- Feeders, 79
- Fifteenth, Flageolet, Flautina, 125
- Flute, 125
- Frame, building, 81
- Gamba, 149
- Gems-horn, 125
- Great-organ, 147
- Grooving, 45, 145
- Key-boards, 102
- Key movements, 97
- Lathe, 5
- Leather for pallets, 61
- Manuals, 146
- Manual and Pedal, their relation, 136, 139
- Manual for combination, 159
- Materials for sound-board, 7
- Names of notes in scale, 10
- Nicking. (See VOICING.)
- Organ, Old English, 25, 147
- Pallets, 61
- Pedal-organ, 136, 160
- Pipes, wooden, 14, 23
- metal, 117
- lengths of, 11, 15
- plantation of, 30, 99
- Principal, 44, 121
- Pull-downs, 69
- Rack-boards, pins, 42
- Reed-stops, 153
- Regulation, 126
- Ribs, inverted, 75
- Roller-board, 96
- Running of wind, 50, 55
- Scales for pipes, 16
- Sliders, 29
- Sound-board, construction of, 39
- Spitz-flute, 125
- Springs for pallets, 63
- Squares, 95
- Stickers, 95
- Stops, methods of drawing, 127
- Sub-bass, 160
- Swell-organ, box, 141, 150
- Tablature, or nomenclature of notes, 10
- Temperament, 125
- Terzo Mano, 163
- Trackers, 95
- Trundles, wooden, iron, 131
- Tuning, 126
- Valves of bellows, 74, 77
- Voicing pipes, metal and wooden, 120
- Village Church Organs, 165
- Wind-chest, 55
- Wind-gauge, 122
- Wind-trunks, 80
- Wind-valve, or ventil, 162
- Workshop, 2
THE END.
PRINTED BY J. S. VIRTUE AND CO., LIMITED, CITY ROAD, LONDON.
Transcriber's Notes:
Illustrations have been moved out of mid-paragraph.
Variations in spelling and hyphenation are retained.
Punctuation has been retained as published.
'Fig 29.' has been added to the illustration 'Sticker' on page 95.