THE POWER PLANT LIBRARY
STEAM TURBINES
A BOOK OF INSTRUCTION
FOR THE ADJUSTMENT AND OPERATION OF
THE PRINCIPAL TYPES OF THIS
CLASS OF PRIME MOVERS
compiled and written
by
HUBERT E. COLLINS
FIRST EDITION
Second Impression
McGRAW-HILL BOOK COMPANY, Inc.
239 WEST 39TH STREET, NEW YORK
6 BOUVERIE STREET, LONDON, E. C.
Copyright, 1909, by the Hill Publishing Company
All rights reserved
TRANSCRIBER'S NOTES
The author of this book used the spellings "aline," "gage," and "hight" for the conventional spellings "align," "gauge," and "height." As they are used consistently and do not affect the sense, they have been left unchanged. Some obvious typos and misspellings that do not affect the sense have been silently corrected. The following substantive typographical errors have been corrected: "being" to "bearing" (p. 68); "FIG. 50" to "FIG. 56" (p. 91), and "Fig. 2" to "Fig. 73" (p. 159). Two other likely errors have been left as queries: lead/load on p. 142 and beating/heating on p. 177. These five changes are indentified by dotted red underlining with pop-up titles.
The numerous figures from the original are reproduced here as 16-level grayscale images in .PNG format, scaled to no more than 512 pixels width to fit a small window. When an image is enclosed in a broad gray border, it is linked to a higher-resolution version; click to open it.
INTRODUCTION
This issue of the Power Handbook attempts to give a compact manual for the engineer who feels the need of acquainting himself with steam turbines. To accomplish this within the limits of space allowed, it has been necessary to confine the work to the description of a few standard types, prepared with the assistance of the builders. Following this the practical experience of successful engineers, gathered from the columns of Power, is given. It is hoped that the book will prove of value to all engineers handling turbines, whether of the described types or not.
New York, April, 1909.
CONTENTS
- The Curtis Steam Turbine in Practice 1
- Setting the Valves of the Curtis Turbine 31
- Allis-Chalmers Steam Turbine 41
- Westinghouse-Parsons Turbine 58
- Proper Method of Testing a Steam Turbine 112
- Testing a Steam Turbine 137
- Auxiliaries for Steam Turbines 154
- Trouble with Steam Turbine Auxiliaries 172
I. THE CURTIS STEAM TURBINE IN PRACTICE[1]
[1] Contributed to Power by Fred L. Johnson.
"Of the making of books there is no end." This seems especially true of steam-turbine books, but the book which really appeals to the operating engineer, the man who may have a turbine unloaded, set up, put in operation, and the builders' representative out of reach before the man who is to operate it fully realizes that he has a new type of prime mover on his hands, with which he has little or no acquaintance, has not been written. There has been much published, both descriptive and theoretical, about the turbine, but so far as the writer knows, there is nothing in print that tells the man on the job about the details of the turbine in plain language, and how to handle these details when they need handling. The operating engineer does not care why the moving buckets are made of a certain curvature, but he does care about the distance between the moving bucket and the stationary one, and he wants to know how to measure that distance, how to alter the clearance, if necessary, to prevent rubbing. He doesn't care anything about the area of the step-bearing, but he does want to know the way to get at the bearing to take it down and put it up again, etc.
[2]The lack of literature along this line is the writer's apology for what follows. The Curtis 1500-kilowatt steam turbine will be taken first and treated "from the ground up."
On entering a turbine plant on the ground floor, the attention is at once attracted by a multiplicity of pumps, accumulators and piping. These are called "auxiliaries" and will be passed for the present to be taken up later, for though of standard types their use is comparatively new in power-plant practice, and the engineer will find that more interruptions of service will come from the auxiliaries than from the turbine itself.
Builders' Foundation Plans Incomplete
It is impractical for the manufacturers to make complete foundation drawings, as they are not familiar with the lay-out of pipes and the relative position of other apparatus in the station. All that the manufacturers' drawing is intended to do is to show the customer where it will be necessary for him to locate his foundation bolts and opening for access to the step-bearing.
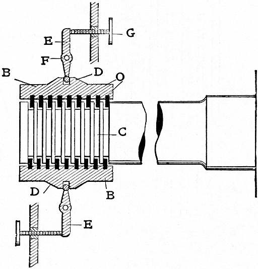
[3]

FIG. 1
Fig. 1 shows the builders' foundation drawing, with the addition of several horizontal and radial tubes introduced to give passage for the various pipes which must go to the middle of the foundation. Entering through the sides of the masonry they do not block the passage, which must be as free as possible when any work is to be done on the step-bearing, or lower guide-bearing. Entering the passage in the foundation, [4] a large screw is seen passing up through a circular block of cast iron with a 3/4-inch pipe passing through it. This is the step-supporting screw. It supports the lower half of the step-bearing, which in turn supports the entire revolving part of the machine. It is used to hold the wheels at a proper hight in the casing, and adjust the clearance between the moving and stationary buckets. The large block which with its threaded bronze bushing forms the nut for the screw is called the cover-plate, and is held to the base of the machine by eight 1-1/2-inch cap-screws. On the upper side are two dowel-pins which enter the lower step and keep it from turning. (See Figs. 2 and 3.)
The step-blocks are very common-looking chunks of cast iron, as will be seen by reference to Fig. 4. The block with straight sides (the lower one in the illustration) has the two dowel holes to match the pins spoken of, with a hole through the center threaded for 3/4-inch pipe. The step-lubricant is forced up through this hole and out between the raised edges in a film, floating the rotating parts of the machine on a frictionless disk of oil or water. The upper step-block has two dowel-pins, also a key which fits into a slot across the bottom end of the shaft.
The upper side of the top block is counterbored to fit the end of the shaft. The counterbore centers the block. The dowel-pins steer the key into the key-way across the end of the shaft, and the key compels the block to turn with the shaft. There is also a threaded hole in the under side of the top block. This [7] is for the introduction of a screw which is used to pull the top block off the end of the shaft. If taken off at all it must be pulled, for the dowel-pins, key and counterbore are close fits. Two long bolts with threads the whole length are used if it becomes necessary to take down the step or other parts of the bottom of the machine. Two of the bolts holding the cover-plate in place are removed, these long bolts put in their places and the nuts screwed up against the plate to hold it while the remaining bolts are removed.
How to Lower Step-Bearings to Examine Them
Now, suppose it is intended to take down the step-bearings for examination. The first thing to do is to provide some way of holding the shaft up in its place while we take its regular support from under it. In some machines, inside the base, there is what is called a "jacking ring." It is simply a loose collar on the shaft, which covers the holes into which four plugs are screwed. These are taken out and in their places are put four hexagonal-headed screws provided for the purpose, which are screwed up. This brings the ring against a shoulder on the shaft and then the cover-plate and step may be taken down.
While all the machines have the same general appearance, there are some differences in detail which may be interesting. One difference is due to the sub-base which is used with the oil-lubricated step-bearings. This style of machine has the jacking ring spoken of, while others have neither sub-base nor jacking ring, and when necessary to take down the step a different arrangement is used.
[5]

FIG. 5
A piece of iron that looks like a big horseshoe (Fig. 5) is used to hold the shaft up. The flange that covers the entrance to the exhaust base is taken off and a man goes in with the horseshoe-shaped shim and an electric light. Other men take a long-handled wrench and turn up the step-screw until the man inside the base can push the horseshoe shim between the shoulder on the shaft and the guide-bearing casing. The men on the wrench then back off and the horseshoe shim [9]supports the weight of the machine. When the shim is in place, or the jacking ring set up, whichever the case may be, the cover-plate bolts may be taken out, the nuts on the long screws holding the cover in place.
The 3/4-inch pipe which passes up through the step-screw is taken down and, by means of the nuts on the long screws, the cover-plate is lowered about 2 inches. Then through the hole in the step-screw a 3/4-inch rod with threads on both ends is passed and screwed into the top step; then the cover-plate is blocked so it cannot rise and, with a nut on the lower end of the 3/4-inch rod, the top step is pulled down as far as it will come. The cover-plate is let down by means of the two nuts, and the top step-block follows. When it is lowered to a convenient hight it can be examined, and the lower end of the shaft and guide-bearing will be exposed to view.
[6]

FIG. 6
The lower guide-bearing (Fig. 6) is simply a sleeve flanged at one end, babbitted on the inside, and slightly [10]tapered on the outside where it fits into the base. The flange is held securely in the base by eight 3/4-inch cap-screws. Between the cap-screw holes are eight holes [11]tapped to 3/4-inch, and when it is desired to take the bearing down the cap-screws are taken out of the base and screwed into the threaded holes and used as jacks to force the guide-bearing downward. Some provision should be made to prevent the bearing from coming down "on the run," for being a taper fit it has only to be moved about one-half inch to be free. Two bolts, about 8 inches long, screwed into the holes that the cap-screws are taken from, answer nicely, as a drop that distance will not do any harm, and the bearing can be lowered by hand, although it weighs about 200 pounds.
The lower end of the shaft is covered by a removable bushing which is easily inspected after the guide-bearing has been taken down. If it is necessary to take off this bushing it is easily done by screwing four 5/8-inch bolts, each about 2 feet long, into the tapped holes in the lower end of the bushing, and then pulling it off with a jack. (See Fig. 7.)
Each pipe that enters the passage in the foundation should be connected by two unions, one as close to the machine as possible and the other close to the foundation. This allows the taking down of all piping in the passage completely and quickly without disturbing either threads or lengths.
[12]

FIG. 7
Studying the Blueprints
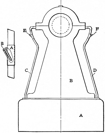
Fig. 8 shows an elevation and part-sectional view of a 1500-kilowatt Curtis steam turbine. If one should go into the exhaust base of one of these turbines, all that could be seen would be the under side of the [14] lower or fourth-stage wheel, with a few threaded holes for the balancing plugs which are sometimes used. The internal arrangement is clearly indicated by the illustration, Fig. 8. It will be noticed that each of the four wheels has an upper and a lower row of buckets and that there is a set of stationary buckets for each wheel between the two rows of moving buckets. These stationary buckets are called intermediates, and are counterparts of the moving buckets. Their sole office is to redirect the steam which has passed through the upper buckets into the lower ones at the proper angle.
[13]
FIG. 8. ELEVATION AND PART-SECTIONAL VIEW OF A 1500-KILOWATT CURTIS TURBINE
The wheels are kept the proper distance apart by the length of hub, and all are held together by the large nut on the shaft above the upper wheel. Each wheel is in a separate chamber formed by the diaphragms which rest on ledges on the inside of the wheel-case, their weight and steam pressure on the upper side holding them firmly in place and making a steam-tight joint where they rest. At the center, where the hubs pass through them, there is provided a self-centering packing ring (Fig. 9), which is free to move sidewise, but is prevented from turning, by suitable lugs. This packing is a close running fit on the hubs of the wheel and is provided with grooves (plainly shown in Fig. 9) which break up and diminish the leakage of steam around each hub from one stage to the next lower. Each diaphragm, with the exception of the top one, carries the expanding nozzles for the wheel immediately below.
The expanding nozzles and moving buckets constantly increase in size and number from the top [15]toward the bottom. This is because the steam volume increases progressively from the admission to the exhaust and the entire expansion is carried out in the separate sets of nozzles, very much as if it were one continuous nozzle; but with this difference, not all of the energy is taken out of the steam in any one set of nozzles. The idea is to keep the velocity of the steam in each stage as nearly constant as possible. The nozzles in the diaphragms and the intermediates do not, except in the lowest stage, take up the entire circumference, but are proportioned to the progressive expansion of steam as it descends toward the condenser.
Clearance
While the machine is running it is imperative that there be no rubbing contact between the revolving and stationary parts, and this is provided for by the clearance between the rows of moving buckets and the intermediates. Into each stage of the machine a 2-inch pipe hole is drilled and tapped. Sometimes this [16]opening is made directly opposite a row of moving buckets as in Fig. 10, and sometimes it is made opposite the intermediate. When opposite a row of buckets, it will allow one to see the amount of clearance between the buckets and the intermediates, and between the buckets and the nozzles. When drilled opposite the intermediates, the clearance is shown top and bottom between the buckets and intermediates. (See Fig. 11.) This clearance is not the same in all stages, but is greatest in the fourth stage and least in the first. The clearances in each stage are nearly as follows: First stage, 0.060 to 0.080; second stage, 0.080 to 0.100; third stage, 0.080 to 0.100; fourth stage, 0.080 to 0.200. These clearances are measured by what are called clearance gages, which are simply taper slips of steel about 1/2-inch wide accurately ground and graduated, like a jeweler's ring gage, by marks about 1/2-inch apart; the difference in thickness of the gage is one-thousandth of an inch from one mark to the next.
To determine whether the clearance is right, one of the 2-inch plugs is taken out and some marking material, such as red lead or anything that would be used on a surface plate or bearing to mark the high spots is rubbed on the taper gage, and it is pushed into the gap between the buckets and intermediates as far as it will go, and then pulled out, the marking on the gage showing just how far in it went, and the nearest mark giving in thousandths of an inch the clearance. This is noted, the marking spread again, and the gage tried on the other side, the difference on the gage showing [18]whether the wheel is high or low. Whichever may be the case the hight is corrected by the step-bearing screw. The wheels should be placed as nearly in the middle of the clearance space as possible. By some operators the clearance is adjusted while running, in the following manner: With the machine running at full speed the step-bearing screw is turned until the wheels are felt or heard to rub lightly. The screw is marked and then turned in the opposite direction until the wheel rubs again. Another mark is made on the screw and it is then turned back midway between the two marks. Either method is safe if practiced by a skilful engineer. In measuring the clearance by the first method, the gage should be used with care, as it is possible by using too much pressure to swing the buckets and get readings which could be misleading. To an inexperienced man the taper gages would seem preferable. In the hands of a man who knows what he is doing and how to do it, a tapered pine stick will give as satisfactory results as the most elaborate set of hardened and ground clearance gages.
Referring back to Fig. 11, at A is shown one of the peep-holes opposite the intermediate in the third stage wheel for the inspection of clearance. The taper clearance gage is inserted through this hole both above and below the intermediate, and the distance which it enters registers the clearance on that side. This sketch also shows plainly how the shrouding on the buckets and the intermediates extends beyond the sharp edges of the buckets, protecting them from damage in case of slight rubbing. In a very few cases [19]wheels have been known to warp to such an extent from causes that were not discovered until too late, that adjustment would not stop the rubbing. In such cases the shrouding has been turned or faced off by a cutting-off tool used through the peep-hole.
Carbon Packing Used
Where the shaft passes through the upper head of the wheel-case some provision must be made to prevent steam from the first stage escaping. This is provided for by carbon packing (Fig. 12), which consists of blocks of carbon in sets in a packing case bolted to the top head of the wheel-case. There are three sets of these blocks, and each set is made of two rings of three segments each. One ring of segments breaks joints with its mate in the case, and each set is separated from the others by a flange in the case in which it is held. In some cases the packing is kept from turning by means of a link, one end of which is fastened to the case and the other to the packing holder. Sometimes light springs are used to hold the packing against the shaft and in some the pressure of steam in the case does this. There is a pipe, also shown in Fig. 12, leading from the main line to the packing case, the pressure in the pipe being reduced. The space between the two upper sets of rings is drained to the third stage by means of a three-way cock, which keeps the balance between the atmosphere and packing-case pressure. The carbon rings are fitted to the shaft with a slight clearance to start with, and very soon get [20]a smooth finish, which is not only practically steam-tight but frictionless.
The carbon ring shown in Fig. 12 is the older design. The segments are held against the flat bearing surface of the case by spiral springs set in brass ferrules. The circle is held together by a bronze strap screwed and [22] drawn together at the ends by springs. Still other springs press the straps against the surface upon which the carbon bears, cutting off leaks through joints and across horizontal surfaces of the carbon. The whole ring is prevented from turning by a connecting-rod which engages a pin in the hole, like those provided for the springs.
[21]
FIG. 13
The Safety-stop
There are several designs of safety-stop or speed-limit devices used with these turbines, the simplest being of the ring type shown in Fig. 13. This consists of a flat ring placed around the shaft between the turbine and generator. The ring-type emergencies are now all adjusted so that they normally run concentric with the shaft, but weighted so that the center of gravity is slightly displaced from the center. The centrifugal strain due to this is balanced by helical springs. But when the speed increases the centrifugal force moves the ring into an eccentric position, when it strikes a trigger and releases a weight which, falling, closes the throttle and shuts off the steam supply. The basic principle upon which all these stops are designed is the same—the centrifugal force of a weight balanced by a spring at normal speed. Figs. 14, 15, and 16 show three other types.
The Mechanical Valve-Gear
Fig. 17 shows plainly the operation of the mechanical valve-gear. The valves are located in the steam chests, which are bolted to the top of the casing directly [23]over the first sets of expansion nozzles. The chests, two in number, are on opposite sides of the machine. The valve-stems extend upward through ordinary stuffing-boxes, and are attached to the notched cross-heads by means of a threaded end which is prevented [24]from screwing in or out by a compression nut on the lower end of the cross-head. Each cross-head is actuated by a pair of reciprocating pawls, or dogs (shown more plainly in the enlarged view, Fig. 18), one of which opens the valve and the other closes it. The several pairs of pawls are hung on a common shaft which receives a rocking motion from a crank driven from a worm and worm-wheel by the turbine shaft. The cross-heads have notches milled in the side in [26] which the pawls engage to open or close the valve, this engagement being determined by what are called shield-plates, A (Fig. 18), which are controlled by the [27]governor. These plates are set, one a little ahead of the other, to obtain successive opening or closing of the valves. When more steam is required the shield plate allows the proper pawl to fall into its notch in the cross-head and lift the valve from its seat. If less steam is wanted the shield-plate rises and allows the lower pawl to close the valve on the down stroke.
[25]
FIG. 17
The valves, as can easily be seen, are very simple affairs, the steam pressure in the steam chest holding the valve either open or shut until it is moved by the pawl on the rock-shaft. The amount of travel on the rock-shaft is fixed by the design, but the proportionate travel above and below the horizontal is controlled by the length of the connecting-rods from the crank to the rock-shaft. There are besides the mechanical valve-gear the electric and hydraulic, but these will be left for a future article.
The Governor
The speed of the machine is controlled by the automatic opening and closing of the admission valves under the control of a governor (Fig. 19), of the spring-weighted type attached directly to the top end of the turbine shaft. The action of the governor depends on the balance of force exerted by the spring, and the centrifugal effort of the rectangular-shaped weights at the lower end; the moving weights acting through the knife-edge suspension tend to pull down the lever against the resistance of the heavy helical spring. The governor is provided with an auxiliary spring on the outside of the governor dome for varying the speed [28]while synchronizing. The tension of the auxiliary spring is regulated by a small motor wired to the switchboard. This spring should be used only to correct slight changes in speed. Any marked change should be corrected by the use of the large hexagonal nut in the upper plate of the governor frame. This nut is screwed down to increase the speed, and upward to decrease it.
The Stage Valves
Fig. 20 represents one of the several designs of stage valve, sometimes called the overload valve, the office of which is to prevent too high pressure in the first stage in case of a sudden overload, and to [29]transfer a part of the steam to a special set of expanding nozzles over the second-stage wheel. This valve is balanced by a spring of adjustable tension, and is, or can be, set to open and close within a very small predetermined range of first-stage pressure. The valve is intended to open and close instantly, and to supply or cut off steam from the second stage, without affecting the speed regulation or economy of [30]operation. If any leaking occurs past the valve it is taken care of by a drip-pipe to the third stage.
The steam which passes through the automatic stage valves and is admitted to the extra set of nozzles above the second-stage wheel acts upon this wheel just the same as the steam which passes through the regular second-stage nozzles; i.e., all the steam which goes through the machine tends to hasten its speed, or, more accurately, does work and maintains the speed of the machine.
II. SETTING THE VALVES OF THE CURTIS TURBINE[2]
[2] Contributed to Power by F. L. Johnson.
Under some conditions of service the stage valve in the Curtis turbine will not do what it is designed to do. It is usually attached to the machine in such manner that it will operate with, or a little behind, in the matter of time, the sixth valve. The machine is intended to carry full load with only the first bank of five valves in operation, with proper steam pressure and vacuum. If the steam pressure is under 150 pounds, or the vacuum is less than 28 inches, the sixth valve may operate at or near full load, and also open the stage valve and allow steam to pass to the second-stage nozzles at a much higher rate of speed than the steam which has already done some work in the first-stage wheel. The tendency is to accelerate unduly the speed of the machine. This is corrected by the governor, but the correction is usually carried too far and the machine slows down. With the stage valve in operation, at a critical point the regulation is uncertain and irregular, and its use has to be abandoned. The excess first-stage pressure will then be taken care of by the relief valve, which is an ordinary spring [32]safety valve (not pop) which allows the steam to blow into the atmosphere.
The mechanical valve-gear does not often get out of order, but sometimes the unexpected happens. The shop man may not have properly set up the nuts on the valve-stems; or may have fitted the distance bushings between the shield plates too closely; the superheat of the steam may distort the steam chest slightly and produce friction that will interfere with the regulation. If any of the valve-stems should become loose in the cross-heads they may screw themselves either in or out. If screwed out too far, the valve-stem becomes too long and the pawl in descending will, after the valve is seated, continue downward until it has broken something. If screwed in, the cross-head will be too low for the upper pawl to engage and the valve will not be opened. This second condition is not dangerous, but should be corrected. The valve-stems should be made the right length, and all check-nuts set up firmly. If for any purpose it becomes necessary to "set the valves" on a 1500-kilowatt mechanical gear, the operator should proceed in the following manner.
Setting the Valves of a 1500-Kilowatt Curtis Turbine
We will consider what is known as the "mechanical" valve-gear, with two sets of valves, one set of five valves being located on each side of the machine.
In setting the valves we should first "throw out" all pawls to avoid breakage in case the rods are not already [33]of proper length, holding the pawls out by slipping the ends of the pawl springs over the points of the pawls, as seen in Fig. 21. Then turn the machine slowly by hand until the pawls on one set of valves are at their highest point of travel, then with the valves wide open adjust the drive-rods, i.e., the rods extending from the crank to the rock-shaft, so that there is 1/32 of an inch clearance (shown dotted in Fig. 17, Chap. I) at the point of opening of the pawls when they are "in." (See Fig. 22.) Then set up the check-nuts on the drive-rod. Turn the machine slowly, until the pawls are at their lowest point of travel. Then, with the valves closed, adjust each valve-stem to give 1/32 of an inch clearance at the point of closing of the pawls when they are "in," securely locking the check-nut as each valve is set. Repeat this operation on the other side of the machine and we are ready to [34] adjust the governor-rods. (Valves cannot be set on both sides of the machine at the same time, as the pawls will not be in the same relative position, due to the angularity of the drive-rods.)
[35]
FIG. 22
Next, with the turbine running, and the synchronizing spring in mid-position, adjust the governor-rods so that the turbine will run at the normal speed of 900 revolutions per minute when working on the fifth valve, and carrying full load. The governor-rods for the other side of the turbine (controlling valves Nos. 6 to 10) should be so adjusted that the speed change between the fifth and sixth valves will not be more than three or four revolutions per minute.
The valves of these turbines are all set during the shop test and the rods trammed with an 8-inch tram. Governors are adjusted for a speed range of 2 per cent. between no load and full load (1500 kilowatt), or 4 per cent. between the mean speeds of the first and tenth valves (no load to full overload capacity).
The rods which connect the governor with the valve-gear have ordinary brass ends or heads and are adjusted by right-and-left threads and secured by lock-nuts. They are free fits on the pins which pass through the heads, and no friction is likely to occur which will interfere with the regulation, but too close work on the shield-plate bushings, or a slight warping of the steam chest, will often produce friction which will seriously impair the regulation. If it is noticed that the shield-plate shaft has any tendency to oscillate in unison with the rock-shaft which carries the pawls, it is a sure indication that the shield-plates are not as [36]free as they should be, and should be attended to. The governor-rod should be disconnected, the pawls thrown out and the pawl strings hooked over the ends.
The plates should then be rocked up and down by hand and the friction at different points noted. The horizontal rod at the back of the valve-gear may be loosened and the amount of end play of each individual shield-plate noticed and compared with the bushings on the horizontal rod at the back which binds the shield-plates together. If the plates separately are found to be perfectly free they may be each one pushed hard over to the right or left and wedged; then each bushing tried in the space between the tail-pieces of the plates. It will probably be found that the bushings are not of the right length, due to the alteration of the form of the steam chest by heat. It will generally be found also that the bushings are too short, and that the length can be corrected by very thin washers of sheet metal. It has been found in some instances that the thin bands coming with sectional pipe covering were of the right thickness.
After the length of the bushings is corrected the shield-plates may be assembled, made fast and tested by rocking them up and down, searching for signs of sticking. If none occurs, the work has been correctly done, and there will be no trouble from poor regulation due to friction of the shield-plates.
The Baffler
The water which goes to the step-bearing passes through a baffler, the latest type of which is shown by [37]Fig. 23. It is a device for restricting the flow of water or oil to the step- and guide-bearing. The amount of water necessary to float the machine and lubricate the guide-bearing having been determined by calculation and experiment, the plug is set at that point which will give the desired flow. The plug is a square-threaded worm, the length of which and the distance which it enters the barrel of the baffler determining the amount of flow. The greater the number of turns which the water must pass through in the worm the less will flow against the step-pressure.
[38]The engineers who have settled upon the flow and the pressure decided that a flow of from 4-1/2 to 5-1/2 gallons per minute and a step-pressure of from 425 to 450 pounds is correct. These factors are so dependent upon each other and upon the conditions of the step-bearing itself that they are sometimes difficult to realize in every-day work; nor is it necessary. If the machine turns freely with a lower pressure than that prescribed by the engineers, there is no reason for raising this pressure; and there is only one way of doing it without reducing the area of the step-bearing, and that is by obstructing the flow of water in the step-bearing itself.
A very common method used is that of grinding. The machine is run at about one-third speed and the step-water shut off for 15 or 20 seconds. This causes grooves and ridges on the faces of the step-bearing blocks, due to their grinding on each other, which obstruct the flow of water between the faces and thus raises the pressure. It seems a brutal way of getting a scientific result, if the result desired can be called scientific. The grooving and cutting of the step-blocks will not do any harm, and in fact they will aid in keeping the revolving parts of the machine turning about its mechanical center.
The operating engineer will be very slow to see the utility of the baffler, and when he learns, as he will sometime, that the turbine will operate equally well with a plug out as with it in the baffler, he will be inclined to remove the baffler. It is true that with one machine operating on its own pump it is possible [39]to run without the baffler, and it is also possible that in some particular case two machines having identical step-bearing pressures might be so operated. The baffler, however, serves a very important function, as described more fully as follows: It tends to steady the flow from the pump, to maintain a constant oil film as the pressure varies with the load, and when several machines are operating on the same step-bearing system it is the only means which fixes the flow to the different machines and prevents one machine from robbing the others. Therefore, even if an engineer felt inclined to remove the baffler he would be most liable to regret taking such a step.
If the water supply should fail from any cause and the step-bearing blocks rub together, no great amount of damage will result. The machine will stop if operated long under these conditions, for if steam pressure is maintained the machine will continue in operation until the buckets come into contact, and if the step-blocks are not welded together the machine may be started as soon as the water is obtained. If vibration occurs it will probably be due to the rough treatment of the step-blocks, and may be cured by homeopathic repeat-doses of grinding, say about 15 seconds each. If the step-blocks are welded a new pair should be substituted and the damaged ones refaced.
Some few experimental steps of spherical form, called "saucer" steps, have been installed with success (see Fig. 24). They seem to aid the lower guide-bearing in keeping the machine rotating about the mechanical center and reduce the wear on the guide-bearing. [40]In some instances, too, cast-iron bushings have been substituted for bronze, with marked success. There seems to be much less wear between cast-iron and babbitt metal than between bronze and babbitt metal. The matter is really worth a thorough investigation.
III. ALLIS-CHALMERS COMPANY STEAM TURBINE
In Fig. 25 may be seen the interior construction of the steam turbine built by Allis-Chalmers Co., of Milwaukee, Wis., which is, in general, the same as the well-known Parsons type. This is a plan view showing the rotor resting in position in the lower half of its casing.
Fig. 26 is a longitudinal cross-section cut of rotor and both lower and upper casing. Referring to Fig. 26 the steam comes in from the steam-pipe at C and passes through the main throttle or regulating valve D, which is a balanced valve operated by the governor. Steam enters the cylinder through the passage E.
Turning in the direction of the bearing A, it passes through alternate stationary and revolving rows of [42]blades, finally emerging at F and going out by way of G to the condenser or to atmosphere. H, J, and K represent three stages of blading. L, M, and Z are the balance pistons which counterbalance the thrust on the stages H, J, and K. O and Q are equalizing pipes, and for the low-pressure balance piston similar provision is made by means of passages (not shown) through the body of the spindle.
R indicates a small adjustable collar placed inside the housing of the main bearing B to hold the spindle in a position where there will be such a clearance between the rings of the balance pistons and those of the cylinder as to reduce the leakage of steam to a minimum and at the same time prevent actual contact under varying temperature.
At S and T are glands which provide a water seal against the inleakage of air and the outleakage of steam. U represents the flexible coupling to the generator. V is the overload or by-pass valve used for admitting steam to intermediate stage of the turbine. [43]W is the supplementary cylinder to contain the low-pressure balance piston. X and Y are reference letters used in text of this chapter to refer to equalizing of steam pressure on the low-pressure stage of the turbine. The first point to study in this construction is the arrangement of "dummies" L, M, and Z. These dummy rings serve as baffles to prevent steam leakage past the pistons, and their contact at high velocity means not only their own destruction, but also damage to or the wrecking of surrounding parts. A simple but effective method of eliminating this difficulty is found in the arrangement illustrated in this figure. The two smaller balance pistons, L and M, are allowed to remain on the high-pressure end; but the largest piston, Z, is placed upon the low-pressure end of the rotor immediately behind the last ring of blades, and working inside of the supplementary cylinder W. Being backed up by the body of the spindle, there is ample stiffness to prevent warping. This balance piston, which may also be plainly seen in Fig. 25, receives its steam pressure from the same point as the piston M, but the steam pressure, equalized with that on the third stage of the blading, X, is through holes in the webs of the blade-carrying rings. Entrance to these holes is through the small annular opening in the rotor, visible in Fig. 25 between the second and third barrels. As, in consequence of varying temperatures, there is an appreciable difference in the endwise expansion of the spindle and cylinder, the baffling rings in the low-pressure balance piston are so made as to allow for this difference. [44]The high-pressure end of the spindle being held by the collar bearing, the difference in expansion manifests itself at the low-pressure end. The labyrinth packing of the high-pressure and intermediate pistons has a small axial and large radial clearance, whereas the labyrinth packing of the piston Z has, vice versa, a small radial and large axial clearance. Elimination of causes of trouble with the low-pressure balance piston not only makes it possible to reduce the diameter of the cylinder, and prevent distortion, but enables the entire spindle to be run with sufficiently small clearance to obviate any excessive leakage of steam.
Detail of Blade Construction
In this construction the blades are cut from drawn stock, so that at its root it is of angular dovetail shape, while at its tip there is a projection. To hold the roots of the blades firmly, a foundation ring is provided, as shown at A in Fig. 27. This foundation ring is first formed to a circle of the proper diameter, and then slots are cut in it. These slots are accurately spaced and inclined to give the right pitch and angle to the blades (Fig. 28), and are of dovetail shape to receive the roots of the blades. The tips of the blades are substantially bound together and protected by means of a channel-shaped shroud ring, illustrated in Fig. 31 and at B in Fig. 27. Fig. 31 shows the cylinder blading separate, and Fig. 27 shows both with the shrouding. In these, holes are punched to receive [45] the projections on the tips of the blades, which are rivetted over pneumatically.
[46]

FIG. 27
The foundation rings themselves are of dovetail shape in cross-section, and, after receiving the roots of the blades, are inserted in dovetailed grooves in the cylinder and rotor, where they are firmly held in place by keypieces, as may be seen at C in Fig. 27. Each keypiece, when driven in place, is upset into an undercut groove, indicated by D in Fig. 27, thereby positively locking the whole structure together. Each separate blade is firmly secured by the dovetail shape of the root, which is held between the corresponding dovetailed slot in the foundation ring and the undercut side of the groove.
Fig. 29, from a photograph of blading fitted in a turbine, illustrates the construction, besides showing the uniform spacing and angles of the blades.
The obviously thin flanges of the shroud rings are purposely made in that way, so that, in case of accidental contact between revolving and stationary parts, they will wear away enough to prevent the [47] blades from being ripped out. This protection, however, is such that to rip them out a whole half ring of blades must be sheared off at the roots. The strength of the blading, therefore, depends not upon the strength of an individual blade, but upon the combined shearing strength of an entire ring of blades.
[48]
FIG. 30
The blading is made up and inserted in half rings, and Fig. 30 shows two rings of different sizes ready to be put in place. Fig. 31 shows a number of rows of blading inserted in the cylinder of an Allis-Chalmers steam turbine, and Fig. 32 gives view of blading in the same turbine after nearly three years' running.
The Governor
Next in importance to the difference in blading and balance piston construction, is the governing mechanism [49]used with these machines. This follows the well-known Hartung type, which has been brought into prominence, heretofore largely in connection with hydraulic turbines; and the governor, driven directly from the turbine shaft by means of cut gears working in an oil bath, is required to operate the small, balanced oil relay-valve only, while the two steam valves, main and by-pass (or overload), are controlled by an [50]oil pressure of about 20 pounds per square inch, acting upon a piston of suitable size. In view of the fact that a turbine by-pass valve opens only when the unit is required to develop overload, or the vacuum fails, a good feature of this governing mechanism is that the valve referred to can be kept constantly in motion, thereby preventing sticking in an emergency, even though it be actually called into action only at long intervals. Another feature of importance [51]is that the oil supply to the bearings, as well as that to the governor, can be interconnected so that the governor will automatically shut off the steam if the oil supply fails and endangers the bearings. This mechanism is also so proportioned that, while responding quickly to variations in load, its sensitiveness is kept within such bounds as to secure the best results in the parallel operation of alternators. The governor can be adjusted for speed while the turbine is in operation, thereby facilitating the synchronizing of alternators and dividing the load as may be desired.
In order to provide for any possible accidental derangement of the main governing mechanism, an entirely separate safety or over-speed governor is furnished. This governor is driven directly by the turbine shaft without the intervention of gearing, and is so arranged and adjusted that, if the turbine should reach a predetermined speed above that for which the main governor is set, the safety governor will come into action and trip a valve which entirely shuts off the steam supply, bringing the turbine to a stop.
Lubrication
Lubrication of the four bearings, which are of the self-adjusting, ball and socket pattern, is effected by supplying an abundance of oil to the middle of each bearing and allowing it to flow out at the ends. The oil is passed through a tubular cooler, having water circulation, and pumped back to the bearings. Fig. 33 shows the entire arrangement graphically and much more clearly than can be explained in words. [53] The oil is circulated by a pump directly operated from the turbine, except where the power-house is provided with a central oiling system. Particular stress is laid by the builders upon the fact that it is not necessary to supply the bearings with oil under pressure, but only at a head sufficient to enable it to run to and through the bearings; this head never exceeding a few feet. With each turbine is installed a separate direct-acting steam pump for circulating oil for starting up. This will be referred to again under the head of operating.
[52]
FIG. 33
Generator
The turbo-generator, which constitutes the electrical end of this unit, is totally enclosed to provide for noiseless operation, and forced ventilation is secured by means of a small fan carried by the shaft on each end of the rotor. The air is taken in at the ends of the generator, passes through the fans and is discharged over the end connections of the armature coils into the bottom of the machine, whence it passes through the ventilating ducts of the core to an opening at the top. The field core is, according to size, built up either of steel disks, each in one piece, or of steel forgings, so as to give high magnetic permeability and great strength. The coils are placed in radial slots, thereby avoiding side pressure on the slot insulation and the complex stresses resulting from centrifugal force, which, in these rotors, acts normal to the flat surface of the strip windings.
Operation
As practically no adjustments are necessary when these units are in operation, the greater part of the attention required by them is involved in starting up and shutting down, which may be described in detail as follows:
To Start Up
First, the auxiliary oil pump is set going, and this is speeded up until the oil pressure shows a hight sufficient to lift the inlet valve and oil is flowing steadily at the vents on all bearings. The oil pressure then shows about 20 to 25 pounds on the "Relay Oil" gage, and 2 to 4 pounds on the "Bearing Oil" gage. Next the throttle is opened, without admitting sufficient steam to the turbine to cause the spindle to turn, and it is seen that the steam exhausts freely into the atmosphere, also that the high-pressure end of the turbine expands freely in its guides. Water having been allowed to blow out through the steam-chest drains, the drains are closed and steam is permitted to continue flowing through the turbine not less than a half an hour (unless the turbine is warm to start with, when this period may be reduced) still without turning the spindle. After this it is advisable to shut off steam and let the turbine stand ten minutes, so as to warm thoroughly, during which time the governor parts may be oiled and any air which may have accumulated in the oil cylinder above the inlet valve blown off. Then the throttle should be opened sufficiently to start the turbine spindle to revolving [55]very slowly and the machine allowed to run in this way for five minutes.
Successive operations may be mentioned briefly as admitting water to the oil cooler; bringing the turbine up to speed, at the same time slowing down the auxiliary oil pump and watching that the oil pressures are kept up by the rotary oil pump on the turbine; turning the water on to the glands very gradually and, before putting on vacuum, making sure that there is just enough water to seal these glands properly; and starting the vacuum gradually just before putting on the load. These conditions having been complied with, the operator next turns his attention to the generator, putting on the field current, synchronizing carefully and building up the load on the unit gradually.
The principal precautions to be observed are not to start without warming up properly, to make sure that oil is flowing freely through the bearings, that vacuum is not put on until the water glands seal, and to avoid running on vacuum without load on the turbine.
In Operation
In operation all that is necessary is to watch the steam pressure at the "Throttle" and "Inlet" gages, to see that neither this pressure nor the steam temperature varies much; to keep the vacuum constant, as well as pressures on the water glands and those indicated by the "Relay Oil" and "Bearing Oil" gages; to take care that the temperatures of the oil [56]flowing to and from the bearings does not exceed 135 degrees Fahr. (at which temperature the hand can comfortably grasp the copper oil-return pipes); to see that oil flows freely at all vents on the bearings, and that the governor parts are periodically oiled. So far as the generator is concerned, it is only essential to follow the practice common in all electric power plant operation, which need not be reviewed here.
Stopping the turbine is practically the reverse of starting, the successive steps being as follows: starting the auxiliary oil pump, freeing it of water and allowing it to run slowly; removing the load gradually; breaking the vacuum when the load is almost zero, shutting off the condenser injection and taking care that the steam exhausts freely into the atmosphere; shutting off the gland water when the load and vacuum are off; pulling the automatic stop to trip the valve and shut off steam and, as the speed of the turbine decreases, speeding up the auxiliary oil pump to maintain pressure on the bearings; then, when the turbine has stopped, shutting down the auxiliary oil pump, turning off the cooling water, opening the steam chest drains and slightly oiling the oil inlet valve-stem. During these operations the chief particulars to be heeded are: not to shut off the steam before starting the auxiliary oil pump nor before the vacuum is broken, and not to shut off the gland water with vacuum on the turbine. The automatic stop should also remain unhooked until the turbine is about to be started up again.
General
Water used in the glands of the turbine must be free from scale-forming impurities and should be delivered at the turbine under a steady pressure of not less than 15 pounds. The pressure in the glands will vary from 4 to 10 pounds. This water may be warm. In the use of water for the cooling coils and of oil for the lubricating system, nothing more is required than ordinary good sense dictates. An absolutely pure mineral oil must be supplied, of a non-foaming character, and it should be kept free through filtering from any impurities.
The above refers particularly to Allis-Chalmers turbines of the type ordinarily used for power service. For turbines built to be run non-condensing, the part relating to vacuum does not, of course, apply.
IV. WESTINGHOUSE-PARSONS STEAM TURBINE
While the steam turbine is simple in design and construction and does not require constant tinkering and adjustment of valve gears or taking up of wear in the running parts, it is like any other piece of fine machinery in that it should receive intelligent and careful attention from the operator by inspection of the working parts that are not at all times in plain view. Any piece of machinery, no matter how simple and durable, if neglected or abused will in time come to grief, and the higher the class of the machine the more is this true.
Any engineer who is capable of running and intelligently taking care of a reciprocating engine can run and take care of a turbine, but if he is to be anything more than a starter and stopper, it is necessary that he should know what is inside of the casing, what must be done and avoided to prevent derangement, and to keep the machine in continued and efficient operation.
In the steam turbine the steam instead of being expanded against a piston is made to expand against and to get up velocity in itself. The jet of steam is then made to impinge against vanes or to react against the moving orifice from which it issues, in either of [59]which cases its velocity and energy are more or less completely abstracted and appropriated by the revolving member. The Parsons turbine utilizes a combination of these two methods.
Fig. 34 is a sectional view of the standard Westinghouse-Parsons single-flow turbine. A photograph of the rotor R R R is reproduced in Fig. 35, while in Fig. 36 a section of the blading is shown upon a larger scale. Between the rows of the blading upon the rotor extend similar rows of stationary blades attached to the casing or stator. The steam entering at A (Fig. 34), fills the circular space surrounding the rotor and passes first through a row of stationary blades, 1 (Fig. 37), expanding from the initial pressure P to the slightly lower pressure P1, and attaining by that expansion a velocity with which it is directed upon the moving blade 2. In passing through this row of blades it is further expanded from pressure P1 to P2 and helps to push the moving blades along by the reaction of the force with which it issues therefrom. Impinging upon the second row of stationary blades 3, the direction of flow is diverted so as to make it impinge at a favorable angle upon the second row of revolving blades 4, and the action is continued until the steam is expanded to the pressure of the condenser or of the medium into which the turbine finally exhausts. As the expansion proceeds, the passages are made larger by increasing the length of the blades and the diameter of the drums upon which they are carried in order to accommodate the increasing volume.
[61]
FIG. 35
[62]
FIG. 36
[63]

FIG. 37
It is not necessary that the blades shall run close together, and the axial clearance, that is the space lengthwise of the turbine between the revolving and the stationary blades, varies from 1/8 to 1/2 inch; but in order that there may not be excessive leakage over the tops of the blades, as shown, very much exaggerated, in Fig. 38, the radial clearance, that is, the clearance between the tops of the moving blades and the casing, and between the ends of the stationary blades and the shell of the rotor, must be kept down to the lowest practical amount, and varies, according to the size of the machine and length of blade, from about 0.025 to 0.125 of an inch.
In the passage A (Fig. 34) exists the initial pressure; in the passage B the pressure after the steam has passed the first section or diameter of the rotor; in the passage C after it has passed the second section. The pressure acting upon the exposed faces of the rows of vanes would crowd the rotor to the left. They are therefore balanced by pistons or "dummies" P P P revolving with the shaft and exposing in the annular spaces B1 and C1 the same areas [64]as those of the blade sections which they are designed to balance. The same pressure is maintained in B1 as in B, and in C1 as in C by connecting them with equalizing pipes E E. The third equalizing pipe [65]connects the back or right-hand side of the largest dummy with the exhaust passage so that the same pressure exists upon it as exists upon the exhaust end of the rotor. These dummy pistons are shown at the near end of the rotor in Fig. 35. They are grooved so as to form a labyrinth packing, the face of the casing against which they run being grooved and brass strips inserted, as shown in Fig. 39. The dummy pistons prevent leakage from A, B1 and C1 to the condenser, and must, of course, run as closely as practicable to the rings in the casing, the actual clearance being from about 0.005 to 0.015 of an inch, again depending on the size of the machine.
The axial adjustment is controlled by the device shown at T in Fig. 34 and on a larger scale in Fig. 40. The thrust bearing consists of two parts, T1 T2. Each consists of a cast-iron body in which are placed brass collars. These collars fit into grooves C, turned in the shaft as shown. The halves of the block are brought into position by means of screws S1 S2 acting on levers L1 L2 and mounted in the bearing pedestal and cover. The screws are provided with graduated heads which permit the respective halves of the thrust bearing to be set within one one-thousandth of an inch.
The upper screw S2 is set so that when the rotor[66] exerts a light pressure against it through the thrust block and lever the grooves in the balance pistons are just unable to come in contact with the dummy strips in the cylinder. The lower screw S1 is then adjusted to permit about 0.008 to 0.010 of an inch freedom for the collar between the grooves of the thrust bearing.
These bearings are carefully adjusted before the machine leaves the shop, and to prevent either accidental or unauthorized changes of their adjustment the adjusting screw heads are locked by the method shown in Fig. 40. The screw cannot be revolved without sliding back the latch L3. To do this the pin P4 must be withdrawn, for which purpose the bearing cover must be removed.
In general this adjustment should not be changed except when there has been some wear of the collars in the thrust bearing; nevertheless, it is a wise precaution to go over the adjustment at intervals. The method of doing this is as follows: The machine should have been in operation for some time so as to be well and evenly heated and should be run at a reduced speed, say 10 per cent. of the normal, during the actual operation of making the adjustment. Adjust the upper screw which, if tightened, would push the spindle away from the thrust bearing toward the exhaust. Find a position for this so that when the other screw is tightened the balance pistons can just be heard to touch, and so the least change of position inward of the upper screw will cause the contact to [67]cease. To hear if the balance pistons are touching, a short piece of hardwood should be placed against the cylinder casing near the balance piston. If the [68] ear is applied to the other end of the piece of wood the contact of the balance pistons can be very easily detected. The lower screw should then be loosened and the upper screw advanced from five to fifteen one-thousandths, according to the machine, at which position the latter may be considered to be set. The lower screw should then be advanced until the under half of the thrust bearing pushes the rotor against the other half of the thrust bearing, and from this position it should be pushed back ten or more one-thousandths, to give freedom for the rotor between the thrusts, and locked. A certain amount of care should be exercised in setting the dummies, to avoid straining the parts and thus obtain a false setting.
The object in view is to have the grooves of the balance pistons running as close as possible to the collars in the cylinder, but without danger of their coming in actual contact, and to allow as little freedom as possible in the thrust bearing itself, but enough to be sure that it will not heat. The turbine rotor itself has scarcely any end thrust, so that all the thrust bearing has to do is to maintain the above-prescribed adjustment.
The blades are so gaged that at all loads the rotor has a very light but positive thrust toward the running face of the dummy strips, thus maintaining the proper clearance at the dummies as determined by the setting of the proper screw adjustment.
Main Bearings
The bearings which support the rotor are shown at F F in Fig. 34 and in detail in Fig. 41. The bearing proper consists of a brass tube B with proper oil grooves. It has a dowel arm L which fits into a corresponding recess in the bearing cover and which prevents the bearing from turning. On this tube are three concentric tubes, C D E, each fitting over the other with some clearance so that the shaft is free to move slightly in any direction. These tubes are held in place by the nut F, and this nut, in turn, is held by the small set-screw G. The bearing with the surrounding tubes is placed inside of the cast-iron shell A, which rests in the bearing pedestal on the block and liner H. The packing ring M prevents the leakage of oil past the bearing. Oil enters the chamber at one end of the bearing at the top and passes through the oil grooves, lubricating the journal, and then out into the reservoir under the bearing. The oil also fills the clearance between the tubes and forms a cushion, which dampens any tendency to vibration.
The bearings, being supported by the blocks or "pads" H, are self-alining. Under these pads are liners 5, 10, 20, and 50 thousandths in thickness. By means of these liners the rotor may be set in its proper running position relative to the stator. This operation is quite simple. Remove the liners from under one bearing pad and place them under the opposite pad until a blade touch is obtained by turning the rotor over by hand. After a touch has been obtained [70]on the top, bottom, and both sides, the total radial blade clearance will be known to equal the thickness of the liners transferred. The position of the rotor [71]is then so adjusted that the radial blade clearance is equalized when the turbine is at operating temperature.
On turbines running at 1800 revolutions per minute or under, a split babbitted bearing is used, as shown in Figs. 42a and 42b. These bearings are self-alining and have the same liner adjustment as the concentric-sleeve bearings just described. Oil is supplied through a hole D in the lower liner pad, and is carried to the oil groove F through the tubes E E. The oil flows from the middle of this bearing to both ends instead of from one end to the other, as in the other type.
Packing Glands
Where the shaft passes through the casing at either end it issues from a chamber in which there exists a vacuum. It is necessary to pack the shaft at these points, therefore, against the atmospheric pressure, and this is done by means of a water-gland packing W W (Fig. 34). Upon the shaft in Fig. 35, just in front of the dummy pistons, will be seen a runner of this packing gland, which runner is shown upon a larger scale and from a different direction in Fig. 43. To get into the casing the air would have to enter the guard at A (Fig. 44), pass over the projecting rings B, the function of which is to throw off any water which may be creeping along the shaft by centrifugal force into the surrounding space C, whence it escapes by the drip pipe D, hence over the five rings of the labyrinth packing E and thence over the top of the revolving blade wheel, it being apparent from Fig. 43 [72]that there is no way for the air to pass by without going up over the top of the blades; but water is admitted to the centrally grooved space through the [73]pipe shown, and is revolved with the wheel at such velocity that the pressure due to centrifugal force exceeds that of the atmosphere, so that it is impossible [74]for the air to force the water aside and leak in over the tips of the blades, while the action of the runner in throwing the water out would relieve the pressure at the shafts and avoid the tendency of the water [75] to leak outward through the labyrinth packing either into the vacuum or the atmosphere.
[76]

FIG. 44
The water should come to the glands under a head of about 10 feet, or a pressure of about 5 pounds, and be connected in such a way that this pressure may be uninterruptedly maintained. Its temperature must be lower than the temperature due to the vacuum within the turbine, or it will evaporate readily and find its way into the turbine in the form of steam.
In any case a small amount of the steaming water will pass by the gland collars into the turbine, so that if the condensed steam is to be returned to the boilers the water used in the glands must be of such character that it may be safely used for feed water. But whether the water so used is to be returned to the [77]boilers or not it should never contain an excessive amount of lime or solid matter, as a certain amount of evaporation is continually going on in the glands which will result in the deposit of scale and require frequent taking apart for cleaning.
When there is an ample supply of good, clean water the glands may be packed as in Fig. 45, the standpipe supplying the necessary head and the supply valve being opened sufficiently to maintain a small stream at the overflow. When water is expensive and the overflow must be avoided, a small float may be used as in Fig. 46, the ordinary tank used by plumbers for closets, etc., serving the purpose admirably.
When the same water that is supplied to the glands is used for the oil-cooling coils, which will be [78]described in detail later, the coils may be attached to either of the above arrangements as shown in Fig. 47.
When the only available supply of pure water is that for the boiler feed, and the condensed steam is pumped directly back to the boiler, as shown in Fig. 48, the delivery from the condensed-water pumps may be carried to an elevation 10 feet above the axis of the glands, where a tank should be provided of sufficient capacity that the water may have time to cool considerably before being used. In most of these cases, if so desired, the oil-cooling water may come from the circulating pumps of the condenser, provided there is sufficient pressure to produce circulation, as is also shown in Fig. 48.
When the turbine is required to exhaust against a back pressure of one or two pounds a slightly different arrangement of piping must be made. The water in this case must be allowed to circulate through the [79]glands in order to keep the temperature below 212 degrees Fahrenheit. If this is not done the water in the glands will absorb heat from the main castings of the machine and will evaporate. This evaporation will make the glands appear as though they were leaking badly. In reality it is nothing more than the water in the glands boiling, but it is nevertheless equally objectionable. This may be overcome by the arrangement shown in Fig. 49, where two connections and valves are furnished at M and N, which drain away to any suitable tank or sewer. These valves are open just enough to keep sufficient circulation so that there is no evaporation going on, which is evidenced by steam coming out as though the [80]glands were leaking. These circulating valves may be used with any of the arrangements above described.
The Governor
On the right-hand end of the main shaft in Fig. 34 there will be seen a worm gear driving the governor. This is shown on a larger scale at A (Fig. 50). At the left of the worm gear is a bevel gear driving the spindle D of the governor, and at the right an eccentric which gives a vibratory motion to the lever F. The crank C upon the end of the shaft operates the oil pump. The speed of the turbine is controlled by admitting the steam in puffs of greater or less duration according to the load. The lever F, having its fulcrum in the collar surrounding the shaft, operates with each vibration of the eccentric the pilot valve. The valve is explained in detail later.
[81]This form of governor has been superseded by an improved type, but so many have been made that it will be well to describe its construction and adjustment. [82]The two balls W W (Fig. 50) are mounted on the ends of bell cranks N, which rest on knife edges. The other end of the bell cranks carry rollers upon which rest a plate P, which serves as a support for the governor spring S. They are also attached by links to a yoke and sleeve E which acts as a fulcrum for the lever F. The governor is regulated by means of the spring S resting on the plate P and compressed by a large nut G on the upper end of the governor spindle, which nut turns on a threaded quill J, held in place by the nut H on the end of the governor spindle and is held tight by the lock-nut K. To change the compression of the spring and thereby the speed of the turbine the lock-nut must first be loosened and the hand-nut raised to lower the speed or lowered to raise the speed as the case may be. This operation may be accomplished while the machine is either running or at rest.
The plate P rests upon ball bearings so that by simply bringing pressure to bear upon the hand-wheel, which is a part of the quill J, the spring and lock-nut may be held at rest and adjusted while the rest of the turbine remains unaffected. Another lever is mounted upon the yoke E on the pin shown at I, the other end of which is fastened to the piston of a dash-pot so as to dampen the governor against vibration. Under the yoke E will be noticed a small trigger M which is used to hold the governor in the full-load position when the turbine is at rest.
The throwing out of the weights elevates the sleeve E, carrying with it the collar C, which is spanned by [83]the lever F upon the shaft H. The later turbines are provided with an improved form of governor operating on the same principle, but embodying several important features. First, the spindle sleeve is integral with the governor yoke, and the whole rotates about a vertical stationary spindle, so that two motions are encountered—a rotary motion and an up and down motion, according to the position taken by the governor. This spiral motion almost entirely eliminates the effect of friction of rest, and thereby enhances the sensitiveness of the governor. Second, the governor weights move outward on a parallel motion opposed directly by spring thrust, thus relieving the fulcrum entirely of spring thrust. Third, the lay shaft driving the governor oil pump and reciprocator is located underneath the main turbine shaft, so that the rotor may be readily removed without in the least disturbing the governor adjustment.
The Valve-Gear
The valve-gear is shown in section in Fig. 51, the main admission being shown at V1 at the right, and the secondary V2 at the left of the steam inlet. The pilot valve F receives a constant reciprocating motion from the eccentric upon the layshaft of the turbine through the lever F (Fig. 50). These reciprocations run from 150 to 180 per minute. The space beneath the piston C is in communication with the large steam chest, where exists the initial pressure through the port A; the admission of steam to the piston C being [84]controlled by a needle valve B. The pilot valve connects the port E, leading from the space beneath the piston to an exhaust port I.
When the pilot valve is closed, the pressures can accumulate beneath the piston C and raise the main admission valve from its seat. When the pilot valve opens, the pressure beneath the piston is relieved and it is seated by the helical spring above. If the fulcrum E (Fig. 50) of the lever F were fixed the admission would be of an equal and fixed duration. But if the governor raises the fulcrum E, the pilot valve F (Fig. 51) will be lowered, changing the relations of the openings with the working edges of the ports.
The seating of the main admission valve is cushioned by the dashpot, the piston of which is shown in section at G (Fig. 51). The valve may be opened by hand by means of the lever K, to see if it is perfectly free.
The secondary valve is somewhat different in its action. Steam is admitted to both sides of its actuating piston through the needle valves M M, and the chamber from which this steam is taken is connected with the under side of the main admission valve, so that no steam can reach the actuating piston of the secondary valve until it has passed through the primary valve. When the pilot valve is closed, the pressures equalize above and below the piston N and the valve remains upon its seat. When the load upon the turbine exceeds its rated capacity, the pilot valve moves upward so as to connect the space above the piston with the exhaust L, relieving the pressure [85]upon the upper side and allowing the greater pressure below to force the valve open, which admits steam to the secondary stage of the turbine.
[86]It would do no good to admit more steam to the first stage, for at the rated capacity that stage is taking all the steam for which the blade area will afford a passage. The port connecting the upper side of the piston N with the exhaust may be permanently closed by means of the hand valve Q, to be found on the side of the secondary pilot valve chest, thus cutting the secondary valve entirely out of action. No dashpot is necessary on this valve, the compression of the steam in the chamber W by the fall of the piston being sufficient to avoid shock.
The timing of the secondary valve is adjusted by raising or lowering the pilot valve by means of the adjustment provided. It should open soon enough so that there will not be an appreciable drop in speed before the valve comes into play. The economy of the machine will be impaired if the valve is allowed to open too soon.
Safety Stop Governor
This device is mounted on the governor end of the turbine shaft, as shown in Figs. 52 and 53. When the speed reaches a predetermined limit, the plunger A, having its center of gravity slightly displaced from the center of rotation of the shaft, is thrown radially outward and strikes the lever B. It will easily be understood that when the plunger starts outward, the resistance of spring C is rapidly overcome, since the centrifugal force increases as the square of the radius, or in this case the eccentricity of the center of gravity relative to the center of rotation. Hence, the lever is struck [87]a sharp blow. This releases the trip E on the outside of the governor casing, and so opens the steam valve F, which releases steam from beneath the actuating piston of a quick-closing throttle valve, located in the steam line. Thus, within a period of usually less than one second, the steam is entirely shut off from the turbine when the speed has exceeded 7 or 8 per cent of the normal.
The Oiling System
Mounted on the end of the bedplate is the oil pump, operated from the main shaft of the turbine as previously stated. This may be of the plunger type shown in Fig. 54, or upon the latest turbine, the rotary type shown in Fig. 55. Around the bedplate are located the oil-cooling coils, the oil strainer, the oil reservoir and the oil pipings to the bearing.
[88]The oil reservoir, cooler, and piping are all outside the machine and easily accessible for cleaning. Usually a corrugated-steel floor plate covers all this apparatus, so that it will not be unsightly and accumulate dirt, particularly when the turbine is installed, so that all this apparatus is below the floor level; i.e., when the top of the bedplate comes flush with the floor line. [89]In cases where the turbine is set higher, a casing is usually built around this material so that it can be easily removed, and forms a platform alongside the machine.
[90]
FIG. 55
[91]
FIG. 56
The oil cooler, shown in Fig. 56, is of the counter-current type, the water entering at A and leaving at B, oil entering at C (opening not shown) and leaving at D. The coils are of seamless drawn copper, and attached to the cover by coupling the nut. The water manifold F is divided into compartments by transverse [92] ribs, each compartment connecting the inlet of each coil with the outlet of the preceding coil, thus placing all coils in series. These coils are removable in one piece with the coverplate without disturbing the rest of the oil piping.
Blading
The blades are drawn from a rod consisting of a steel core coated with copper so intimately connected with the other metal that when the bar is drawn to the section required for the blading, the exterior coating drawn with the rest of the bar forms a covering of uniform thickness as shown in Fig. 57. The bar after being drawn through the correct section is cut into suitable lengths punched as at A (Fig. 58), near the top of the blade, and has a groove shown at B (Fig. 59), near the root, stamped in its concave face, while the blade is being cut to length and punched. The blades are then set into grooves [93]cut into the rotor drum or the concave surface of the casing, and spacing or packing pieces C (Fig. 59) placed between them. These spacing pieces are of soft iron and of the form which is desired that the passage between the blades shall take. The groove made upon the inner face of the blade is sufficiently near to the root to be covered by this spacing piece. When the groove has been filled the soft-iron pieces are calked or spread so as to hold the blades firmly in place. A wire of comma section, as shown at A (Fig. 59), is then strung through the punches near the outer ends of the blades and upset or turned over as shown at the right in Fig. 58. This upsetting is done by a tool which shears the tail of the comma at the proper width between the blades. The [94]bent-down portion on either side of the blade holds it rigidly in position and the portion retained within the width of the blade would retain the blade in its [95]radial position should it become loosened or broken off at the root. This comma lashing, as it is called, takes up a small proportion only of the blade length or projection and makes a job which is surprisingly stiff and rigid, and yet which yields in case of serious disturbance rather than to maintain a contact which would result in its own fusing or the destruction of some more important member.
Starting Up the Turbine
When starting up the turbine for the first time, or after any extended period of idleness, special care must be taken to see that everything is in good condition and that all parts of the machine are clean and free from injury. The oil piping should be thoroughly inspected and cleaned out if there is any accumulation of dirt. The oil reservoirs must be very carefully wiped out and minutely examined for the presence of any grit. (Avoid using cotton waste for this, as a considerable quantity of lint is almost sure to be left behind and this will clog up the oil passages in the bearings and strainer.)
The pilot valves should be removed from the barrel and wiped off, and the barrels themselves cleaned out by pushing a soft cloth through them with a piece of wood. In no case should any metal be used.
If the turbine has been in a place where there was dirt or where there has been much dust blowing around, the bearings should be removed from the spindle and taken apart and thoroughly cleaned. With care this can be done without removing the spindle from the [96]cylinder, by taking off the bearing covers and very carefully lifting the weight of the spindle off the bearings, then sliding back the bearings. It is best to lift the spindle by means of jacks and a rope sling, as, if a crane is used, there is great danger of lifting the spindle too high and thereby straining it or injuring the blades. After all the parts have been carefully gone over and cleaned, the oil for the bearing lubrication should be put into the reservoirs by pouring it into the governor gear case G (Fig. 34). Enough oil should be put in so that when the governor, gear case, and all the bearing-supply pipes are full, the supply to the oil pump is well covered.
Special care should be taken so that no grit gets into the oil when pouring it into the machine. Considerable trouble may be saved in this respect by pouring the oil through cloth.
A very careful inspection of the steam piping is necessary before the turbine is run. If possible it should be blown out by steam from the boilers before it is finally connected to the turbine. Considerable annoyance may result by neglecting this precaution, from particles of scale, red lead, gasket, etc., out of the steam pipe, closing up the passages of the guide blades.
When starting up, always begin to revolve the spindle without vacuum being on the turbine. After the spindle is turning slowly, bring the vacuum up. The reason for this is, that when the turbine is standing still, the glands do not pack and air in considerable quantity will rush through the glands and down through the exhaust pipe. This sometimes has the [97]effect of unequal cooling. In case the turbine is used in conjunction with its own separate condenser, the circulating pump may be started up, then the turbine revolved, and afterward the air pump put in operation; then, last, put the turbine up to speed. In cases, however, where the turbine exhausts into the same condenser with other machinery and the condenser is therefore already in operation, the valve between the turbine and the condenser system should be kept closed until after the turbine is revolved, the turbine in the meantime exhausting through the relief valve to atmosphere.
Care must always be taken to see that the turbine is properly warmed up before being caused to revolve, but in cases where high superheat is employed always revolve the turbine just as soon as it is moderately hot, and before it has time to become exposed to superheat.
In the case of highly superheated steam, it is not undesirable to provide a connection in the steam line by means of which the turbine may be started up with saturated steam and the superheat gradually applied after the shaft has been permitted to revolve.
For warming up, it is usual practice to set the governor on the trigger (see Fig. 50) and open the throttle valve to allow the entrance of a small amount of steam.
It is always well to let the turbine operate at a reduced speed for a time, until there is assurance that the condenser and auxiliaries are in proper working order, that the oil pump is working properly, and [98]that there is no sticking in the governor or the valve gear.
After the turbine is up to speed and on the governor, it is well to count the speed by counting the strokes of the pump rod, as it is possible that the adjustment of the governor may have become changed while the machine has been idle. It is well at this time, while there is no load on the turbine, to be sure that the governor controls the machine with the throttle wide open. It might be that the main poppet valve has sustained some injury not evident on inspection, or was leaking badly. Should there be some such defect, steps should be taken to regrind the valve to its seat at the first opportunity.
On the larger machines an auxiliary oil pump is always furnished. This should be used before starting up, so as to establish the oil circulation before the turbine is revolved. After the turbine has reached speed, and the main oil pump is found to be working properly, it should be possible to take this pump out of service, and start it again only when the turbine is about to be shut down.
If possible, the load should be thrown on gradually to obviate a sudden, heavy demand upon the boiler, with its sometimes attendant priming and rush of water into the steam pipe, which is very apt to take place if the load is thrown on too suddenly. A slug of water will have the effect of slowing down the turbine to a considerable extent, causing some annoyance. There is not likely to be the danger of the damage that is almost sure to occur in the reciprocating [99]engine, but at the same time it is well to avoid this as much as possible. A slug of water is obviously more dangerous when superheated steam is being employed, owing to the extreme temperature changes possible.
Running
While the turbine is running, it should have a certain amount of careful attention. This, of course, does not mean that the engineer must stand over it every minute of the day, but he must frequently inspect such parts as the lubricators, the oiling system, the water supply to the glands and the oil-cooling coil, the pilot valve, etc. He must see that the oil is up in the reservoir and showing in the gage glass provided for that purpose, and that the oil is flowing freely through the bearings, by opening the pet cocks in the top of the bearing covers. An ample supply of oil should always be in the machine to keep the suction in the tank covered.
Care must be taken that the pump does not draw too much air. This can usually be discovered by the bubbling up of the air in the governor case, when more oil should be added.
It is well to note from time to time the temperature of the bearings, but no alarm need be occasioned because they feel warm to the touch; in fact, a bearing is all right as long as the hand can be borne upon it even momentarily. The oil coming from the bearings should be preferably about 120 degrees Fahrenheit and never exceed 160 degrees.
[100]It should generally be seen that the oil-cooling coil is effective in keeping the oil cool. Sometimes the cooling water deposits mud on the cooling surface, as well as the oil depositing a vaseline-like substance, which interferes with the cooling effect. The bearing may become unduly heated because of this, when the coil should be taken out at the first opportunity and cleaned on the outside and blown out by steam on the inside, if this latter is possible. If this does not reduce the temperature, either the oil has been in use too long without being filtered, or the quality of the oil is not good.
Should a bearing give trouble, the first symptom will be burning oil which will smoke and give off dense white fumes which can be very readily seen and smelled. However, trouble with the bearings is one of the most unlikely things to be encountered, and, if it occurs, it is due to some radical cause, such as the bearings being pinched by their caps, or grit and foreign matter being allowed to get into the oil.
If a bearing gets hot, be assured that there is some very radical cause for it which should be immediately discovered and removed. Never, under any circumstances, imagine that you can nurse a bearing, that has heated, into good behavior. Turbine bearings are either all right or all wrong. There are no halfway measures.
The oil strainer should also be occasionally taken apart and thoroughly cleaned, which operation may be performed, if necessary, while the turbine is in operation. The screens should be cleaned by being [101]removed from their case and thoroughly blown out with steam. In the case of a new machine, this may have to be done every two or three hours. In course of time, this need only be repeated perhaps once a week. The amount of dirt found will be an indication of the frequency with which this cleaning is necessary.
The proper water pressure, about five pounds per square inch, must be maintained at the glands. Any failure of this will mean that there is some big leak in the piping, or that the water is not flowing properly.
The pilot valve must be working freely, causing but little kick on the governor, and should be lubricated from time to time with good oil.
Should it become necessary, while operating, to shut down the condenser and change over to non-condensing operation, particular care should be observed that the change is not made too suddenly to non-condensing, as all the low-pressure sections of the turbine must be raised to a much higher temperature. While this may not cause an accident, it is well to avoid the stresses which necessarily result from the sudden change of temperature. The same reasons, of course, do not hold good in changing from non-condensing to condensing.
Shutting Down
When shutting down the turbine the load may be taken off before closing the throttle; or, as in the case of a generator operating on an independent load, the throttle may be closed first, allowing the load to act [102]as a brake, bringing the turbine to rest quickly. In most cases, however, the former method will have to be used, as the turbine generally will have been operating in parallel with one or more other generators. When this is the case, partially close the throttle just before the load is to be thrown off, and if the turbine is to run without load for some time, shut off the steam almost entirely in order to prevent any chance of the turbine running away. There is no danger of this unless the main valve has been damaged by the water when wet steam has been used, or held open by some foreign substance, when, in either case, there may be sufficient leakage to run the turbine above speed, while running light. At the same time, danger is well guarded against by the automatic stop valve, but it is always well to avoid a possible danger. As soon as the throttle is shut, stop the condenser, or, in the case where one condenser is used for two or more turbines, close the valve between the turbine and the condenser. Also open the drains from the steam strainer, etc. This will considerably reduce the time the turbine requires to come to rest. Still more time may be saved by leaving the field current on the generator.
Care should be taken, when the vacuum falls and the turbine slows down, to see that the water is shut off from the glands for fear it may leak out to such an extent as to let the water into the bearings and impair the lubricating qualities of the oil.
Inspection
At regular intervals thorough inspection should be made of all parts of the turbine. As often as it appears necessary from the temperature of the oil, depending on the quality of the oil and the use of the turbine, remove the oil-cooling coil and clean it both on the inside and outside as previously directed; also clean out the chamber in which it is kept. Put in a fresh supply of oil. This need not necessarily be new, but may be oil that has been in use before but has been filtered. We recommend that an oil filter be kept for this purpose. Entirely new oil need only be put into the turbine when the old oil shows marked deterioration. With a first-class oil this will probably be a very infrequent necessity, as some new oil has to be put in from time to time to make up the losses from leakage and waste.
Clean out the oil strainer, blowing steam through the wire gauze to remove any accumulation of dirt. Every six months to a year take off the bearing covers, remove the bearings, and take them apart and clean out thoroughly. Even the best oil will deposit more or less solid matter upon hot surfaces in time, which will tend to prevent the free circulation of the oil through the bearings and effectively stop the cushioning effect on the bearings. Take apart the main and secondary valves and clean thoroughly, seeing that all parts are in good working order. Clean and inspect the governor and the valve-gear, wiping out any accumulation of oil and dirt that may appear. Be sure to [104]clean out the drains from the glands so that any water that may pass out of them will run off freely and will not get into the bearings.
At the end of the first three months, and after that about once a year, take off the cylinder cover and remove the spindle. When the turbine is first started up, there is very apt to be considerable foreign matter come over in the steam, such as balls of red lead or small pieces of gasket too small to be stopped by the strainer. These get into the guide blades in the cylinder and quite effectively stop them up. Therefore, the blades should be gone over very carefully, and any such additional accumulation removed. Examine the glands and equilibrium ports for any dirt or broken parts. Particularly examine the glands for any deposit of scale. All the scale should be chipped off the gland parts, as, besides preventing the glands from properly packing, this accumulation will cause mechanical contact and perhaps cause vibration of the machine due to lack of freedom of the parts. The amount of scale found after the first few inspections will be an indication of how frequently the cleaning should be done. As is discussed later, any water that is unsuitable for boiler feed should not be used in the glands.
In reassembling the spindle and cover, very great care must be taken that no blades are damaged and that nothing gets into the blades. Nearly all the damage that has been done to blades has resulted from carelessness in this respect; in fact, it is impossible to be too careful. Particular care is also to be [105]taken in assembling all the parts and in handling them, as slight injury may cause serious trouble. In no case should a damaged part be put back until the injury has been repaired.
If for any reason damaged blades cannot be repaired at the time, they can be easily removed and the turbine run again without them until it is convenient to put in new ones; in fact, machines have been run at full load with only three-quarters of the total number of blades. In such an event remove the corresponding stationary blades as well as the moving blades, so as not to disturb the balance of the end thrust.
Conditions Conducive to Successful Operation
In the operation of the turbine and the conditions of the steam, both live and exhaust play a very important part. It has been found by expensive experimenting that moisture in the steam has a very decided effect on the economy of operation; or considerably more so than in the case of the reciprocating engine. In the latter engine, 2 per cent. of moisture will mean very close to 2 per cent. increase in the amount of water supplied to the engine for a given power. On the other hand, in the turbine 2 per cent. moisture will cause an addition of more nearly 4 per cent. It is therefore readily seen that the drier the entering steam, the better will be the appearance of the coal bill.
By judicious use of first-class separators in connection with a suitable draining system, such as the [106]Holly system which returns the moisture separated from the steam, back to the boilers, a high degree of quality may be obtained at the turbine with practically no extra expense during operation. Frequent attention should be given the separators and traps to insure their proper operation. The quality of the steam may be determined from time to time by the use of a throttling calorimeter. Dry steam, to a great extent, depends upon the good and judicious design of steam piping.
Superheated steam is of great value where it can be produced economically, as even a slight degree insures the benefits to be derived from the use of dry steam. The higher superheats have been found to increase the economy to a considerable extent.
When superheat of a high degree (100 degrees Fahrenheit or above) is used special care must be exercised to prevent a sudden rise of the superheat of any amount. The greatest source of trouble in this respect is when a sudden demand is made for a large increase in the amount of steam used by the engine, as when the turbine is started up and the superheater has been in operation for some time before, the full load is suddenly thrown on. It will be readily seen that with the turbine running light and the superheater operating, there is a very small amount of steam passing through; in fact, practically none, and this may become very highly heated in the superheater, but loses nearly all its superheat in passing slowly to the turbine; then, when a sudden demand is made, this very high temperature steam is drawn [107]into the turbine. This may usually be guarded against where a separately fired superheater is used, by keeping the fire low until the load comes on, or, in the case where the superheater is part of the boiler, by either not starting up the superheater until after load comes on, or else keeping the superheat down by mixing saturated steam with that which has been superheated. After the plant has been started up there is little danger from this source, but such precautions should be taken as seem best in the particular cases.
Taking up the exhaust end of the turbine, we have a much more striking departure from the conditions familiar in the reciprocating engine. Due to the limits imposed upon the volume of the cylinder of the engine, any increase in the vacuum over 23 or 24 inches, in the case, for instance, of a compound-condensing engine, has very little, if any, effect on the economy of the engine. With the turbine, on the other hand, any increase of vacuum, even up to the highest limits, increases the economy to a very considerable extent and, moreover, the higher the vacuum the greater will be the increase in the economy for a given addition to the vacuum. Thus, raising the vacuum from 27 to 28 inches has a greater effect than from 23 to 24 inches. For this reason the engineer will readily perceive the great desirability of maintaining the vacuum at the highest possible point consistent with the satisfactory and economical operation of the condenser.
The exhaust pipe should always be carried downward to the condenser when possible, to keep the [108]water from backing up from the condenser into the turbine. If the condenser must be located above the turbine, then the pipe should be carried first downward and then upward in the U form, in the manner of the familiar "entrainer," which will be found effectively to prevent water getting back when the turbine is operating.
Condensers
As has been previously pointed out, the successful and satisfactory operation of the turbine depends very largely on the condenser. With the reciprocating engine, if the condenser will give 25 inches vacuum, it is considered fairly good, and it is allowed to run along by itself until the vacuum drops to somewhere below 20 inches, when it is completely gone over, and in many cases practically rebuilt and the vacuum brought back to the original 25 inches. It has been seen that this sort of practice will never do in the case of the turbine condenser and, unless the vacuum can be regularly maintained at 27 or 28 inches, the condenser is not doing as well as it ought to do, or it is not of the proper type, unless perhaps the temperature and the quantity of cooling water available render a higher vacuum unattainable.
On account of the great purity of the condensed steam from the turbine and its peculiar availability for boiler feed (there being no oil of any kind mixed with it to injure the boilers), the surface condenser is very desirable in connection with the turbine. It further recommends itself by reason of the high vacuum obtainable.
[109]Where a condenser system capable of the highest vacuum is installed, the need of utilizing it to its utmost capacity can hardly be emphasized too strongly. A high vacuum will, of course, mean special care and attention, and continual vigilance for air leaks in the exhaust piping, which will, however, be fully paid for by the great increase in economy.
It must not be inferred that a high vacuum is essential to successful operation of this type of turbine, for excellent performance both in the matter of steam consumption and operation is obtained with inferior vacuum. The choice of a condenser, however, is a matter of special engineering, and is hardly within the province of this article.
Oils
There are several oils on the market that are suitable for the purpose of the turbine oiling system, but great care must be exercised in their selection. In the first place, the oil must be pure mineral, unadulterated with either animal or vegetable oils, and must have been washed free from acid. Certain brands of oil require the use of sulphuric acid in their manufacture and are very apt to contain varying degrees of free acid in the finished product. A sample from one lot may have almost no acid, while that from another lot may contain a dangerous amount.
Mineral oils that have been adulterated, when heated up, will partially decompose, forming acid. These oils may be very good lubricants when first put into use, but after awhile they lose all their good [110]qualities and become very harmful to the machine by eating the journals in which they are used. These oils must be very carefully avoided in the turbine, as the cheapness of their first cost will in no way pay for the damage they may do. A very good and simple way to test for such adulterations is to take up a quantity of the oil in a test tube with a solution of borax and water. If there is any animal or vegetable adulterant present it will appear as a white milk-like emulsion which will separate out when allowed to stand. The pure mineral oil will appear at the top as a clear liquid and the excess of the borax solution at the bottom, the emulsion being in between. A number of oils also contains a considerable amount of paraffin which is deposited in the oil-cooling coil, preventing the oil from being cooled properly, and in the pipes and bearings, choking the oil passages and preventing the proper circulation of the oil and cushioning effect in the bearing tubes. This is not entirely a prohibitive drawback, the chief objection being that it necessitates quite frequently cleaning the cooling coil, and the oil piping and bearings.
Some high-class mineral oils of high viscosity are inclined to emulsify with water, which emulsion appears as a jelly-like substance. It might be added that high-grade oils having a high viscosity might not be the most suitable for turbine use.
Since the consumption of oil in a turbine is so very small, being practically due only to leakage or spilling, the price paid for it should therefore be of secondary importance, the prime consideration being its suitability for the purpose.
[111]In some cases a central gravity system will be employed, instead of the oil system furnished with the turbine, which, of course, will be a special consideration.
For large installations a central gravity oiling system has much to recommend it, but as it performs such an important function in the power plant, and its failure would be the cause of so much damage, every detail in connection with it should be most carefully thought out, and designed with a view that under no combination of circumstances would it be possible for the system to become inoperative. One of the great advantages of such a system is that it can be designed to contain very large quantities of oil in the settling tanks; thus the oil will have quite a long rest between the times of its being used in the turbine, which seems to be very helpful in extending the life of the oil. Where the oil can have a long rest for settling, an inferior grade of oil may be used, providing, however, that it is absolutely free of acid.
V. PROPER METHOD OF TESTING A STEAM TURBINE[3]
[3] Contributed to Power by Thomas Franklin.
The condensing arrangements of a turbine are perhaps mainly instrumental in determining the method of test. The condensed steam alone, issuing from a turbine having, for example, a barometric or jet condenser, cannot be directly measured or weighed, unless by meter, and these at present are not sufficiently accurate to warrant their use for test purposes, if anything more than approximate results are desired. The steam consumed can, in such a case, only be arrived at by measuring the amount of condensing water (which ultimately mingles with the condensed steam), and subtracting this quantity from the condenser's total outflow. Consequently, in the case of turbines equipped with barometric or jet condensers, it is often thought sufficient to rely upon the measurement taken of the boiler feed, and the boiler's initial and final contents. Turbines equipped with surface-condensing plants offer better facilities for accurate steam-consumption calculations than those plants in which the condensed exhaust steam and the circulating water come into actual contact, it being necessary [113]with this type simply to pump the condensed steam into a weighing or measuring tank.
In the case of a single-flow turbine of the Parsons type, the covers should be taken off and every row of blades carefully examined for deposits, mechanical irregularities, deflection from the true radial and vertical positions, etc. The blade clearances also should be gaged all around the circumference, to insure this clearance being an average working minimum. On no account should a test be proceeded with when any doubt exists as to the clearance dimensions.
The dummy rings of a turbine, namely, those rings which prevent excessive leakage past the balancing pistons at the high-pressure end, should have especial attention before a test. A diagrammatic sketch of a turbine cylinder and spindle is shown in Fig. 60, for the benefit of those unfamiliar with the subject. In this A is the cylinder or casing, B the spindle or rotor, and C the blades. The balancing pistons, D, E, and F, the pressure upon which counterbalances the axial thrust upon the three-bladed stages, are grooved, the brass dummy rings G G in the cylinder being alined within a few thousandths of an inch of the grooved [114]walls, as indicated. After these rings have been turned (the turning being done after the rings have been calked in the cylinder), it is necessary to insure that each ring is perfectly bedded to its respective grooved wall so that when running the several small clearances between the groove walls and rings are equal. A capital method of thus bedding the dummy rings is to grind them down with a flour of emery or carborundum, while the turbine spindle is slowly revolving under steam. Under these conditions the operation is performed under a high temperature, and any slight permanent warp the rings may take is thus accounted for. The turbine thrust-block, which maintains the spindle in correct position relatively to the spindle, may also be ground with advantage in a similar manner.
The dummy rings are shown on a large scale in Fig. 61, and their preliminary inspection may be made in the following manner:
The spindle has been set and the dummy rings C are consequently within a few thousandths of an inch of the walls d of the spindle dummy grooves D. The clearances allowed can be gaged by a feeler placed between a ring and the groove wall. Before a test the spindle should be turned slowly around, the feelers being kept in position. By this means any mechanical flaws or irregularities in the groove walls may be detected.
It has sometimes been found that the groove walls, under the combined action of superheated steam and friction, in cases where actual running contact has [115]occurred, have worn very considerably, the wear taking the form of a rapid crumbling away. It is possible, however, that such deterioration may be due solely to the quality of the steel from which the spindle is forged. Good low-percentage carbon-annealed steel ought to withstand considerable friction; at all events the wear under any conditions should be uniform. If the surfaces of both rings and grooves be found in bad condition, they should be re-ground, if not sufficiently worn to warrant skimming up with a tool.
As the question of dummy leakage is of very considerable importance during a test, it may not be inadvisable to describe the manner of setting the spindle and cylinder relatively to one another to insure minimum leakage, and the methods of noting their conduct [116]during a prolonged run. In Fig. 62, showing the spindle, B is the thrust (made in halves), the rings O of which fit into the grooved thrust-rings C in the spindle. Two lugs D are cast on each half of the thrust-block. The inside faces of these lugs are machined, and in them fit the ball ends of the levers E, the latter being fulcrumed at F in the thrust-bearing cover. The screws G, working in bushes, also fit into the thrust-bearing cover, and are capable of pushing against the ends of the levers E and thus adjusting the separate halves of the block in opposite directions.
The top half of the turbine cylinder having been lifted off, the spindle is set relatively to the bottom half by means of the lower thrust-block screw G. This screw is then locked in position and the top half of [117]the cover then lowered into place. With this method great care must necessarily be exercised when lowering the top cover; otherwise the brass dummy rings may be damaged.
A safer method is to set the dummy rings in the center of the grooves of the spindle, and then to lower the cover, with less possibility of contact. There being usually plenty of side clearance between the blades of a turbine, it may be deemed quite safe to lock the thrust-block in its position, by screwing the screws G up lightly, and then to turn on steam and begin running slowly.
Next, the spindle may be very carefully and gradually worked in the required direction, namely, in that direction which will tend to bring the dummy rings and groove walls into contact, until actual but very light contact takes place. The slightest noise made by the rubbing parts inside the turbine can be detected by placing one end of a metal rod onto the casing in vicinity of the dummy pistons, and letting the other end press hard against the ear. Contact between the dummy rings and spindle being thus demonstrated, the spindle must be moved back by the screws, but only by the slightest amount possible. The merest fraction of a turn is enough to break the contact, which is all that is required. In performing this operation it is important, during the axial movements of the spindle, to adjust the halves of the thrust-block so that there can exist no possible play which would leave the spindle free to move axially and probably vibrate badly.
[118]After ascertaining the condition of the dummy rings, attention might next be turned to the thrust-block, which must not on any account be tightened up too much. It is sufficient to say that the actual requirements are such as will enable a very thin film of oil to circulate between each wall of the spindle thrust-grooves and the brass thrust-blocks ring. In other words, there should be no actual pressure, irrespective of that exerted by the spindle when running, upon the thrust-block rings, due to the separate halves having been nipped too tightly. The results upon a test of considerable friction between the spindle and thrust-rings are obvious.
The considerations outlined regarding balancing pistons and dummy rings can be dispensed with in connection with impulse turbines of the De Laval and Rateau types, and also with double-flow turbines of a type which does not possess any dummies. The same general considerations respecting blade conditions and thrust-blocks are applicable, especially to the latter type. With pure so-called impulse turbines, where the blade clearances are comparatively large, the preliminary blade inspection should be devoted to the mechanical condition of the blade edges and passages. As the steam velocities of these types are usually higher, the importance of minimizing the skin friction and eliminating the possibility of eddies is great.
Although steam leakage through the valves of a turbine may not materially affect its steam consumption, unless it be the leakage through the overload valve during a run on normal full load, a thorough [119]examination of all valves is advocated for many reasons. In a turbine the main steam-inlet valve is usually operated automatically from the governor; and whether it be of the pulsating type, admitting the steam in blasts, or of the non-pulsating throttling type, it is equally essential to obtain the least possible friction between all moving and stationary parts. Similar remarks apply to the main governor, and any sensitive transmitting mechanism connecting it with any of the turbine valves. If a safety or "runaway" governor is possessed by the machine to be tested, this should invariably be tried under the requisite conditions before proceeding farther. The object of this governor being automatically to shut off all steam from the turbine, should the latter through any cause rise above the normal speed, it is often set to operate at about 12 to 15 per cent. above the normal. Thus, a turbine revolving at about 3000 revolutions per minute would be closed down at, say, 3500, which would be within the limit of "safe" speed.
Importance of Oiling System and Water Service
The oil question, being important, should be solved in the early stages previously, if possible, to any official or unofficial consumption tests. Whether the oil be supplied to the turbine bearings by a self-contained system having the oil stored in the turbine bedplate or by gravity from a separate oil source, does not affect the question in its present aspect. The necessary points to investigate are four in number, and may be headed as follows:
- (a) Examination of pipes and partitions for oil leakage.
- (b) Determination of volume of oil flowing through each bearing per unit of time.
- (c) Examination for signs of water in oil.
- (d) Determination of temperature rise between inlet and outlet of oil bearings.
[120] The turbine supplied with oil by the gravity or any other separate system holds an advantage over the ordinary self-contained machine, inasmuch as the oil pipes conveying oil into and from the bearings can be easily approached and, if necessary, repaired. On the other hand, the machine possessing its own oil tank, cooling chamber and pump is somewhat at a disadvantage in this respect, as a part of the system is necessarily hidden from view, and, further, it is not easily accessible. The leakage taking place in any system, if there be any, must, however, be detected and stopped.
Fig. 63 is given to illustrate a danger peculiar to the self-contained oil system, in which the oil and oil-cooling chambers are situated adjacently in the turbine bedplate. One end of the bedplate only is shown; B is a cast-iron partition dividing the oil chamber C from the oil-cooling chamber D. Castings of this kind have sometimes a tendency to sponginess and the trouble consequent upon this weakness would take the form of leakage between the two chambers. Of course this is only a special case, and the conditions named are hardly likely to exist in every similarly designed plant. The capacity of oil, and especially [121]of hot oil, to percolate through the most minute pores is well known. Consequently, in advocating extreme caution when dealing with oil leakage, no apology is needed.
It may be stated without fear of contradiction that the oil in a self-contained system, namely, a system in which the oil, stored in a reservoir near or underneath the turbine, passes only through that one turbine's bearings, and immediately back to the storage compartment, deteriorates more rapidly than when circulating around an "entire" system, such as the gravity or other analogous system. In the latter, the oil tanks are usually placed a considerable distance from the turbine or turbines, with the oil-cooling arrangements in fairly close proximity. The total length of the oil circuit is thus considerably increased, incidentally increasing the relative cooling capacity of the whole plant, and thereby reducing the loss of oil by vaporization.
[122]The amount of oil passing through the bearings can be ascertained accurately by measurement. With a system such as the gravity it is only necessary to run the turbine up to speed, turn on the oil, and then, over a period, calculate the volume of oil used by measuring the fall of level in the storage tank and multiplying by its known cross-sectional area. In those cases where the return oil, after passing through the bearings, is delivered back into the same tank from which it is extracted, it is of course necessary, during the period of test, to divert this return into a separate temporary receptacle. Where the system possesses two tanks, one delivery and one return (a superior arrangement), this additional work is unnecessary. The same method can be applied to individual turbines pumping their own oil from a tank in the bedplate; the return oil, as previously described, being temporarily prevented from running back to the supply.
The causes of excessive oil consumption by bearings are many. There is an economical mean velocity at which the oil must flow along the revolving spindle; also an economical mean pressure, the latter diminishing from the center of the bearing toward the ends. The aim of the economist must therefore be in the direction of adjusting these quantities correctly in relation to a minimum supply of oil per bearing; and the principal factors capable of variation to attain certain requirements are the several bearing clearances measured as annular orifices, and the bearing diameters.
It is not always an easy matter to detect the presence of water in an oil system, and this difficulty is increased [123]in large circuits, as the water, when the oil is not flowing, generally filters to the lowest members and pipes of the system, where it cannot usually be seen. A considerable quantity of water in any system, however, indicates its presence by small globular deposits on bearings and spindles, and in the worst cases the water can clearly be seen in a small sample tapped from the oil mains. There is only one effective method of ridding the oil of this water, and this is by allowing the whole mass of oil in the system to remain quiescent for a few days, after which the water, which falls to the lowest parts, can be drained off. A simple method of clearing out the system is to pump all the oil the whole circuit contains through the filters, and thence to a tank from which all water can be taken off. One of the ordinary supply tanks used in the gravity system will serve this purpose, should a temporary tank not be at hand. If necessary, the headers and auxiliary pipes of the system can be cleaned out before circulating the oil again, but as this is rather a large undertaking, it need only be resorted to in serious cases.
It is seldom possible to discover the correct and permanent temperature rise of the circulating oil in a turbine within the limited time usually alloted for a test. After a continuous run of one hundred hours it is possible that the temperature at the bearing outlets may be lower than it was after the machine had run for, say, only twenty hours. As a matter of fact an oil-temperature curve plotted from periodical readings taken over a continuous run of considerable [124]length usually reaches a maximum early, afterward falling to a temperature about which the fluctuations are only slight during the remainder of the run. Fig. 64 illustrates an oil-temperature curve plotted from readings taken over a period of twenty-four hours. In this case the oil system was of the gravity description, the capacity of the turbine being about 6000 kilowatts. The bearings were of the ordinary white-metal spherical type. Over extended runs of hundreds and even thousands of hours, the above deductions may be scarcely applicable. Running without break for so long, a small turbine circulating its own lubricant would possibly require a renewal of the oil before the run was completed, in the main owing to excessive temperature rise and consequent deterioration of the quality of the oil. Under these conditions the probabilities are that several temperature fluctuations might occur before the final maximum, and more or less constant, temperature was reached. In this connection, [125]however, the results obtained are to a very large extent determined by the general mechanical design and construction of the oiling system and turbine. A reference to Fig. 63 again reveals at once a weakness in that design, namely, the unnecessarily close proximity in which the oil and water tanks are placed.
A design of thermometer cup suitable for oil thermometers is given in Fig. 65 in which A is an end view of the turbine bedplate, B is a turbine bearing and C and D are the inlet and outlet pipes, respectively. [126]The thermometer fittings, which are placed as near the bearing as is practicable, are made in the form of an angular tee fitting, the oil pipes being screwed into its ends. The construction of the oil cup and tee piece is shown in the detail at the left where A is the steel tee piece, into which is screwed the brass thermometer cup B. The hollow bottom portion of this cup is less than 1/16 of an inch in thickness. The top portion of the bored hole is enlarged as shown, and into this, around the thermometer, is placed a non-conducting material. The cup itself is generally filled with a thin oil of good conductance.
Allied to the oil system of a turbine plant is the water service, of comparatively little importance in connection with single self-contained units of small capacity, where the entire service simply consists of a few coils and pipes, but of the first consideration in large installations having numerous separate units supplied by oil and water from an exterior source. The largest turbine units are often supplied with water for cooling the bearings and other parts liable to attain high temperature. Although the water used for cooling the bearings indirectly supplements the action taking place in the separate oil coolers, it is of necessity a separate auxiliary service in itself, and the complexity of the system is thus added to. A carefully constructed water service, however, is hardly likely to give trouble of a mechanical nature. The more serious deficiencies usually arise from conditions inherent to the design, and as such must be approached.
Special Turbine Features to be Inquired into
Before leaving the prime mover itself, and proceeding to the auxiliary plant inspection, it may be well to instance a few special features relating to the general conduct of a turbine, which it is the duty of a tester to inquire into. There are certain specified qualifications which a machine must hold when running under its commercial conditions, among these being lack of vibration of both turbine and machinery driven, be it generator or fan, the satisfactory running of auxiliary turbine parts directly driven from the turbine spindle, minimum friction between the driving mediums, such as worm-wheels, pumps, fans, etc., slight irregularities of construction, often resulting in heated parts and excessive friction and wear, and must therefore be detected and righted before the final test. Furthermore, those features of design—and they are not infrequent in many machines of recent development—which, in practice, do not fulfil theoretical expectations, must be re-designed upon lines of practical consistency. The experienced tester's opinion is often at this point invaluable. To illustrate the foregoing, Figs. 66, 67, and 68 are given, representing, respectively, three distinct phases in the evolution of a turbine part, namely, the coupling. Briefly, an ordinary coupling connecting a driving and a driven shaft becomes obstinate when the two separate spindles which it connects are not truly alined. The desire of turbine manufacturers has consequently been to design a flexible coupling, capable of accommodating a certain [128] want of alinement between the two spindles without in any way affecting the smooth running of the whole unit.

Fig. 67
In Fig. 66 A is the turbine spindle end and B the generator spindle end, which it is required to drive. It will be seen from the cross-sectional end view that both spindle ends are squared, the coupling C, with a square hole running through it, fitting accurately over both spindle ends as shown. Obviously the fit between the coupling and spindle in this case must be close, otherwise considerable wear would take place; and equally obvious is the fact than any want of alinement between the two spindles A and B will be accompanied by a severe strain upon the coupling, and incidentally by many other troubles of operation of which this inability of the coupling to accommodate [129]itself to a little want of alinement is the inherent cause.
Looking at the coupling illustrated in Fig. 67, it [130]will be seen that something here is much better adapted to dealing with troubles of alinement. The turbine and generator spindles A and B, respectively, are coned at the ends, and upon these tapered portions are shrunk circular heads C and D having teeth upon their outer circumferences. Made in halves, and fitting over the heads, is a sleeve-piece, with teeth cut into its inner bored face. The teeth of the heads and sleeve are proportioned correctly to withstand, without strain, the greatest pressure liable to be thrown upon them. There is practically no play between the teeth, but there exists a small annular clearance between the periphery of the heads and the inside bore of the sleeve, which allows a slight lack of alinement to exist between the two spindles, without any strain whatever being felt by the coupling sleeve E. The nuts F and G prevent any lateral movement of the coupling heads C and D. For all practical requirements this type of coupling is satisfactory, as the clearances allowed between sliding sleeve and coupling heads can always be made sufficient to accommodate a considerable want of alinement, far beyond anything which is likely to occur in actual practice. Perhaps the only feature against it is its lack of simplicity of construction and corresponding costliness.
The type illustrated in Fig. 68 is a distinct advance upon either of the two previous examples, because, theoretically at least, it is capable of successfully accommodating almost any amount of spindle movement. The turbine and generator spindle ends, A and B, have toothed heads C and D shrunk upon them, [131]the heads being secured by the nuts E and F. The teeth in this case are cut in the enlarged ends as shown. A sleeve G, made in halves, fits over the heads, and the teeth cut in each half engage with those of their respective heads. All the teeth and teeth faces are cut radially, and a little side play is allowed.
The Condenser
To some extent, as previously remarked, the condenser and condensing arrangements are instrumental in determining the lines upon which a test ought to be carried out. In general, the local features of a plant restrict the tester more or less in the application of his general methods. A thorough inspection, including some preliminary tests if necessary, is as essential to the good conduct of the condensing plant as to the turbine above it. It may be interesting to outline the usual course this inspection takes, and to draw attention to a few of the special features of different plants. For this purpose a type of vertical condenser is depicted in Fig. 69. Its general principle will be gathered from the following description:
Exhaust steam from the turbine flows down the pipe T and enters the condenser at the top as shown, where it at once comes into contact with the water tubes in W. These tubes fill an annular area, the central un-tubed portion below the baffle cap B forming the vapor chamber. The condensed steam falls upon the bottom tube-plate P and is carried away by the pipe S leading to the water pump H. The Y pipe E terminating above the level of the water in the condenser [132]enters the dry-air pump section pipe A. Cold circulating water enters the condenser at the bottom, through the pipe I, and entering the water chamber X proceeds upward through the tubes into the top-water chamber Y, and from there out of the condenser through the exit pipe. It will be observed that the vapor extracted through the plate P passes on its journey out of the condenser through the cooling chamber D surrounded by the cold circulating water. This, of course, is a very advantageous feature. At R is the condenser relief, at U the relief valve for the water chambers.
[133]A new condenser, especially if it embody new and untried features, generally requires a little time and patience ere the best results can be obtained from it. Perhaps the quickest and most satisfactory method of getting at the weak points of this portion of a plant is to test the various elements individually before applying a strict load test. Thus, in dealing with a condenser similar to that illustrated in Fig. 69, the careful tester would probably make, in addition to a thorough mechanical examination, three or four individual vacuum and water tests. A brief description of these will be given. The water test, the purpose of which is to discover any leakage from the tubes, tube-plates, water pipes, etc., into portions of the steam or air chambers, should be made first.
Water Tests of Condenser
The condenser is first thoroughly dried out, particular care being given to the outside of the tubes and the bottom tube-plate P. Water is then circulated through the tubes and chambers for an hour or two, after which the pumps are stopped, all water is allowed to drain out and a careful examination is made inside. Any water leaking from the tubes above the bottom baffle-plate will ultimately be deposited upon that plate. It is essential to stop this leakage if there be any, otherwise the condensed steam measured during the consumption test will be increased to the extent of the leakage. A slight leakage in a large condenser will obviously not affect the results to any serious extent. The safest course to adopt when a [134]leak is discovered and it is found inopportune to effect immediate repair is to measure the actual volume of leakage over a specified period, and the quantity then being known it can be subtracted from the volume of the condensed steam at the end of the consumption test.
It is equally essential that no leakage shall occur between the bottom tube-plate P and the tube ends. The soundness of the tube joints, and the joint at the periphery of the tube-plate can be tested by well covering the plate with water, the water chamber W and cooling chamber having been previously emptied, and observing the under side of the plate. It must be admitted that the practice of measuring the extent of a water leak over a period, and afterward with this knowledge adjusting the obtained quantities, is not always satisfactory. On no account should any test be made with considerable water leakage inside the condenser. The above method, however, is perhaps the most reliable to be followed, if during its conduct the conditions of temperature in the condenser are made as near to the normal test temperature as possible. There are many condensers using salt water in their tubes, and in these cases it would seem natural to turn to some analytical method of detecting the amount of saline and foreign matter leaking into the condensed steam. Unless, however, only approximate results are required, such methods are not advocated. There are many reasons why they cannot be relied upon for accurate results, among these being the variation in the percentage of saline matter in the sea-water, [135]the varying temperature of the condenser tubes through which the water flows, and the uncertainty of such analysis, especially where the percentage leakage of pure saline matter is comparatively small.
The Vacuum Test
Having convinced himself of the satisfactory conduct of the condenser under the foregoing simple preparatory water tests, the tester may safely pass to considerations of vacuum. There exists a good old-fashioned method of discovering the points of leakage in a vacuum chamber, namely, that of applying the flame of a candle to all seams and other vulnerable spots, which in the location of big leaks is extremely valuable. Assuming that the turbine joints and glands have been found capable of preventing any inleak of air, with only a small absolute pressure of steam or air inside it, and, further, an extremely important condition, with the turbine casing at high and low temperatures, separately, a vacuum test can be conducted on the condenser alone.
This test consists of three operations. In the first place a high vacuum is obtained by means of the air pump, upon the attainment of which communication with everything else is closed, and results noted. The second operation consists in repeating the above with the water circulating through the condenser tubes, the results in this case also being carefully tabulated. Before conducting the third test, the condensers must be thoroughly warmed throughout, by running the turbine for a short time if necessary, and after closing [136]communication with everything, allowing the vacuum to slowly fall.
A careful consideration and comparison of the foregoing tests will reveal the capabilities of the condenser in the aspect in which it is being considered, and will suggest where necessary the desirable steps to be taken.
VI. TESTING A STEAM TURBINE[4]
[4] Contributed to Power by Thomas Franklin.
Special Auxiliary Plant for Consumption Test
There are one or two points of importance in the conduct of a test on a turbine and these will be briefly touched upon. Fig. 70 illustrates the general arrangement of the special auxiliary plant necessary for carrying through a consumption test, when the turbine exhaust passes through a surface condenser. The condensed steam, after leaving the condenser, passes along the pipe A to the pump, and is then forced along the pipe B (leading under ordinary circumstances to the hot-well), through the main water valve C directly to the measuring tanks. To enter these the water has to pass through the valves D and E, while the valves F and G are for quickly emptying the tanks when necessary, being of a larger bore than the inlet valves. The inlet pipes H I are placed directly above the outlet valves, and thus, when required, before any measurements are taken, the water can flow directly through the outlet valves, the pipes terminating only a short distance above them, away to an auxiliary tank or directly to the [138]hot-well. Levers K and L fulcrumed at J and J are connected to the valve spindles by auxiliary levers. The valve arrangement is such that by pulling down the lever K the inlet valve D is opened and the inlet valve E is closed. Again, by pulling down the lever L the outlet valve F is closed, while the outlet valve G is also simultaneously closed.
During a consumption test the valves are operated in the following manner: The lever K is pulled down, which opens the inlet valve to the first tank and closes that to the second. The bottom lever L, however, is lifted, which for the time being opens the outlet valve F, and incidentally opens the valve G; the latter valve can; however, for the moment be neglected. When the turbine is started, and the condensed steam [139]begins to accumulate in the condenser, the water is pumped along the pipes and, both the inlet and outlet valves on the first tank being open, passes through, without any being deposited in the tank, to the drain. This may be continued until all conditions are right for a consumption test and, the time being carefully noted, lever L is quickly pulled down and the valves F and G closed. The first tank now gradually fills, and after a definite period, say fifteen minutes, the lever K is pushed up, thus diverting the flow into the second tank. While the latter is filling, the water in the first tank is measured, and the tank emptied by a large sluice valve, not shown.
The operation of alternately filling, measuring, and emptying the two measuring tanks is thus carried on until the predetermined time of duration of test has expired, when the total water as measured in the tanks, and representing the amount of steam condensed during that time, is easily found by adding together the quantities given at each individual measurement.
All that are necessary to insure successful results from a plant similar to this are care and accuracy in its operation and construction. Undoubtedly in most cases it is preferable to weigh the condensed steam instead of measuring the volume passed, and from that to calculate the weight. If dependence is being placed upon the volumetric method, it is advisable to lengthen the duration of the test considerably, and if possible to measure the feed-water evaporated at the same time. Such a course, however, would [140]necessitate little change, and none of a radical nature, from the arrangement described. Where, however, the measuring method is adopted, the all-important feature, requiring on the tester's part careful personal investigation, is the graduation of the tanks. It facilitates this operation very considerably when the receptacles are graduated upon a weight scale. That is to say, whether or not a vertical scale showing the actual hight of water be placed inside the tank, it is advisable to have a separate scale indicating at once to the attendant the actual contents, by weight, of the tank at any time. It is the tester's duty to himself to check the graduation of this latter scale by weighing the water with which he performs the operation of checking.
Apart from the foregoing, there is little to be said about the measuring apparatus. As has been stated, accuracy of result depends in this connection, as in all others, upon careful supervision and sound and accurate construction, and this the tester can only positively insure by exhaustive inspection in the one case and careful deliberation in the conduct of the other.
It will be readily understood that the procedure—and this implies some limitations—of a test is to an extent controlled by the conditions, or particular environment of the moment. This is strictly true, and as a consequence it is often impossible, in a maker's works, for example, to obtain every condition, coinciding with those specified, which are to be had on the site of final operation only. For this reason it [141]would appear best to reserve the final and crucial test of a machine, which test usually in the operating sense restricts a prime mover in certain directions with regard to its auxiliary plant, etc., until the machine has been finally erected on its site. Obviously, unless a machine had become more or less standardized, a preliminary consumption test would be necessary, but once this primary qualification respecting consumption had been satisfactorily settled, there appears to be no reason why exhaustive tests in other directions should not all be carried out upon the site, where the conditions for them are so much more favorable.
When the steam consumption of a steam turbine is so much higher than the guaranteed quantity, it usually takes little less than a reconstruction to put things right. The minor qualifications of a machine, however, which can be examined into and tested with greater ease, and usually at considerably less expense, upon the site, and consequently under specified conditions, may be advantageously left over until that site is reached, where it is obvious that any shortcomings and general deficiency in performance will be more quickly detected and diagnosed.
Test Loads from the Tester's View-point
Before proceeding to describe the points of actual interest in the consumption test, a few considerations respecting test loads will be dealt with from the tester's point of view. Here again we often find ourselves restricted, to an extent, by the surrounding [142]conditions. The very first considerations, when undertaking to carry out a consumption test, should be devoted to obtaining the steadiest possible lead. It may be, and is in many cases, that circumstances are such as to allow a steady electrical load to be obtained at almost any time. On the other hand an electrical load of any description is sometimes not procurable at all, without the installation of a special plant for the purpose. In such cases a mechanical friction load, as, for example, that obtained by the water brake, is sometimes available, or can easily be procured. Whereas, however, this type of load may be satisfactory for small machines, it is usually quite impossible for use with large units, of, say, 5000 kilowatts and upward. It is seldom, however, that turbines are made in large sizes for directly driving anything but electrical plants, although there is every possibility of direct mechanical driving between large steam turbines and plants of various descriptions, shortly coming into vogue, so that usually there exist some facilities for obtaining an electrical load at both the maker's works and upon the site of operation.
One consideration of importance is worth inquiring into, and this has relation to the largest turbo-generators supplied for power-station and like purposes. Obviously, the testing of, say, a 7000-kilowatt alternator by any standard electrical-testing method must entail considerable expense, if such a test is to be carried out in the maker's works. Nor would this expense be materially decreased by transferring the operations to the power-station, and there erecting [143]the necessary electrical plant for obtaining a water load, or any other installation of sufficient capacity to carry the required load according to the rated full capacity of the machine.
Assuming, then, that there exist no permanent facilities at either end, namely the maker's works and the power station, for adequately procuring a steady electrical-testing load of sufficient capacity, there still remains, in this instance, an alternative source of power which is usually sufficiently elastic to serve all purposes, and this is of course the total variable load procurable from the station bus-bars. It is conceivable that one out of a number of machines running in parallel might carry a perfectly steady load, the latter being a fraction of a total varying quantity, leaving the remaining machines to receive and deal with all fluctuations which might occur. Even in the event of there being only two machines, it is possible to maintain the load on one of them comparatively steady, though the percentage variation in load on either side of the normal would in the latter case be greater than in the previous one. This is accomplished by governor regulation after the machines have been paralleled. For example, assuming three turbo-alternators of similar make and capacity to be running in parallel, each machine carrying exactly one-third of the total distributed load, it is fair to regard the governor condition, allowing for slight mechanical disparities of construction, of all three machines as being similar; and even in the case of three machines of different capacity and construction, [144]the governor conditions when the machines are paralleled are more or less relatively and permanently fixed in relation to one another. In other words, while the variation in load on each machine is the same, the relative variation in the governor condition must be constant.
By a previously mentioned system of governor regulation, however, it is possible, considering again for a moment the case of three machines in parallel, by decreasing the sensitiveness of one governor only, to accommodate nearly all the total variation in load by means of the two remaining machines, the unresponsiveness of the one governor to change in speed maintaining the load on that machine fairly constant. By this method, at any rate, the variation in load on any one machine can be minimized down to, say, 3 per cent, either side of the normal full load.
There is another and more positive method by which a perfectly steady load can be maintained upon one machine of several running in parallel. This may be carried out as follows: Suppose, in a station having a total capacity of 20,000 kilowatts, there are three machines, two of 6000 kilowatts each, and one of 8000 kilowatts, and it is desired to carry out a steady full-load test upon one of the 6000 kilowatts units. Assuming that the test is to be of six hours' duration, and that the conditions of load fluctuations upon the station are well known, the first step to take is to select a period for the test during which the total load upon all machines is not likely to fall below, say, 8000 kilowatts. The tension upon the governor [145]spring of the turbine to be tested must then be adjusted so that the machine on each peak load is taxed to its utmost normal capacity; and even when the station load falls to its minimum, the load from the particular machine shall not be released sufficiently to allow it to fall below 6000 kilowatts. Under these conditions, then, it may be assumed that although the load on the test machine will vary, it cannot fall below 6000 kilowatts. Therefore, all that remains to be done to insure a perfectly steady load equal to the normal full load of the machine, or 6000 kilowatts, is to fix the main throttle or governing valve in such a position that the steam passing through at constant pressure is just capable of sustaining full speed under the load required. When this method is adopted, it is desirable to fix a simple hight-adjusting and locking mechanism to the governing-valve spindle. The load as read on the indicating wattmeter can then be very accurately varied until correct, and farther varied, if necessary, should any change occur in the general conditions which might either directly or indirectly bring about a change of load.
Preparing the Turbine for Testing
All preliminary labors connected with a test being satisfactorily disposed of, it only remains to place the turbines under the required conditions, and to then proceed with the test. For the benefit of those inexperienced in the operation of large turbines, we will assume that such a machine is about to be started for the purpose outlined.
[146]It is always advisable to make a strict practice of getting all the auxiliary plant under way before starting up the turbine. In handling a turbine plant the several operations might be carried through in the following order:
- (1) Circulating oil through all bearings and oil chambers.[5]
- (2) Starting of condenser circulating-water pumps, and continuous circulation of circulating water through the tubes of condenser.
- (3) Starting of pump delivering condensed steam from the condenser hot-well to weighing tanks.
- (4) Starting of air pump, vacuum being raised as high as possible within condenser.
- (5) Sealing of turbine glands, whether of liquid or steam type, no adjustment of the quantity of sealing fluid being necessary, however, at this point.
- (6) Adjustment of valves on and leading to the water-weighing tanks.
- (7) Opening of main exhaust valve or valves between turbine and condenser.
- (8) Starting up of turbine and slowly running to speed.
- (9) Application of load, and adjustment of gland-sealing steam.
[5] In a self-contained system, where the oil pump is usually driven from the turbine spindle, this would of course be impossible. In the gravity and allied systems, however, it should always be the first operation performed. The tests for oil consumption, described previously, having been carried out, it is assumed that suitable means have been adopted to restrict the total oil flow through the bearings to a minimum quantity.
The running to speed of large turbo-alternators [147]requires considerable care, and should always be done slowly; that is to say the rate of acceleration should be slow. It is well known that the vibration of a heavy unit is accompanied by a synchronous or non-synchronous vibration of the foundation upon which it rests. The nearest approach to perfect synchronism between unit and foundation is obtained by a gradual rise in speed. A machine run up to speed too quickly might, after passing the critical speed, settle down with little visible vibration, but at a later time, even hours after, suddenly begin vibrating violently from no apparent cause. The chances of this occurring are minimized by slow and careful running to speed.
Whether the machine being tested is one of a number running in parallel, or a single unit running on a steady water load, the latter should in all cases be thrown on gradually until full load is reached. A preliminary run of two or three hours—whenever possible—should then be made, during which ample opportunity is afforded for regulating the conditions in accordance with test requirements. The tester will do well during the last hour of this trial run to station his recorders at their several posts and, for a short time at least, to have a complete set of readings taken at the correct test intervals. This more particularly applies to the electrical water, superheat and vacuum readings. In the case of a turbo-alternator the steadiness obtainable in the electrical load may determine the frequency of readings taken, both electrical and otherwise. On a perfectly steady water-tank [148]load, for example, it may be sufficiently adequate to read all wattmeters, voltmeters, and ammeters from standard instruments at from one- to two-minute intervals. Readings at half-minute intervals, however, should be taken with a varying load, even when the variation is only slight.
The water-measurement readings may of course be taken at any suitable intervals, the time being to an extent determined by the size of the measuring tanks or the capacity of the weighing machine or machines. When designing the measuring apparatus, the object should be to minimize, within economical and practical range, the total number of weighings or measurements necessary. Consequently, no strict time of interval between individual weighings or measurements can be given in this case. It may be said, however, that it is not desirable to take these at anything less than five-minute intervals. Under ordinary circumstances a three- to five-minute interval is sufficient in the case of all steam-pressure, vacuum—including mercurial columns and barometer—superheat and temperature readings.
Gland and Hot-Well Regulation
There are two highly important features requiring more or less constant attention throughout a test, namely the gland and hot-well regulation. For the present purpose we may assume that the glands are supplied with either steam or water for sealing them. All steam supplied to the turbine obviously goes to swell the hot-well contents, and to thus increase the [149]total steam consumption. The ordinary steam gland is in reality a pressure gland. At both ends of the turbine casing is an annular chamber, surrounding the turbine spindle at the point where it projects through the casing. A number of brass rings on either side of this chamber encircle the spindle, with only a very fine running clearance between the latter and themselves. Steam enters the gland chamber at a slight pressure, and, when a vacuum exists inside the turbine casing, tends to flow inward. The pressure, however, inside the gland is increased until it exceeds that of the atmosphere outside, and by maintaining it at this pressure it is obvious that no air can possibly enter the turbine through the glands, to destroy the vacuum. The above principle must be borne in mind during a test upon a turbine having steam-fed glands. Perhaps the best course to follow—in view of the economy of gland steam consumption necessary—is as follows:
During the preliminary non-test run, full steam is turned into both glands while the vacuum is being raised, and maintained until full load has been on the turbine for some little time. The vacuum will by this time have probably reached its maximum, and perhaps fallen to a point slightly lower, at which hight it may be expected to remain, other conditions also remaining constant. The gland steam must now be gradually turned off until the amount of steam vapor issuing from the glands is almost imperceptible. This should not lower the vacuum in the slightest degree. By gradual degrees the gland steam can be [150]still farther cut down, until no steam vapor at all can be discerned issuing from the gland boxes. This reduction should be continued until a point is reached at which the vacuum is affected, when it must be stopped and the amount of steam flowing to the gland again increased very slightly, just enough to bring the vacuum again to its original hight. The steam now passing into the glands is the minimum required under the conditions, and should be maintained as nearly constant as possible throughout the test. Practically all steam entering the glands is drawn into the turbine, and thence to the condenser, and under the circumstances it may be assumed the increase in steam consumption arising from this source is also a minimum.
There is one mechanical feature which has an important bearing upon the foregoing question, and which it is one of the tester's duties to investigate. This is illustrated in Fig. 71, which shows a turbine spindle projecting through the casing. The gland box is let into the casing as shown. Brass rings A calked into the gland box encircle the shaft on either side of the annular steam space S. As the clearance between the turbine spindle and the rings A is in a measure instrumental in determining the amount of steam required to maintain a required pressure inside the chamber, it is obvious that this clearance should be minimum. An unnecessarily large clearance means a proportionally large increase in gland steam consumption and vice versa.
When the turbine glands are sealed with water, all [151]water leakage which takes place into the turbine, and ultimately to the condenser hot-well, must be measured and subtracted from the hot-well contents at the end of a test.
The foregoing remarks would not apply to those cases in which the gland supply is drawn from and returned to the hot-well, or a pipe leading from the hot-well. Then no correction would be necessary, as all water used for gland purposes might be assumed as being taken from the measuring tanks and returned again in time for same or next weighing or measurement.
General Considerations
There are a few principal elementary points which it is necessary always to keep in mind during the conduct of a test. Among these are the effects of variation in vacuum, superheat, initial steam pressure, and, as already indicated, in load. There exist many rules for determining the corrections necessitated by this variation. For example, it is often assumed that 9 degrees Fahrenheit, excess or otherwise, above or below that specified, represents an increase or reduction in efficiency of about 1 per cent. It is probable that the percentage increase or decrease in steam consumption, in the case of superheat, can be more reliably calculated than in other cases, as, for example, vacuum; but the increase cannot be said to be due solely to the variation in superheat. In other words, the individuality of the particular turbine being tested always contributes something, however small this something may be, to the results obtained.
These remarks are particularly applicable where vacuum is concerned. Here again rules exist, one of these being that every additional inch of vacuum increases the economy of the turbine by something slightly under half a pound of steam per kilowatt-hour. But a moment's consideration convinces one of the utter unreliability of such rules for general application. It is, for instance, well known that many machines, when under test, have demonstrated that the total increase in the water rate is very far from constant. A machine tested, for example, gave [153]approximately the following results, the object of the test being to discover the total increase in the water rate per inch decrease in vacuum:
From 27 inches to 26 inches, 4.5 per cent.
From 26.2 inches to 24.5 inches, 2.5 per cent.
This illustrates to what an extent the ratio of increase can vary, and it must be borne in mind that it is very probable that the variation is different in different types and sizes of machines.
There can exist, therefore, no empirical rules of a reliable nature upon which the tester can base his deductions. The only way calculated to give satisfaction is to conduct a series of preliminary tests upon the turbine undergoing observation, and from these to deduce all information of the nature required, which can be permanently recorded in a set of curves for reference during the final official tests.
In conclusion, it must be admitted that many published tests outlining the performances of certain makes of turbine are unreliable. To determine honestly the capabilities of any machine in the direction of steam economy is an operation requiring time, and unbiased and accurate supervision. By means of such assets as "floating quantities," short tests during exceptionally favorable conditions, and disregard of the vital necessity of running a test under the proper specified conditions, it is comparatively easy to obtain results apparently highly satisfactory, but which under other conditions might be just the reverse. These considerations are, however, unworthy of the tester proper.
VII. AUXILIARIES FOR STEAM TURBINES[6]
[6] Contributed to Power by Thomas Franklin.
The Jet Condenser
The jet condenser illustrated in Fig. 72 is singularly well adapted for the turbine installation. As the type has not been so widely adopted as the more common forms of jet condenser and the surface types, it may prove of interest to describe briefly its general construction and a few of its special features in relation to tests.
Referring to the figure, C is the main condenser body. Exhaust steam enters at the left-hand side through the pipe E, condensing water issuing through the pipe D at the opposite side. Passing through the short conical pipe P, the condensing water enters the cylindrical chamber W and falls directly upon the spraying cone S. The hight of this spraying cone is determined by the tension upon the spring T, below the piston R, the latter being connected to the cone by a spindle L. An increase of the water pressure inside the chamber W will thus compress the spring, and the spraying cone being consequently lowered increases the aperture between it and the sloping [155]lower wall of the chamber W, allowing a greater volume of water to be sprayed. The piston R incidentally prevents water entering the top vapor chamber V. From the foregoing it can be seen that this condenser is of the contra-flow type, the entering steam coming immediately into contact with the sprayed water. The perforated diaphragm plate F allows the vapor to rise into the chamber V, from which it is drawn through the pipe A to the air pump. A relief valve U prevents an excessive accumulation [156]of pressure in the vapor chamber, this valve being obviously of delicate construction, capable of opening upon a very slight increase of the internal pressure over that of the atmosphere. Condensed steam and circulating water are together carried down the pipe B to the well Z, from which a portion may be carried off as feed water, and the remainder cooled and passed through the condenser again. Under any circumstances, whether the air pump is working or not, a certain percentage of the vapor in the condenser is always carried down the pipe B, and this action alone creates a partial vacuum, thus rendering the work of the air pump easier. As a matter of fact, a fairly high vacuum can be maintained with the air pump closed down, and only the indirect pumping action of the falling water operating to rarify the contents of the condenser body. It is customary to place the condenser forty or more feet above the circulating-water pump, the latter usually being a few feet below the turbine.
Features Demanding Attention
When operating a condenser of this type, the most important features requiring preliminary inspection and regulation while running are:
- (a) Circulating-water regulation.
- (b) Freedom of all mechanical parts of spraying mechanism.
- (c) Relief-valve regulation.
- (d) Water-cooling arrangements.
The tester will, however, devote his attention to [157]a practical survey of the condenser and its auxiliaries, before running operations commence.
A preliminary vacuum test ought to be conducted upon the condenser body, and the exhaust piping between the condenser and turbine. To accomplish this the circulating-water pipe D can be filled with water to the condenser level. The relief valve should also be water-sealed. Any existing leakage can thus be located and stopped.
Having made the condenser as tight as possible within practical limits, vacuum might be again raised and, with the same parts sealed, allowed to fall slowly for, say, ten minutes. A similar test over an equal period may then be conducted with the relief valve not water-sealed. A comparison of the times taken for an equal fall of vacuum in inches, under the different conditions, during the above two tests, will reveal the extent of the leakage taking place through the relief valve. It seems superfluous to add that the fall of vacuum in both the foregoing tests must not be accelerated in any way, but must be a result simply of the slight inevitable leakage which is to be found in every system.
On a comparatively steady load, and with consequently only small fluctuation in the volume of steam to be condensed, the conditions are most favorable for regulating the amount of circulating water necessary. Naturally, an excess of water above the required minimum will not affect the pressure conditions inside the condenser. It does, however, increase the quantity of water to be handled from the hot-well, [158]and incidentally lowers the temperature there, which, whether the feed-water pass through economizers or otherwise, is not advisable from an economical standpoint. Thus there is an economical minimum of circulating water to be aimed at, and, as previously stated, it can best be arrived at by running the turbine under normal load and adjusting the flow of the circulating water by regulating the main valve and the tension upon the spring T. Under abnormal conditions, the breakdown of an air pump, or the sudden springing of a bad leak, for instance, the amount of circulating water can be increased by a farther opening of the main valve if necessary, and a relaxation of the spring tension by hand; or, the spring tension might be automatically changed immediately upon the vacuum falling.
The absolute freedom of all moving parts of the spraying mechanism should be one of the tester's first assurances. To facilitate this, it is customary to construct the parts, with the exception of the springs, of brass or some other non-corrosive metal. The spraying cone must be thoroughly clean in every channel, to insure a well-distributed stream of water. Nor is it less important that careful attention be given to the setting and operation of the relief valve, as will be seen later. The obvious object of such a valve is to prevent the internal condenser pressure ever being maintained much higher than the atmospheric pressure. A number of carefully designed rubber flap valves, or one large one, have been found to act successfully for this purpose, although a [159]balanced valve of more substantial construction would appear to be more desirable.
Importance of Relief Valves
The question of relief valves in turbine installations is an important one, and it seems desirable at this point to draw attention to another necessary relief valve and its function, namely the turbine atmospheric valve. As generally understood, this is placed between the turbine and condenser, and, should the pressure in the latter, owing to any cause, rise above that of the atmosphere, it opens automatically and allows the exhaust steam to flow through it into the atmosphere, or into another condenser.
A general diagrammatic arrangement of a steam turbine, condenser, and exhaust piping is shown in Fig. 73. Connected to the exhaust pipe B, near to the condenser, is the automatic atmospheric valve D, from which leads the exhaust piping E to the atmosphere. The turbine relief valve is shown at F, and the condenser relief valve at G. The main exhaust valve between turbine and condenser is seen at H. We have here three separate relief valves: one, F, to prevent excessive pressure in the turbine: the second, D, an atmospheric valve opening a path to the air, and, in addition to preventing excessive pressure accumulating, also helping to keep the temperature of the condenser body and tubes low; the third, the condenser relief valve G, which in itself ought to be capable of exhausting all steam from the turbine, should occasion demand it.
[160]Assuming a plant of this description to be operating favorably, the conditions would of necessity be as follows: The valves F, D, and G, all closed; the valve H open. Suppose that, owing to sudden loss of circulating water, the vacuum fell to zero. The condenser would at once fill with steam, a slight pressure would be set up, and whichever of the three valves happened to be set to blow off at the lowest pressure would do so. Now it is desirable that the first valve to open under such circumstances should be the atmospheric valve D. This being so, the condenser would remain full of steam at atmospheric pressure until the attendant had had time to close the main hand-or motor-operated exhaust valve H, which he would naturally do before attempting to regain the circulation of the condensing water. Again, assume the installation to be running under the initial conditions, with the atmospheric valve D and all remaining valves except H closed.
Suppose the vacuum again fell to zero from a similar cause, and, further, suppose the atmospheric valve D failed to operate automatically. The only valves now capable of passing the exhaust steam are the turbine and condenser relief valves F and G. Inasmuch as the pressures at exhaust in the turbine proper, on varying load, vary over a considerably greater range than the small fairly constant absolute pressures inside the condenser, it is obviously necessary to allow for this factor in the respective setting of these two relief valves. In other words, the obvious deduction is to set the turbine relief valve to [161]blow off at a higher pressure than the condenser relief valve, even when considering the question with respect to condensing conditions only. In this second hypothetical case, then, with a closed and disabled atmospheric valve, the exhaust must take place through the condenser, until the turbine can be shut down, or the circulating water regained without the former course being found necessary.
There is one other remote case which may be assumed, namely, the simultaneous refusal of both atmospheric and condenser relief valves to open, upon the vacuum inside the condenser being entirely lost. The exhaust would then be blown through the turbine relief valve F, until the plant could be closed down.
Although the conditions just cited are highly improbable in actual practice, it can at once be seen that to insure the safety of the condenser, absolutely, the turbine relief valve must be set to open at a comparatively low pressure, say 40 pounds by gage, or thereabouts. To set it much lower than this would create a possibility of its leaking when the turbine was making a non-condensing run, and when the pressure at the turbine exhaust end is often above that of the atmosphere. From every point of view, therefore, it is advisable to make a minute examination of all relief valves in a system, and before a test to insure that these valves are all set to open at their correct relative pressures.
It must be admitted that the practice of placing a large relief valve upon a condenser in addition to the atmospheric exhausting valve is by no means common. [162]The latter valve, where surface condensing is adopted, is often thought sufficient, working in conjunction with a quickly operated main exhaust valve. Similarly, with a barometric condenser as that illustrated in Fig. 72, the atmospheric exhaust valve D (seen in Fig. 73) is sometimes dispensed with. This course is, however, objectionable, for upon a loss of vacuum in the turbine, all exhaust steam must pass through the condenser body, or the entire plant be closed down until the vacuum is regained. The simple construction of the barometric condenser, however, is in such an event much to its advantage, and the passage of the hot steam right through it is not likely to seriously warp or strain any of its parts, as might probably happen in the case of a surface condenser.
[163]The question of the advisability of thus adding to a plant can only be fairly decided when all conditions, operating and otherwise, are fully known. For example, if we assume a large turbine to be operating on a greatly varying load, and exhausting into a condenser, as that in Fig. 72, and, further, having an adequate stand-by to back it up, one's obvious recommendation would be to equip the installation with both a condenser relief valve and an atmospheric valve, in addition, of course, to the main exhaust valve, which is always placed between the atmospheric valve and condenser. There are still other considerations, such as water supply, condition of circulating water, style of pump, etc., which must all necessarily have an obvious bearing upon the settlement of this question; so that generalization is somewhat out of place, the final design in all cases depending solely upon general principles and local conditions.
Other Necessary Features of a Test
In connection with the condenser, of any type, and its auxiliaries, there remain a few necessary examinations and operations to be conducted, if it is desired to obtain the very best results during the test. It will be sufficient to just outline them, the method of procedure being well known, and the requirement of any strict routine being unnecessary. These include:
- (1) A thorough examination of the air-pump, and, if possible, an equally careful examination of diagrams[164] taken from it when running on full load. Also careful examination of the piping, and of any other connections between the air pump and condenser, or other auxiliaries. It will be well in this examination to note the general "lay" of the air pipes, length, hight to which they rise above condenser and air pump, facilities for drainage, etc., as this information may prove valuable in determining the course necessary to rectify deficiencies which may later be found to exist.
- (2) In a surface condenser, inspection of the pumps delivering condensed steam to the measuring tanks or hot-well; inspection of piping between the condenser and the pump, and also between the pump and measuring tanks. If these pumps are of the centrifugal type it is essential to insure, for the purposes of a steam-consumption test, as much regularity of delivery as possible.
- (3) In the case of a consumption test upon a turbine exhausting into a barometric condenser, and where the steam consumed is being measured by the evaporation in the boiler over the test period, time must be devoted to the feed-pipes between the feed-water measuring meter or tank and the boilers. Under conditions similar to those operating in a plant such as that shown in Fig. 72, the necessary boiler feed might be drawn from the hot-well, the remainder of the hot-well contents probably being pumped through water coolers, or towers, for circulating through the condenser. With the very best system, it is possible for a slight quantity of oil to leak into the exhaust [165] steam, and thence to the hot-well. In its passage, say along wooden conduits, to the measuring tank or meter, this water would probably pass through a number of filters. The efficiency of these must be thoroughly insured. It is unusual, in those cases where a simple turbine steam-consumption test is being carried out, and not an efficiency test of a complete plant, to pass the measured feed-water through economizers. Should the latter course, owing to special conditions, become necessary, a careful examination of all economizer pipes would be necessary.
- (4) The very careful examination of all thermometer pockets, steam- and temperature-gage holes, etc., as to cleanliness, non-accumulation of scale, etc.
Special Auxiliaries Necessary
Having outlined the points of interest and importance in connection with the more permanent features of a plant, we arrive at the preparation and fitting of those special auxiliaries necessary to carry on the test.
It is customary, when carrying out a first test, upon both prime mover and auxiliaries, to place every important stage in the expansion in communication with a gage, so that the various pressures may be recorded and later compared with the figures of actual requirement. To do this, in the case of the turbine, it is necessary to bore holes in the cover leading to the various expansion chambers, and into each of these holes to screw a short length of steam pipe, having preferably a loop in its length, to the other end of [166]which the gage is attached. Fig. 74 illustrates, diagrammatically, a complete turbine installation, and shows the various points along the course taken by the steam at which it is desirable to place pressure gages. The figure does not show the high-pressure steam pipe, nor any of the turbine valves. With regard to these, it will be desirable to place a steam gage in the pipe, immediately before the main stop-valve, and another immediately after it. Any fall of pressure between the two sides of the valve can thus be detected. To illustrate this clearly, Fig. 75 is given, showing the valves of a turbine, and the position of the gages connected to them. The two gages E and F on either side of the main stop-valve A are [167]also shown. The steam after passing through the valve, which, in the case of small turbines, is hand-operated, goes in turn through the automatic stop-valve B, the function of which is to automatically shut steam off should the turbine attain a predetermined speed above the normal, the steam strainer C, and finally through the governing valve D into the turbine. As shown, gages G and H are also fitted on either side of the strainer, and these, in conjunction with gages E and F, will enable any fall in pressure between the first two valves and the governing valve to be found. Up to the governing-valve inlet no throttling of the steam ought to take place under normal conditions, i.e., with all valves open, and consequently any fall in pressure between the steam inlet and this point must be the result of internal wire-drawing. By placing the gages as shown, the extent to which this wire-drawing affects the pressures obtainable can be discovered.
On varying and even on normal and steady full load, the steam is more or less reduced in pressure after passing through the governing valve D; a gage I [168]must consequently be placed between the valve, preferably on the valve itself, and the turbine. Returning to Fig. 74, the gages shown are A, B, C, D, and E, connected to the first, second, third, fourth, and fifth expansions; also F in the turbine and exhaust space, where there are no blades, G in the exhaust pipe immediately before the main exhaust valve E (see Fig. 73), and H connected to the condenser. On condensing full load it is probable that A, B, and C will all register pressures above the atmosphere, while gages D, E, F, and G will register pressures below the atmosphere, being for this purpose vacuum gages. On the other hand, with a varying load, and consequently varying initial pressures, one or two of the gages may register pressure at one moment and vacuum at another. It will therefore be necessary to place at these points compound gages capable of registering both pressure and vacuum. With the pressures in the various stages constantly varying, however, a gage is not by any means the most reliable instrument for recording such variations. The constant swinging of the finger not only renders accurate reading at any particular moment both difficult and, to an extent, unreliable, but, in addition, the accompanying sudden changes of condition, both of temperature and pressure, occurring inside the gage tube, in a comparatively short time permanently warp this part, and thus altogether destroy the accuracy of the gage. It is well known that even with the best steel-tube gages, registering comparatively steady pressures, this warping of the tube inevitably takes [169]place. The quicker deterioration of such gage tubes, when the gage is registering quickly changing pressures, can therefore readily be conceived, and for this reason alone it is desirable to have all gages, whatever the conditions under which they work, carefully tested and adjusted at short intervals. If it is desired to obtain reliable registration of the several pressures in the different expansions of a turbine running on a varying load, it would therefore seem advisable to obtain these by some type of external spring gage (an ordinary indicator has been found to serve well for this purpose) which the sudden internal variations in pressure and temperature cannot deleteriously affect.
In view of the great importance he must attach to his gage readings, the tester would do well to test and calibrate and adjust where necessary all the gages he intends using during a test. This he can do with a standard gage-testing outfit. By this means only can he have full confidence in the accuracy of his results.
In like manner it is his duty personally to supervise the connecting and arrangement of the gages, and the preliminary testing for leakage which can be carried out simultaneously with the vacuum test made upon the turbine casing.
Where Thermometers are Required
Equally important with the foregoing is the necessity of calibrating and testing of all thermometers used during a test. Where possible it is advisable [170]to place new thermometers which have been previously tested at all points of high temperature. Briefly running them over, the points at which it is necessary to place thermometers in the entire system of the steam and condensing plant are as follows:
- (1) A thermometer in the steam pipe on the boiler, where the pipe leaves the superheater.
- (2) In the steam pipe immediately in front of the main stop-valve, near point E in Fig. 75.
- (3) In the main governing valve body (see I, Fig. 75) on the inlet side.
- (4) In the main governing valve body on the turbine side, which will register temperatures of steam after it has passed through the valve.
- (5) In the steam-turbine high-pressure chamber, giving the temperature of the steam before it has passed through any blades.
- (6) In the exhaust chamber, giving the temperature of steam on leaving the last row of blades.
- (7) In the exhaust pipe near the condenser.
- (8) In the condenser body.
- (9) In the circulating-water inlet pipe close to the condenser.
- (10) In the circulating-water outlet pipe close to the condenser.
- (11) In the air-pump suction pipe close to the condenser.
- (12) In the air-pump suction pipe close to the air pump.
It is not advisable to place at those vital points, the readings at which directly or indirectly affect the [171]consumption, two thermometers, say one ordinary chemical thermometer and one thermometer of the gage type, thus eliminating the possibility of any doubt which might exist were only one thermometer placed there.
There is no apparent reason why one should attempt to take a series of temperature readings during a consumption test on varying load. The temperatures registered under a steady load test can be obtained with great reliability, but on a varying load, with constantly changing temperatures at all points, this is impossible. This is, of course, owing to the natural sluggishness of the temperature-recording instruments, of whatever class they belong to, in responding to changes of condition. As a matter of fact, the possibility of obtaining correctly the entire conditions in a system running under greatly varying loads is very doubtful indeed, and consequently great reliance cannot be placed upon figures obtained under such conditions.
A few simple calculations will reveal to the tester his special requirements in the direction of measuring tanks, piping, etc., for his steam consumption test. Thus, assuming the turbine to be tested to be of 3000 kilowatt capacity normal load, with a guaranteed steam consumption of, say, 14.5 pounds per kilowatt-hour, he calculates the total water rate per hour, which in this case would be 43,500 pounds, and designs his weighing or measuring tanks to cope with that amount, allowing, of course, a marginal tank volume for overload requirements.
VIII. TROUBLES WITH STEAM TURBINE AUXILIARIES[7]
[7] Contributed to Power by Walter B. Gump.
The case about to be described concerns a steam plant in which there were seven cross-compound condensing Corliss engines, and two Curtis steam turbines. The latter were each of 1500-kilowatt capacity, and were connected to surface condensers, dry-vacuum pumps, centrifugal, hot-well and circulating pumps, respectively. In the illustration (Fig. 76), the original lay-out of piping is shown in full lines. Being originally a reciprocating plant it was difficult to make the allotted space for the turbines suitable for their proper installation. The trouble which followed was a perfectly natural result of the failure to meet the requirements of a turbine plant, and the description herein given is but one example of a great many where the executive head of a concern insists upon controlling the situation without regard to engineering advice or common sense.
Circulating Pump Fails to Meet Guarantee
Observing the plan view, it will be seen that the condensers for both turbines receive their supply of [173] cooling water from the same supply pipe; that is, the pipes, both suction and discharge, leading to No. 1 condenser are simply branches from No. 2, which was installed first without consideration for a second unit. When No. 1 was installed there was a row of columns from the basement floor to the main floor extending in a plane which came directly in front of the condenser. The column P shown in the plan was so located as to prevent a direct connection between the [174]centrifugal circulating pump and the condenser inlet. The centrifugal pump was direct-connected to a vertical high-speed engine, and the coupling is shown at E in the elevation.
Every possible plan was contemplated to accommodate the engine and pump without removing any of the columns, and the arrangement shown was finally adopted, leaving the column P in its former place by employing an S-connection from the pump to the condenser. It should be stated that the pump was purchased under a guarantee to deliver 6000 gallons per minute under a head of 50 feet, with an impeller velocity of 285 revolutions per minute. The vertical engine to which the pump was connected proved to be utterly unfit for running at a speed beyond 225 to 230 revolutions per minute, and in addition the S-bend would obviously reduce the capacity, even at the proper speed of the impeller.
Besides these factors there was another feature even more serious. It was found that when No. 2 unit was operating No. 1 could not get as great a quantity of circulating water as when No. 2 was shut down. This was because No. 2 was drawing most of the water, and No. 1 received only that which No. 2 could not pull from the suction pipe A. This will be clear from the fact that the suction and discharge pipes for No. 1 were only 16 inches, while those of No. 2 were 20 inches and 16 inches, respectively. The condenser for No. 2 had 1000 square feet less cooling surface than No. 1, which had 6000 square feet and was supplied with cooling water by means of two [175]centrifugal pumps of smaller capacity than for No. 1 and arranged in parallel. These were each driven by an electric motor, and were termed "The Siamese Twins," due to the way in which they were connected.
The load factor of the plant ranged from 0.22 to 0.30, the load being almost entirely lighting, so that for the winter season the load factor reached the latter figure. The day load was, therefore, light and not sufficient to give one turbine more than from one-fourth to one-third its rated capacity. Under these conditions No. 1 unit was able to operate much more satisfactorily than when fully loaded, because of the fact that the cooling water was more effective. This was, of course, all used by No. 1 unit when No. 2 was not operating. At best, however, it was found that the vacuum could not be made to exceed 24 inches, and during the peak, with the two turbines running, the vacuum would often drop to 12 inches. A vacuum of 16 inches or 18 inches on the peak was considered good.
An Investigation
Severe criticism "rained" heavily upon the engineer in charge, and complaints were made in reference to the high oil consumption. An investigation on the company's part followed, and the firm which furnished the centrifugal pump and engine was next in order to receive complaints. Repeated efforts were made to increase the speed of the vertical engine to 285 revolutions per minute, but such a speed proved [176]detrimental to the engine, and a lower speed of about 225 revolutions per minute had to be adopted.
A thorough test on the pump to ascertain its delivery at various speeds was the next move, and a notched weir, such as is shown in the elevation, was employed. The test was made on No. 2 cooling tower, not shown in the sketch, and showed that barely 3000 gallons per minute were being delivered to the cooling tower. While the firm furnishing the pump was willing to concede that the pump might not be doing all it should, attention was called to the fact that there might be some other conditions in connection with the system which were responsible for the losses. Notable among these was the hydraulic friction, and when this feature of the case was presented, the company did not seem at all anxious to investigate the matter further; obviously on account of facing a possible necessity for new piping or other apparatus which might cost something.
Approximately 34 feet was the static head of water to be pumped over No. 2 cooling tower. Pressure gages were connected to the suction, discharge, and condenser inlet, as shown at G, G' and G'' respectively. When No. 1 unit was operating alone the gage G showed practically zero, indicating no vacuum in the suction pipe. Observing the same gage when No. 2 unit was running, a vacuum as high as 2 pounds was indicated, showing that No. 2 was drawing more than its share of cooling water from the main A and hence the circulating pump for No. 1 was fighting for all it received. Gage G' indicated a pressure of 21 [177]pounds, while G'' indicated 18.5 pounds, showing a difference of 2.5 pounds pressure lost in the S-bend. This is equivalent to a loss of head of nearly 6 feet, 0.43 pound per foot head being the constant employed. The total head against which the pump worked was therefore
G' + G = 21 + 2,
or
23
—— = 53
0.43
feet approximately. Since the static head was 34 feet, the head lost in friction was evidently
53-34 = 19
feet, or
1900
—— = 36
53
per cent., approximately.
Supply of Cooling Water Limited
In addition to this the supply of cooling water was limited, the vacuum being extremely low at just the time when efficient operation should be had. The natural result occurred, which was this: As the load on the turbine increased, the amount of steam issuing into the condenser increased, beating the circulating water to a temperature which the cooling tower (not in the best condition) was unable to decrease to any great extent. The vacuum gradually dropped off, which indicated that the condenser was being filled with vapor, and in a short time the small centrifugal [178]tail-pump lost its prime, becoming "vapor bound," and the vacuum further decreased. The steam which had condensed would not go into the tail-pump because of the tendency of the dry-pump to maintain a vacuum. When a certain point was reached the dry-vacuum pump started to draw water in its cylinder, and the unit had to be shut down immediately.
Vapor-bound Pumps
As the circulating water gradually rose in temperature the circulating pump also became "vapor bound," so that the unit would be tied up for the rest of the night, as this pump could not be made to draw hot water. The reason for this condition may be explained in the following way. When the circulating pump was operating and there was a suction of 2 pounds indicated at G, the water was not flowing to the pump of its own accord, but was being pulled through by force. This water would flow through the pump until a point was reached when the water became hot enough to be converted into vapor, this occurring at a point where the pressure was sufficiently reduced to cause the water to boil. Naturally this point was in the suction pipe and vapor was thus maintained behind the pump as long as it was operating. In this case the pump was merely maintaining a partial vacuum, but not drawing water. After the vacuum was once lost, by reason of the facts given, it could not be regained, as the circulating water, piping and condenser required a considerable period of time in which to cool.
[179]Before any radical changes were made it was decided that a man should crawl in the suction pipe A, and remove such sand, dirt, or any other obstacles as were believed to cause the friction. After this had been done and considerable sand had been removed, tests were resumed with practically the same results as before. The investigation was continued and the dry-vacuum pumps were overhauled, as they had been damaged by water in the cylinders, and furthermore needed re-boring. In short, the auxiliaries were restored to the best condition that could be brought about by the individual improvement of each piece of apparatus. As this was not the seat of the trouble, however, the remedy failed to effect a "cure." It was demonstrated that the steam consumption of the turbines was greatly increased due to priming of the boilers, as well as condensation in the turbine casing; hence, the ills above mentioned were aggravated.
Changes in Piping
After a great deal of argument from the chief engineer, and the firm which furnished the pump, both making a strong plea for a change in the piping, the company accepted the inevitable, and the dotted portion shows the present layout. The elbow M was removed, and a tee put in its place to which the piping D was connected. The circulating pump was removed to the position shown, and a direct connection substituted for the S-bend. The discharge pipe C was carried from No. 1 unit separately, as shown [180] in the elevation, and terminated at No. 1 cooling tower instead of No. 2, which shortened the distance about 60 feet, the total length of pipe (one way) from No. 1 unit being originally 250 feet. In this way the condensing equipment was made practically separate for each turbine, as it should have been in the first place.
With the new piping a vacuum of 24 inches on the peak could be reached. While this is far from an efficient value, yet it is better than the former figure. The failure to reach a vacuum of 28 inches or better is due primarily to a lack of cooling water, but an improvement in this regard could be made by reconstructing the cooling towers, which at present do not offer the proper amount of cooling surface. The screens used were heavy galvanized wire of about 3/16-inch mesh, which became coated in a short time, and must be thoroughly cleaned to permit the water to drop through them. The supply of cooling water was taken from a 30-inch pipe line several miles long and fed from a spring. The amount of water varied considerably and was at times quite insufficient for the load on the plant. Instead of meeting this condition with the best apparatus possible, a chain of difficulties were added to it, with the results given.
INDEX
- Acceleration, rate of, 147
- Adjustment, axial, 65
- making, 66
- Air-pump, examining, 163
- Allis-Chalmers Co. steam turbine, 41
- Auxiliaries, 2, 154
- special, 165
- Auxiliary plant for consumption test, 137
- spring on governor dome, 28
- Axial adjustment, 65
- Baffler, 36
- functions, 39
- Bearings, main, 69
- Blades, construction details, 44
- inspecting, 104
- Blading, Allis-Chalmers turbine, 48
- Blueprints, studying, 11
- Buckets, moving, 14
- stationary, 14
- Bushings, 36
- Carbon packing, 19
- ring, 20
- Central gravity oiling system, 111
- Circulating pump fails to meet guarantee, 172
- Clearance, 15, 150
- Comma lashing, 95
- Condensers, 108, 131
- jet, 154
- Conditions for successful operation, 105
- Cooling water supply limited, 177
- Coupling, 127
- Cover-plate, 4
- -plate, lowering, 9
- Curtis turbine, 11
- Feed-pipes, 164
- Flow, rate, 38
- Foundation drawings, 2
- Fourth-stage wheel, 14
- Franklin, Thomas, 112, 137, 154
- Gages, calibrating and adjusting, 169
- Generator, 53
- Glands, examination for scale, 104
- Governor, Allis-Chalmers turbine, 48
- Grinding, 38
- Guide-bearing, lower, 9
- Gump, Walter B., 172
- Nozzles, expanding, 14
- Oil, 57, 103, 109[184]
- Oil, testing, 110
- velocity of flow, 122
- Oiling, 87
- system, importance, 119
- Operation, Allis-Chalmers turbine, 54, 55
- successful, 105
- Operations in handling turbine plant, 146
- Overload valve, 28
- Packing, carbon, 19
- Parsons type of turbine, 41
- Passage in foundation, 2
- Peep-holes, 15, 18
- Piping, 171
- Pressure, 63
- Pump, circulating, fails to meet guarantee, 172
- inspection, 164
- Radial clearance, 63
- Rateau turbines, 118
- Relief valves, 31
- valves, importance, 159
- Ring, carbon, 20
- Rotor, Westinghouse-Parsons turbine, 59
- Running, 99
- Safety-stop, 22[185]
- -stop governor, 86
- Saucer steps, 39
- Screw, step-bearing, 18
- step-supporting, 4
- Separators, 105
- Setting spindle and cylinder for minimum leakage, 115
- Shaft, holding up while removing support, 8
- Shield-plate, 26, 36
- Shim, horseshoe, 8
- Shroud rings, 44, 46
- Shrouding on buckets and intermediates, 18
- Shutting down, 101
- Special turbine features, 127
- Spindle, lifting, 96
- removing, 104
- Spraying mechanism, 158
- Stage valves, 28, 31
- Starting up, 54, 95
- Step-bearing, lowering to examine, 8
- Stopping turbine, 56
- Sub-base, 8
- Superheated steam, 105
- Test loads, 141
- necessary features, 163
- Testing oil, 110
- Thermometer, calibrating and testing, 169[186]
- oil, 125
- Thrust-block, 118
- Top block, 4
- Troubles with steam turbine auxiliaries, 172
- Turbine features, special, 127











































