Machine gun manual : a complete manual to machine gunnery, containing details of Maxim, Vickers, Lewis, Colt, Hotchkiss, together with drill (elementary and advanced) fire orders, notes from the front and a mass of other useful information

by H. (Composer) Douglas (1882~1954)

Transcriber’s Note:

New original cover art included with this eBook is granted to the public domain.

Machine Gun Manual

By CAPTAIN H. DOUGLAS
Sherwood Foresters
National Team (England)
Kolapore Team (Great Britain)
British Rifle Team (Australian Tour)
A COMPLETE MANUAL TO MACHINE GUNNERY
containing details of
MAXIM VICKERS LEWIS COLT HOTCHKISS
together with
DRILL
(Elementary and Advanced)
Fire Orders, Notes from the Front
and a mass of other
Useful Information
ILLUSTRATED
LONDON
HARRISON AND SONS
Printers in Ordinary to His Majesty Military Printers, Publishers and Stationers
ST. MARTIN’S LANE, W.C.
Telephone 11596 CENTRAL MAXIMS Makers of Good Clothes Telephone 990 MAYFAIR
[Coat]

For the best value in

MILITARY OUTFITS.

THE “MAXIM” Trench Coat (as illustrated) with detachable fleece lining. Made from fine quality Khaki Twill, lined with rainproof lining and interlined with oiled silk,

£4 . 10 . 0

Light and warm, absolutely wind and rain proof.

Write for complete illustrated list.

71, NEW BOND STREET, W. 141 & 142, FENCHURCH STREET, E.C. LONDON.

Contents.

Maxim Gun. Page
  General description 5
  Plates and list of parts 11
  To mount and dismount 16
   „ load and unload 16
   „ clean 17
  Muzzle attachment 18
  Fusee spring 18
  Stripping and assembling 19
  Examination and testing 21
  Stoppages 23
     
Vickers’ Light Gun.  
  Plates and list of parts 31
  Special features 35
  To mount and dismount 36
   „ load and unload 36
   „ clean 36
  Muzzle attachment 37
  Fusee spring 37
  Stripping and assembling 38
  Stoppages 39
  Examination and testing 39
  Points to be attended to (Maxim and Vickers’) 40
  Belt filling 40
     
Lewis Automatic Gun.  
  Plates and list of parts 43
  Description 47
  To load and unload 49
  Stripping and assembling 50
  Stoppages 53
     
Colt Automatic Gun.  
  Description 55
  To load and unload 58
  Stoppages 59
  Stripping and assembling 62
  Plates and list of parts 65
     
Hotchkiss Portable Machine Gun.  
  Component parts and plates 67
  General description 71
  Action of the mechanism 71
  To strip and assemble the gun 73
  Points to be attended to before firing 78
  Rapid change of barrel in the field 80
  Stoppages 82
  Cleaning and care 83
  Feed strip filling machine 83
     
General.  
  Duties 85
  Section drill (with and without transport) 86
  Elementary tests 90
  Machine gun characteristics 90
  Fire direction 91
  Fire orders 93
  Signals 94
  War establishment 95
  General machine gun course 97
  Notes from overseas 100
  Points to remember 100
  Choice of gun position 100
  Employment of machine guns 100
  Occupation of positions 102
  Trench work 106
  In action 107
  Village fighting 109
  Attack on entrenched position 110
  Co-operation 112, 118
  Targets and ranges 112
  Guns brigaded in action 115
  Indication and recognition 116
  Observation of fire 117
  Ammunition supply 119
  Mechanical troubles 119
  Pack transport 120
  Training in billets 121
  Painting of guns 122
Telephone 11596 CENTRAL MAXIMS Makers of Good Clothes Telephone 990 MAYFAIR
FOR THE BEST VALUE IN
MILITARY OUTFITS
Service Kit for any regiment in 36 hours.
£ s.
Service Tunic 3 3
Slacks 1 1
Bedford Cord Breeches 2 2
British Warm (fleece lined). 3 3
Sam Browne Belt (complete) 2 2
Complete! Illustrated List on request, or better still, call and inspect our stock.
141 & 142, FENCHURCH STREET, E.C.
71, NEW BOND STREET, W.
LONDON.
“He sent home a Snapshot!”

How many tender voices have said this, with absolute joy? Arthur Brisbane said: “A photograph can speak a million words!” EVERY soldier should own a little camera. EVERY army-man can photograph, and the snapshot records may be PRICELESS in days to come. Our new List of Cameras at prices 25 per cent. to 50 per cent. below makers’ prices FREE, from the Firm with 40 years’ Reliable Reputation for honest photographic dealing. Send post card for Big List to-day. (Cameras taken in exchange or bought for CASH.)

✥ ✥ ✥
43 years’ service.
SANDS, HUNTER & CO., LTD.
37, Bedford St., Strand, W.C.
The Specialists in Photographic Apparatus.
5

The Maxim Gun.

GENERAL DESCRIPTION.

Weight of the ·303-in. gun, 60 lbs. Weight of the tripod, 48 lbs. Weight of ammunition box containing one filled belt, Mark VI 21 lbs., Mark VII 19½ lbs.

The gun may be considered as divided into two portions—the non-recoiling and the recoiling. It is worked automatically by two forces—the explosion of the charge which forces the recoiling portion backwards, and a strong spring (called the fusee spring) which carries it forward.

Non-Recoiling Portion.

The non-recoiling portion consists of the barrel casing and breech casing, and is attached to the mounting by the crosshead and elevating joint pins.

The barrel casing is of gunmetal, holding about seven pints of water to keep the barrel cool when firing; it has three openings, one on the upper right side near the breech for filling, one underneath near the muzzle for drawing off the water, and the third (also near the muzzle) for allowing the steam, but not the water, to escape. The first two are closed with screwed plugs; the last is open and connected with the steam tube, and carries the condenser nipple.

A cork plug is provided which can be inserted in the steam escape hole when the gun is travelling, in order to prevent waste of water from jolting. The plug should always be taken out before commencing to fire, and put in again before the gun changes position, unless the condenser is attached to the barrel casing and can be conveniently moved with the gun.

To prevent the escape of water, there is at the forward end of the barrel casing asbestos packing, which is held in position round the barrel by the packing gland. At the rear end of the barrel there is a cannelure, also filled with asbestos packing, which prevents the escape of water when 6the gun is working, and a gunmetal valve immediately in front of the barrel block, which prevents the escape of water when the gun is not firing and the barrel home.

The steam tube consists of a fixed tube and an outer tube, termed the slide valve, so arranged as to slide freely along the fixed tube. In the fixed tube there is a hole near each end, and a third hole in the threaded portion in front, to connect with the steam escape hole which is bored in the solid part of the front end of the barrel casing. This tube is fixed into the solid end of the barrel casing, and is retained in position by a screw which, being kept in adjustment by a keeper screw, ensures that the third hole coincides with the steam escape hole. At the breech end it fits into a recess.

If the gun is fired with elevation, the valve slides backwards, and, closing up the hole at the rear end of the tube, prevents the water entering; at the same time it leaves the front hole uncovered, which, being above the water level, allows the steam to enter the tube and escape through the steam escape hole in the barrel casing. Similarly, if the gun is fired with depression, the valve slides forward and allows the steam, but not the water, to escape through the rear hole.

In the lower part of the barrel casing is the ejector tube through which the empty cartridge cases are ejected from the gun. The tube is fitted with a spring, which prevents the cases falling backwards into the gun.

The breech casing consists of two outside plates, a bottom plate which is riveted to them, and the rear cross piece, the whole being closed by a cover.

The outside plates are dovetailed into the barrel casing, and, together with the cover, are secured by means of a cover joint pin.

On the outside of the right hand plate there are the following fittings:—(1) a socket and stud for securing and supporting the buffer spring; (2) the resistance piece, and (3) the stud for the check lever. On the outside of the left hand plate are three studs for holding the fusee spring box, the rear one being on the slide mentioned below; there are also two other studs on this plate for fixing a shoulder piece to the gun if required. In both plates are slots partly closed by slides, in which the crank bearings move, and on the inside of both plates are solid cams which control the path of the extractor. Below these, and 7supporting the side plates, are rests, along which the recoiling portion travels.

Along the bottom plate lies the trigger bar, and underneath is a bracket to which the elevating gear is attached by means of the elevating joint pin.

The outside plates are connected at the rear end by the rear cross piece, into which they both dovetail; this piece is fitted with (1) hollow handles, which are also used for carrying oil, and are closed by milled heads, fitted with camel-hair brushes; (2) a firing lever and spring, the lower end of which fits into the trigger bar, while the upper end is provided with a double button for firing; (3) an automatic double-handed safety catch, which is so arranged that unless it is held up the firing lever cannot be pressed forward; and (4) a pivoted shutter, which, when moved to the right or left, uncovers an aperture through which (when the lock is removed and the crank handle vertical) the barrel can be inspected or cleaned from the rear.

The cover is fitted with (1) springs to ensure the extractor dropping on recoil; (2) a gunmetal block to keep the lock down when back, and (3) at the rear end, a lock to fasten it. On the upper surface is the tangent sight, consisting of a stem, a graduated plate and slide. Running through the centre of the slide is a pinion, the teeth of which work in the rack on the stem. A pawl is secured to the pinion by a fixing pin. On the under side of one end of the pawl are teeth, which engage in the circular rack on the slide.

When the slide is at rest the stud on the inside of the milled head (nearest the slot for the slide spring) bears on the stud on the pawl immediately over the teeth, being actuated by the slide spring, thus forcing the teeth into the circular rack. This keeps the slide stationary on the stem. On rotating the milled head, this stud is partly disengaged from the stud on the pawl, thus permitting a second stud on the milled head to press on one side of the V-shaped ramp at the other end of the pawl. This action releases the teeth sufficiently to permit the pawl being moved round the circular rack by the action of the stud bearing on one side of the V-shaped ramp on the pawl; this moves the slide along the stem. On releasing the milled head, the spring positions the cover, thus causing the stud on the pawl to become once more engaged with the stud on the milled head and force the teeth into the rack.

8

Recoiling Portion.

The recoiling portion (which is mounted inside the non-recoiling portion) consists of a barrel and two side plates which carry the lock and the crank.

The barrel is coated with copper to protect it from rust; the gunmetal valve referred to above, which prevents the escape of water to the rear, is fitted just in front of the breech end, which is formed in the shape of a block; this block has two studs, one on each side, called the barrel trunnions, by means of which the barrel is attached to the side plates.

The side plates are each provided with a hole to receive the barrel trunnions, and in the case of the ·303-in. gun, with hooks for engaging the recesses on the top of the barrel block; also guides in which the flanges of the lock move, which are enlarged at the rear end to act as crank stops; in addition each has a bearing, through which the crank passes, thus connecting the latter with the barrel; these bearings move in slots in the breech casing. The left side plate is fitted with a connecting rod spring to hold the connecting rod upright when the lock is removed, and the right side plate is fitted with a side plate spring near the barrel, to keep the extractor in its highest position when the lock is home. The left side plate is prolonged to the front, and has a recess in which the bottom lever of the feed block engages.

The crank is fitted with a connecting rod, which is free to rotate on the crank pin, and, outside the breech casing on the right, with a handle which has a curved projecting arm, and on the left with a fusee, to which is attached a chain.

The connecting rod is attached to the crank by means of an axis pin, called the crank pin, and is arranged to take the lock by means of an interrupted screw, thereby connecting the crank and the lock. The connecting rod is divided into two parts, enabling its length to be increased by inserting washers of varying thicknesses. By this means it is ensured that a firm pressure is kept on the base of the cartridge at the moment of firing, thus preventing separations.

On the left of the breech casing there is a strong spiral spring, called the fusee spring, the rear end of which is connected by the fusee chain and fusee with the crank; the front end is attached to the breech casing by means 9of the fusee spring box and adjusting screw, which passes through the front end of the fusee spring box, and through the nut at the front end of the spring.

The lock is attached to the connecting rod by the screwed head, and when in the firing position closes the breech. In this position it is held by the side levers, the crank (which bears against stops on the side plates), and the connecting rod, the joint being slightly above the horizontal, to prevent the breech being opened at the moment of firing. The lock has a reciprocating motion communicated to it by the rotation of the crank, and is kept in position during its backward and forward movements by means of flanges working in guides on the side plates, and, when at the end of its backward travel and clear of the guides, by the gunmetal block underneath the cover.

The extractor is moved upwards by means of the side and extractor levers, and when in its highest position, is retained there by means of the side plate spring; this ensures the hole for the firing pin being opposite the centre of the base of the cartridge when the lock is home. The upward and downward movements of the extractor are regulated by guide ribs and stops; the upper stop forms part of the lock casing, and the lower one is removable.

The feed block, which fits under the cover into a recess cut in the breech casing, is provided with a slide to which are attached two pawls with springs, for the purpose of moving the cartridges from right to left; the slide has a transverse motion given to it by means of two levers which are fitted together; the top lever has a slot which engages a stud on the slide, and on the bottom lever is a stud which engages in a recess in the left side plate; by this means the slide is connected with the recoiling portion. The feed block has also two stationary pawls, which engage under the belt and prevent it slipping backwards during firing. To facilitate the entrance of the cartridges, the feed block is provided with a band roller, and in addition has steel guides fitted above and below in the cartridge way, which ensure the cartridges coming to the exact position where they can be gripped by the extractor; they are prevented from being pushed too far through to the left by means of the cartridge and bullet stops, which are inside the feed block.

The gun is supplied with cartridges from a belt which passes from right to left through the feed block. This belt 10is formed by two pieces of webbing connected together by eyelets and brass strips of two lengths, the projecting strips showing how far the cartridges should be inserted; the belt is made thick at the edge next the bullets by being folded over a piece of cord, so that the cartridges may be kept parallel in passing through the feed block, and lie evenly in the ammunition belt boxes.

(Flexible steel belts are now being used. These fold into their box in sections, and by withdrawing a pin the unexpended portion can be detached and packed away immediately. They appear to be giving considerable satisfaction, inasmuch as “belt troubles” are practically impossible.)

Converted Guns.

Converted guns are the original ·45-in. guns made to take the ·303-in. cartridge.

The conversion consists in the substitution of ·303-in. barrels for the ·45-in. barrels and the adaption of the mechanism to the smaller calibre by the introduction of new parts or the alteration of existing parts.

The Mark II differs from the Mark I in being fitted with the service ·303-in. barrel and muzzle attachment for ball firing, whereas the Mark I has a special muzzle attachment and a heavy barrel. The difference in the barrels affects also certain other parts. In both Marks I and II converted guns the attachment for ball firing must always be on the guns, as, owing to the greater weight of the component parts, these guns will not work without it.

The tangent sight is graduated to 2,500 yards.

The weight is 64 lbs.

In other respects they resemble the ·303-in. gun except that the connecting rod is not above the horizontal and that there is a space of about ⅒ of an inch between the projecting arm of the crank handle and the resistance piece.

Ammunition.

All marks of ·303-in. ball ammunition may be used, but care should be taken to select ammunition of the most recent manufacture. Mark VII can, however, be used only in guns specially modified to take it.

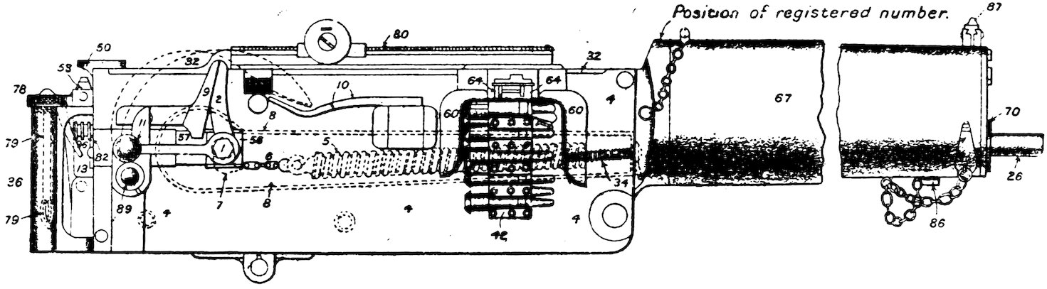
11Explanation of Plates I and II.
1.
End of crank.
2.
Projecting arm of crank handle.
3.
Crank handle.
4.
Breech casing.
5.
Fusee spring } Dotted
6.
Chain } lines in
7.
Fusee } Fig. 1.
8.
Spring box }
9.
Resistance piece.
10.
Buffer spring.
11.
Check lever.
12.
Lock casing.
13.
Firing lever.
14.
Trigger bar.
15.
Projection on trigger bar.
16.
Trigger.
17.
Tumbler.
18.
Lockspring.
19.
Firing pin.
20.
Crank.
21.
Crank pin.
22.
Connecting rod.
22A.
Cotter.
23.
Side levers.
24.
Sear.
25.
Extractor.
26.
Barrel.
27.
Ejector tube.
28.
Horns of extractor.
29.
Keeper bracket.
30.
Side cams.
31.
Cover spring.
32.
Cover.
33.
Gib.
34.
Adjusting screw for fusee spring.
35.
Extractor spring.
36.
Handles.
37.
Double button.
38.
Trigger bar spring.
39.
Gib spring.
41.
Extractor levers.
42.
Belt.
43.
Upper extractor stop.
44.
Groove for side plate spring.
45.
Cartridge grooves.
46.
Ejector tube spring.
47.
Side plates.
48.
Guides in which flanges of lock move.
49.
Guide ribs for extractor.
50.
Cover lock.
51.
Gunmetal block.
52.
Hole for firing pin.
53.
Safety catch.
54.
Screwed head.
55.
Connecting rod spring.
56.
Crank bearings.
57.
Slots, breech casing.
58.
Crank stops.
59.
Ammunition belt box, No. 2.
60.
Feed block.
61.
Top lever feed block.
62.
Cork plug.
63.
Feed block slide.
64.
Top pawl.
65.
Bottom pawl.
66.
Band roller.
67.
Barrel casing.
68.
Screwed plug for filling.
69.
Asbestos packing.
70.
Packing gland.
71.
Cannelure for asbestos packing.
72.
Gunmetal valve.
73.
Steam tube.
74.
} Holes in steam tube.
75.
}
76.
Slide valve.
77.
Steam escape hole.
78.
Milled heads of oil brushes.
79.
Oil brush.
80.
Sight, tangent.
81.
Sight, fore.
82.
Shutter.
83.
Shutter spring.
84.
Shutter catch.
85.
Notch for shutter catch.
86.
Screwed plug for emptying.
87.
Slides, right and left.
88.
Gib spring cover.
89.
Check lever collar.
90.
Cover lock spring.
91.
Safety catch spring.
92.
Tangent sight spring.
93.
Bottom lever feed block.
94.
Trunnions of barrel.
95.
Extractor stop.
96.
Firing lever spring.
97.
Shutter pivot screw.
12

Plate I.

GUN MAXIM, ·303 INCH.

SIDE ELEVATION.

13

Plate II.

GUN MAXIM ·303 INCH.

PLAN WITH COVER REMOVED.

14

MOUNTING, TRIPOD, ·303-in. MAXIM GUN, MARK IV.

The mounting consists of a crosshead (a), elevating gear (b), and socket (c), mounted on three legs.

It is constructed to give 13 degrees elevation and 25 degrees depression at heights varying from 14½-in. to 30-in. from the axis of the gun to the ground. By arranging the position of the rear and front legs respectively, elevation may be given up to about 43 degrees and depression to 55 degrees. An all-round traverse can be obtained.

The crosshead (a), to which the gun is pivoted, is formed with a pivot to fit into the socket (c) and an arm (d) which carries the elevating gear (b).

The elevating gear, which is actuated by a hand wheel (v), consists of an inner and outer screw (right and left-handed) and a nut working within a tumbler (g). The tumbler is split and provided with a jamming bolt (h), by which the wear may be taken up. The inner part of the screw is attached to the crosshead by a chain. Chains also, for future manufacture and replacement, will secure the joint pins to the mounting.

The socket (c) is bored to receive the crosshead and is provided with three lugs (n), to which the legs are hinged; a jamming block and screw with handle (f) is attached to the front to secure the crosshead in any desired angle of traverse; the block works in a recess in the upper portion of the crosshead and prevents it from rising. Both faces of the rear lug and one face of each front lug are fitted with clutch plates having radial serrations to correspond with similar serrations on the faces of the leg joints. Joint studs with disc spring and jamming handle (s) are

15

Plate III.

MOUNTING TRIPOD ·303 INCH, MAXIM GUN MARK.

SCALE = ⅛

SIDE ELEVATION.

A
Crosshead
B
Elevating gear
C
Socket
D
Arm, crosshead
F
Screw, clamp checking traverse
G
Tumbler, elevating gear
H
Bolt, jamming elevating gear
J
Front legs
K
Rear leg
M
Shoes
N
Socket lugs
S
Stud, joints, a jamming handle, front legs
T
Joint pin, a jamming handle rear leg
V
Handwheel elevating gear

16fixed to the front lugs, by which the legs are securely clamped to the socket in the required position.

The legs (j, k) are of tubular steel, the lower ends being fitted with shoes (m) to steady the mounting on the ground, and the upper ends having a joint with radial serrations mentioned above. The rear leg is provided with a joint pin with nut and jamming handle (t).

On a portion of the periphery of the leg joints, numbers are stamped at regular intervals so that when read in conjunction with a zero mark the relative position of the legs to their normal position may be readily seen.

A strap is fixed to the rear leg to secure the three legs during transport.

When firing, the ammunition box is placed on the ground on the right side of the gun.

Weight of mounting 48 lbs. variable.

TO MOUNT AND DISMOUNT GUN.

To Mount Gun.

Machine gunner No. 1 will carry tripod into position, elevating screws being equally exposed. Cross head upright. Legs clamped tight.

No. 2 will carry gun to right side of tripod, holding rear cross piece with left hand, gun muzzle to rear under right arm. Kneel on left knee, facing tripod, and supporting weight of gun on right knee, place it on tripod, pushing in and turning down the crosshead joint pin. Remove cork plug finally from steam escape hole, No. 1 fixing elevating joint pin.

To Dismount Gun.

No. 1 removes crosshead and elevating joint pins, No. 2 replaces cork plug and removes gun as in mounting, carrying it to its original position in rear, No. 1 following with the tripod. Joint pins will then be pushed home and turned down, legs folded and clamped.

TO LOAD AND UNLOAD GUN.

To Load.

Pass the tag of belt through feed block from right side, turning crank handle with right hand on to buffer spring, and pull belt through with left hand to left front 17as far as it will go, let go crank handle, the first cartridge will then be gripped by the extractor.

Again turn crank handle on to buffer spring, and pull belt to left front, letting go crank handle—the gun is then ready for firing.

Make each motion clear and distinct.

On pressing double button the gun will fire automatically until pressure is released.

To Unload.

Turn crank handle twice in succession on to buffer spring, letting it fly back to the check lever each time. Press up the bottom pawls and remove belt from feed block, then release the lock spring by pressing double button.

TO CLEAN GUN.

Mechanism.

Equal parts of G.S. lubricating oil and paraffin should be used, each part being thoroughly dried and slightly oiled with G.S. lubricating oil.

The various parts can easily be got at by “hanging” the lock as follows:—

Turn the crank handle on to buffer spring, raise lock slightly till clear of guides, allow handle to come back a little, and lock to rest on top of guides, when it will be fixed and easily accessible.

Barrel.

Turn crank handle over against buffer spring, open cover, raise lock, and as the crank handle is allowed to come slowly back raise it and let it rest upon the top of the rear crosspiece.

The cleaning rod may then be used from muzzle of barrel.

Daily cleaning is absolutely necessary for at least ten days after using ball ammunition and the bore should at all times be left coated with oil.

(A double-ended pull through may be used to remove hard fouling.)

Treatment in Frosty Weather.

In frosty weather, when water is kept in the barrel casing, a blanket or some other thick covering should be 18kept wrapped round the barrel casing to prevent the water freezing. The working parts of the gun should only be slightly oiled with a lightly-oiled rag. In climates where the temperature is likely to fall much below freezing point, not more than about 5 pints of water should be put into the barrel casing (25 per cent. of glycerine mixed with the water will prevent it from freezing so quickly).

MUZZLE ATTACHMENT.

The force of recoil is increased by the use of the muzzle attachment. Defects in the working of the gun are overcome by this means.

It consists of a steel cylinder with a hole bored longitudinally through it, the front end of cylinder being partially closed by a screw. Gases escaping from the muzzle of barrel are partially confined to the interior of attachment, the pressure of the gas acting on the muzzle of barrel giving additional recoil.

It is fitted by unscrewing the packing gland from the barrel casing, and screwing the attachment into the packing gland by means of the steam tube and packing gland key.

The attachment should be removed from the gun and cleaned immediately after firing, all metallic fouling being carefully scraped away.

THE FUSEE SPRING.

On the left of the breech casing, the rear end being connected by the fusee chain and fusee with the crank, the front end is attached to breech casing by means of fusee spring box and adjusting screw which passes through front end of fusee spring box and through the nut at front end of spring.

To Weigh and Adjust.

Cock the lock, place loop of spring balance over knob of crank handle and pull vertically upwards, resting wrist on breech casing, the reading indicated when crank handle commences to move will be the weight of the fusee spring. This should be between 5 and 7 lbs. (for converted Mark I Guns between 10 and 12 lbs.).

If spring is over, or not up to weight, remove fusee spring box and adjust by means of adjusting screw, six 19turns making a difference of about 1 lb. (Turning screw clockwise increases weight and vice versa.)

The tension should always be kept as high as possible, consistent with maintaining the normal rate of fire (500 rounds per minute).

STRIPPING THE GUN.

The gun is stripped in the following order:—

Note.—All pins are driven in from right to left, and out in the reverse direction.

(i) Lock and Feed Block.

Raise the cover, turn the crank handle on to the buffer spring, see that the extractor drops, place finger between the extractor and stop, raise the lock and allow the crank handle to come slowly back on to the check lever; slide the live cartridges out of the extractor, keeping the latter down. Give the lock ⅛ turn to the left and lift off. Lift the feed block out.

(ii) Fusee Spring Box.

With the right hand at the rear and the left hand at the front, press the box forward until clear of the lugs, and remove. Disconnect the fusee chain and remove the box and the spring. Care should be taken to throw no cross strain on the chain.

(iii) Tangent Sight and Cover Lock.

Lower the cover, putting a screwdriver across the breech casing under the gunmetal block, drive out the axis pin of the stem and remove with its piston and spring. Close the cover, press in the cover lock, and, with the large screwdriver, remove the stop screw; the lock with its piston and spring can then be removed.

(iv) Cover.

Drive out the fixing pin of the cover joint pin, remove the collar and joint pin and take off the cover.

(v) Rear Crosspiece.

Drive out the tapered fixing pin, grasp with the left hand the left handle of the rear crosspiece, slightly raise the casing and, with the mallet, strike the top edges of the casing alternately until the rear crosspiece is clear of the dovetails on the casing. Lift out the trigger bar.

20

(vi) Slides, Right and Left, and Check Lever.

Pull out the slides. Drive out the fixing pin from the check lever collar, remove the collar and check lever.

(vii) Recoiling Portion.

Fold back the connecting rod on to the crank, turn the crank handle to a vertical position, and draw out to the rear the recoiling portion. Disconnect the side plates by dropping them and springing them outwards. If necessary, by taking out the fixing pin, the crank handle can be driven off with a drift and hammer, and the fusee unscrewed from the left bearing of the crank; but as a rule these parts should not be stripped.

(viii) Foresight.

The position of the foresight should first be carefully marked. Remove the fixing screw and foresight.

(ix) Steam Tube and Packing Gland.

Up-end the barrel casing so that it stands on the rear end of the breech casing. Remove the keeper screw and unscrew the steam tube. Unscrew and remove the packing gland and packing.

(x) Breech and Barrel Casings, and Ejector Tube Spring.

Rest the barrel casing on a table or bench, with the filling hole uppermost, and the breech casing clear of the bench; place the left hand under the breech casing and strike the top edges alternately with a mallet, when the casings will come apart. Lift the ejector tube spring with the point of the screwdriver and tap out the spring with the drift and hammer. (In converted guns remove fixing wire and unscrew fixing screws.)

Note.—The breech and barrel casings should only be separated when repairs are necessary. Care must be taken not to strike the barrel casing, and the blows should be struck as close to the dovetailing as possible.

(xi) Lock.

(a) Release the lock spring, lay the lock on a bench, left side uppermost. Drive out the sear, tumbler, and lock spring axis pins. (b) Remove the keeper bracket, extractor levers, lock spring, tumbler, firing pin, and sear. (c) Drive out the trigger axis pin, extractor stop keeper pin, remove the trigger, extractor stop, and slide the 21extractor from the face of the lock casing. (d) Push out the gib spring cover, take out the gib spring and gib. (e) Drive out the extractor spring fixing pin, and remove the extractor spring. (In converted guns the extractor spring is riveted to the extractor.)

Note.—(e) should only be done in case of breakage.

(xii) Feed Block.

(a) Drive out the spring fixing pin of the top and bottom levers, drive out the bottom lever and remove the top lever and slide. (b) Drive out the axis pin of the bottom pawls and remove pawls with feed block spring. (In converted guns unscrew fixing screws and remove feed block springs.) (c) Drive out the fixing pin of the band roller axis pin, remove the collar, axis pin, and band roller. (d) Remove the top pawls from the slide by pressing them outwards. The springs for the pawls, if weak or broken, are only to be removed by an armourer or qualified artificer.

(xiii) Tangent Sight.

(a) Remove the top fixing screw of the graduated plate. (b) Run the slide off the stem. (c) Remove the fixing screw of the milled head, and lift the latter off the slide. (d) Remove the fixing pin, pawl and pinion from the slide. (e) Place the milled head, face upwards, on a bench; then with a drift, applied to the rectangular nib on the spring slide, knock the latter down flush with the face, when it can be lifted out with the pliers.

(xiv) Rear Crosspiece.

(a) Drive out the axis pin of the firing lever, and remove the latter with its spiral spring. (b) Drive out the axis pin of the safety catch, and lift out the latter, also the piston and spring from their seating. (c) Remove the pivot screw and shutter. (d) Unscrew, from the handles, the milled heads with their leather washers and oil brushes.

EXAMINATION AND TESTING.

Before assembling the gun all parts should be tried in their places separately to see that they work freely, and test friction of recoiling portions as follows:—

Cock lock, remove fusee spring box and spring, turn crank handle upwards, hold it with right hand and fusee with left, move recoiling portion, with gun horizontal, 22backwards and forwards, to see that it works freely and that barrel goes home. Weight necessary to move recoiling portion should not exceed 4 lbs. (converted guns 7 lbs.) tested by placing loop of spring balance over knob of crank handle, and pulling to rear when handle is slightly above the horizontal.

ASSEMBLING THE GUN.

Reverse all the foregoing operations with the exception that the recoiling portions must be replaced before the packing and packing gland. In order to assemble the barrel and breech casings, they will have to be turned upside-down—i.e., the filling hole down, and the bottom plate of breech casing uppermost—they should be positioned by the crosshead joint pin. Care must be taken that the ejector tube spring is in position before joining the casings together. When assembling the feed block the longer of the two bottom pawls must always be placed at the front. When assembling the tangent sight, it will be found convenient to place the slide on the stem before attaching the milled head; in this position the pinion is prevented from turning with the pawl when engaging the arms of the slide spring outside the lugs in the pawl.

REPLACEMENT OF DEFECTIVE PARTS OF THE LOCK.

Should any of the components belonging to the lock become defective they can be replaced from the spare parts, without stripping the lock right down. Proceed as follows:—

(i) Sear.

Fully cock, lift the sear, and let the firing pin engage with the tumbler and trigger; with the lock on the bench, left side up, drive out the sear axis pin, and remove the sear with its spring.

(ii) Tumbler.

Fully cock, thus engaging the firing pin with the sear; drive out the axis pin of tumbler, pull the trigger slightly, and lift out the tumbler.

Note.—Care should be taken not to allow the screwed head to lift the sear when once the tumbler has been removed.

23

(iii) Trigger, Lock Spring or Extractor Levers.

Release the lock spring, drive out the lock spring axis pin, remove the keeper bracket, extractor levers and lock spring; if the trigger is defective, drive out the trigger axis pin and remove the trigger.

(iv) Firing Pin.

Proceed as for (iii), but do not remove the trigger. Remove the tumbler axis pin and tumbler, raise the sear, push the screwed head out of its way, and the firing pin will drop out.

(v) Gib, Gib Spring, or Extractor Spring.

This will necessitate the removal of the extractor from the face of the lock casing. Release the lock spring, drive out the lock spring axis pin, remove the keeper bracket and extractor levers; next drive out the keeper pin of the extractor stop, remove the latter, and slide the extractor off the lock casing: push out the gib spring cover, and remove the spring or gib as the case may be. If the extractor spring requires replacing, drive out its fixing pin and remove.

Note.—The serviceable components are replaced in the reverse order.

STOPPAGES.

1. Temporary.

Due to (a) Failure of some part of the gun of which a duplicate is carried, or faulty ammunition; (b) neglect on the part of member or members of the detachment. A high standard of training will avoid this.

2. Prolonged.

Due to failure of some part of the gun which cannot, as a rule, be put right under fire, or without skilled assistance.

In addition to the instructions in the “stoppage” table, the following points should be observed:—

1. If, when the cover is opened to investigate cause of stoppage, it is seen that extractor is not quite up, no attempt should be made to raise it. It should be first pushed down before the crank handle is turned over to the front, as by this means all risk of firing a cartridge accidentally is avoided.

242. When a temporary stoppage necessitates the employment of the spare lock, feed block, etc., the part which has been removed should be repaired as soon as possible, making it again available as a reserve.

3. Should it ever be necessary to release the lock spring, with the lock out of gear, this should be done with the extractor fully up, and firing pin hole opposite firing pin.

4. As the clearing of a stoppage often knocks the sights off the aiming mark, care should be taken that the gun is immediately relaid.

TABLE OF STOPPAGES.
I. II. III. IV.
Position of crank handle and its indication. Immediate action. Probable cause. Prevention of recurrence.
       
FIRST (i) Turn the crank handle on to the buffer spring, pull the belt to the left front, and let go the crank handle. The extractor has not dropped. This may be due to:—  
Indication.
The lock is unable to come back far enough to allow the extractor to drop.
(a) Too heavy fusee spring.  
(ii) If failure recurs, lighten fusee spring by three “turns.” (b) Excessive friction, due to want of oil; grit or tight pockets in the belt, or excessive packing in cannelure or packing gland. (b) Clean and oil working parts. Examine the belt, which should be dried if damp; or if the stoppage is due to a new or stiff belt, the pockets should be plugged. If due to excessive packing, examine and repack cannelure or packing gland.
    (c) Partial loss of the force of the explosion due to—
    (i) Worn barrel.
    (ii) Defective ammunition. (c) (i) The barrel should be examined at the first opportunity, and if much worn in the lead should be changed.
       
25SECOND. (i) Force the crank handle on to the buffer spring. Open the cover and examine the cartridge on the face of the extractor. If a damaged cartridge, or an undamaged cartridge with the front portion of a separated case adhering to it, clear the face of the extractor and re-load. (i) (a) Damaged cartridge. The cartridge is unable to enter the chamber completely, although it has commenced to do so.  
Indication.
The lock is unable to go fully home after recoil.
(b) Separated case with front portion adhering to undamaged cartridge.  
  (ii) If an undamaged cartridge with no front portion of separated case adhering to it is found on the face of the extractor, clear the face of the extractor and replace the lock, keeping the crank handle on the buffer spring. Take the clearing plug (seeing that the centre pin is back) and insert it into the chamber. Push the pin well home by allowing the lock to go forward. Then keeping a firm pressure on the crank handle, give the clearing plug a rocking motion; withdraw the lock; lever back the handle of the clearing plug, withdraw it (seeing that the front portion of the separated case is on the clearing plug) and re-load. (ii) Separated case. The front portion of the case causes an obstruction and prevents the next cartridge from going into the chamber. (b) If a succession of separated cases occur the connecting rod must be lengthened. (See para. 82.)
       
26THIRD.      
Indication.
The extractor is unable to rise to its highest position.
If the feed block slide is jammed, there is a fault in feed.
(i) Strike the crank handle on to check lever by a glancing blow with the palm of the hand. If failure recurs, strengthen the fusee spring by three turns. (i) (a) Too light fusee spring. (i) (b) Clean and oil working parts.
(b) Excessive friction.  
  Note.—If the continued strengthening of the fusee spring results in the crank handle stopping in the first position, change the lock, putting the fusee spring back to normal; if failure recurs take muzzle attachment into use. (See para. 44.)
  (ii) If (i) fails, slightly raise the crank handle, pull the belt to the left front, let go the crank handle, and then strike it down on the check lever. (ii) A cartridge is fed up slightly crossways, or a long brass strip is bent. (ii) Carefully examine the belt.
  (iii) A. If (i) and (ii) fail, examine feed block slide. If jammed, No. 1 holds up the crank handle and opens the cover. No. 2, with the assistance of No. 1, removes the feed block, and replaces it by the spare one.
Meanwhile No. 1 forces down the horns of the extractor, and places the crank handle on the buffer spring. As soon as the spare feed block is in position, No. 1 closes the cover and pulls the top cartridge of a fresh belt into position and lets go the crank handle.
(iii) A. (1) Badly filled belt, or a belt with worn or loose pockets. The cartridges projecting unevenly from the belt prevent it entering or passing freely through the feed block. (iii) A. (1) Carefully examine the new belt.
27  (iii) A. (2) Belt box not being in line with the feed block; the belt does not lead up correctly to the feed block and becomes jammed. (iii) A. (2) See that the new belt box is in line.
  Note.—The effect of a fault in feed is that the top pawls, being engaged behind a cartridge in the belt, are held fast when some obstruction, such as above, prevents the belt from passing freely through the feed block. The recoiling portions, being connected by the top and bottom levers to the slide, are arrested and prevented from going home. The distance they are held back depends upon the point at which the obstruction asserts itself.
  (iii) B. If free, No. 1 opens the cover. No. 2 forces down the horns of the extractor. No. 1 clears the face of the extractor, and changes the lock. He removes the cartridge in positioning the feed block and re-loads. (iii) B. (1) Damaged cartridge grooves.  
  (2) Broken gib spring.  
  (3) Broken gib. In these cases the extractor is prevented from rising to its highest position. It may be necessary sometimes to slide the cartridge or the empty case upwards, when clearing the face of the extractor.  
  (4) Thick-rimmed cartridge.  
    Note.—If it is apparent that the stoppage is due to a thick-rimmed cartridge, it will not be necessary to change the lock.
       
28FOURTH. (a) Turn the crank handle on to the buffer spring, pull the belt to the left front, and let go the crank handle. (a) (1) No cartridge in the chamber.  
Indication.
That there has been no explosion, or, if any, that there has been little or no recoil, the lock remaining in its forward position.
(2) Defective ammunition.  
(b) If (a) fails, place the crank handle on to the buffer spring twice, change the lock, and re-load. (b) (1) Broken or damaged firing pin.  
(2) Broken lock spring.  
       

Note.—If the continued lightening of the fusee spring results in the crank handle stopping in the third position, take muzzle attachment into use, and put fusee spring back to normal weight (see para. 44).

Note.—Worn or damaged side or extractor levers may result in the extractor being unable to rise, or if the side levers are bent, there may either be a succession of separated cases, or the lock may become jammed.

The causes of prolonged stoppages are so varied that they cannot be set out in detail. The following are amongst the most probable, and the detachment should be thoroughly trained to recognize them and to apply such remedy as lies in their power pending a permanent repair:—

(i) Broken Cover Springs.

The extractor may not drop when the lock is drawn back, and the gun will stop with the crank handle in the first position. This may possibly be overcome by liberal oiling of the lock, but in any case single shots can be fired by holding the crank handle forward until the extractor drops by its own weight.

(ii) Broken Ejector Tube Spring,

Causing either a block in the ejector tube or an accumulation of empty cases in the breech casing. It may be 29found possible to keep the gun in action if care is taken to prevent the latter.

(iii) Cotter working out,

Thus causing the screwed head and connecting rod to become separated. To remedy proceed as follows:—

(a)
Take out the cotter. (This will be found either on the crank or at the bottom of the breech casing.)
(b)
Press down the screwed head with a large screwdriver to lock the cock.
(c)
Turn the screwdriver edgeways and insert it behind the horns of the extractor and between the face of the barrel and front of the lock flange, and force the lock to the rear.
(d)
Turn crank handle on to the buffer spring, press down the extractor, raise the lock and remove the live cartridge, then lift out the lock.

(iv) Damaged Parts of the Lock, no Spare Part being available.

The gun will fire without the sear, or if the bents of the sear or firing pin are badly worn or broken off, but only single shots, and only by pressing and releasing the double button quickly.

The gun will also fire if the nose of the trigger or bent of the tumbler is badly worn or broken off, but only rapid firing. In this case the gun will fire the instant the crank handle reaches the check level, although the double button has not been pressed.

The gun can be worked as follows:—

(a)
Group the cartridges in the belt, say 20 or 30 rounds each group.
(b)
Lay the gun before commencing to load, place crank handle on buffer spring, pull belt to left and let handle go; repeat, but before allowing the handle to reach check lever and the gun to fire, grip the rear crosspiece with left hand to control gun in the ordinary way.

If necessary firing can be stopped by throwing the filled end of the belt over the breech casing to the left.

When the firing has been stopped as described above, hold the crank handle with the right hand, open the cover, press down the horns of the extractor, draw the lock back, 30and, if there is a live cartridge on the face of the extractor, remove the feed block and belt, close the cover, and allow the lock to fly forward, when the live cartridge, which is on the face of the extractor, will be fired automatically. The lock can then be changed with safety. On no account should the lock be allowed to fly forward until the feed block has been removed and the cover shut.

If, on drawing the lock back, it is found that there is no live cartridge on its face, the lock may be changed at once, and the necessity for removing the feed block and the subsequent precautions will not arise.

(v) Gunmetal Valve Working Loose.

This will prevent the barrel from going home. It may be temporarily remedied by tapping it round with a hammer and punch, but it should be tightened at the earliest opportunity with the gib key, the barrel being removed from the gun.

31

·303–inch Vickers Gun.

Explanation of Plates IV and V.

Similar numbers indicate corresponding parts in all the plates.

1.
Casing, barrel.
2.
Tube, steam.
3.
Bracket, foresight.
4.
Gland.
5.
Casing, breech.
6.
Cover, front.
7.
Cover, rear.
8.
Sight, tangent.
9.
Bar, trigger.
10.
Lock, rear cover.
11.
Rear-crosspiece.
12.
Lever, firing.
13.
Lever, trigger bar.
14.
Catch, safety.
15.
}
16.
} Plugs, screwed.
17.
Protector, screwed, condenser boss.
18.
Plug, cork.
19.
Guide, front barrel bearing.
20.
Crosshead.
21.
Cams, right and left.
22.
Steps of cams, right and left.
23.
Catch, front cover.
24.
Pin, screwed, joint cover.
25.
Pin-T, fixing, rear-crosspiece.
26.
Pin, screwed, fixing, crank handle.
27.
Slides, right and left.
28.
Roller.
29.
Pin, screwed, joint, rear-crosspiece.
30.
Bracket, check lever.
31.
Lever, check.
32.
Bracket, elevating joint.
33.
Stop, mounting.
34.
Plate, bottom, breech casing.
35.
Shutter, sliding.
36.
Hooks of front cover catch.
37.
Hole for keeper pin, front cover catch.
38.
Lever of catch, front cover.
39.
Grooves in front cover catch to clear “36.”
40.
Plunger, front cover catch.
41.
Bridge, rear cover.
42.
{ Spring tangent sight.
 
{ Piston „ „
43.
Grooves in rear cover for ribs on “5.”
44.
Ramps, rear cover.
45.
Spring, rear cover lock.
46.
Spring, trigger bar.
47.
Lug on trigger bar for “46.”
48.
Base of tangent sight stem.
49.
Hooks of rear cover lock.
50.
Lug on rear cover lock for “45.”
51.
Slot in trigger bar for “86.”
52.
Lug on trigger bar for “13.”
53.
} Thumbpiece, sliding shutter catch.
54.
}
55.
Plunger, sliding shutter catch.
56.
Arms of rear-crosspiece.
57.
Grips, rear-crosspiece.
58.
Pawl, firing lever.
59.
Spring, safety catch, with piston.
60.
Pin, screwed axis, safety catch.
60A.
Finger grips, safety catch.
61.
Pin, screwed, axis, firing lever.
62.
} Thumbpiece, firing lever.
63.
}
64.
Pin, keeper, check lever.
65.
{ Piston, check lever.
 
{ Spring, „ „
66.
Recess in check lever for “65.”
67.
Barrel.
68.
Casing, lock.
69.
Plate, side, right.
70.
Crank.
71.
Handle, crank.
71A.
Tail of crank handle.
71B.
Knob of crank handle.
72.
Rod, connecting.
72A.
Stem of connecting rod.
73.
Fusee.
73A.
Chain, fusee.
74.
Spring, fusee.
74A.
Hook, fusee spring.
75.
Box, fusee spring.
75A.
Screw, adjusting, fusee spring.
76.
Block, feed.
77.
Cannelure in “67” for asbestos packing.
78.
Trunnion block, barrel.
79.
Lock.
80.
Levers, side (pair).
81.
Socket of side levers for “72A.”
82.
Extractor.
83.
Gib.
84.
Spring, gib.
85.
Cover, gib spring.
86.
Trigger.
87.
Lever, extractor, right.
88.
Tumbler.
89.
Spring, lock.
90.
Pin, firing.
91.
Sear.
92.
Spring, sear.
93.
Flanges of lock casing.
94.
Interruptions in flanges of lock casing.
95.
Slots in lock casing for “99.”
96.
Bearings on lock casing for “80.”
97.
Upper extractor stop of lock casing.
98.
Bent of extractor lever for “80.”
99.
Lugs on side levers for “95.”
100.
Bush, axis, side levers.
101.
Pin, split, keeper, bush, axis, side levers.
102.
Horns of extractor.
102A.
Grooves in extractor for “79.”
103.
Shoulders of extractor for “87.”
104.
Grooves in extractor for side plate springs.
105.
Hole in extractor for “90.”
106.
Recess in extractor for “83.”
107.
Pin, axis, trigger.
108.
Pin, axis, tumbler.
109.
Key of pin, axis, tumbler.
110.
Projection on firing pin for “89.”
111.
Lever, top, feed block.
112.
Lever, bottom, feed block.
113.
Pins, split, fixing, top and bottom levers, feed block.
114.
Stud of top lever for feed block slide.
114A.
Slide, feed block.
115.
Pawl, top, feed block, rear.
115A.
Thumb grips of “115” and “116.”
116.
Pawl, top, feed block, front.
117.
Spring, top pawls, feed block.
118.
Pawls, bottom, feed block (pair).
119.
Pin, axis, bottom pawl, feed block.
120.
Finger plate of bottom pawls, feed block.
121.
Spring, bottom pawls, feed block.
122.
Cup, muzzle attachment.
123.
Casing, outer, muzzle attachment.
124.
Cone, front, muzzle attachment.
125.
Gland, muzzle attachment.
126.
Screw, clamping, cup, muzzle attachment.
127.
Disc, muzzle attachment.
128.
Vent, bullet, muzzle attachment.
32

Plate IV.

VICKERS GUN.

33

Plate V.

VICKERS GUN.

35

VICKERS LIGHT MACHINE GUN.

The principal features are as in Maxim with the following exceptions:—

Total weight, ready for firing, is 38½ lbs. (Maxim, 67 lbs.).

Length, width and depth slightly less than Maxim.

Barrel casing is of corrugated steel (affording greater cooling surface).

Rear end of barrel—i.e., chamber—goes back into barrel casing, thus greatly assisting cooling of barrel where it is most essential.

Foresight is blade pattern, with protector.

No ejector tube or spring, there being an opening at bottom of breech casing through which empty cases fall. (Shutter requires to be opened before commencing firing.)

Tangent sight is 2½ in. nearer rear end of breech casing and is U pattern.

There is no buffer spring or resistance piece.

36An elevating stop on outside of left-hand plate, this preventing the bracket head of the mounting damaging the fusee spring box.

No stud for the shoulder piece.

Connecting rod has an adjusting nut and washers.

Crank handle revolves in the opposite direction to Maxim.

Lock is inverted and joined to connecting rod by an interrupted flange.

Lock has no extractor spring, as cases fall off extractor when clear of barrel.

Lock can be easily stripped with the hand screw which forms the axis pin of the trigger bar lever.

Top pawls are made with finger pieces, and can be pressed down by hand to allow belt to be released, having only one spring, which is removable.

Fusee spring can be adjusted without removing box, as the vice pin of screw is loose.

Fusee has a clutch fixture, and is easily removable.

No tools required to strip lock or change barrel.

Gun cannot be fired unless cover is down.

Greater general strength, especially in recoiling portions.

Sighted to 2,900 yards.

TO MOUNT AND DISMOUNT GUN.

As for Maxim (page 16).

TO LOAD AND UNLOAD GUN.

To Load Gun.

Pass tag end of belt through feed block from right side. Pull crank handle on to roller with right hand. Pull belt straight through as far as it will go with left hand. Let go crank handle; the first cartridge will then be gripped by extractor. Repeat as above; the first cartridge will then be in chamber and another gripped by upper part of extractor. Gun is then ready for firing.

To Unload Gun.

Pull crank handle on to roller twice in succession (without pulling belt), letting it fly forward to check lever each time. Press up bottom pawls and remove belt from feed block, then release lock spring.

TO CLEAN.

As for Maxim (page 17).

37

MUZZLE ATTACHMENT.

A steel muzzle attachment for ball firing is provided to assist recoil. When attachment is fitted on gun, the gland replaces the packing gland. The muzzle cup is fixed to barrel by a clamping screw, body of which lies in a circular groove on barrel, thus preventing muzzle cup from being blown off should clamping screw become loose. Outer casing is attached to gland by an interrupted flange and spring-keeper pin. Front cone screws into front end of outer casing, and, to protect its face from erosion, is covered by a thin steel disc, which, when badly eroded, can be replaced by a spare one. Gland and front cone have flanges which are grooved to receive the combination tool provided for assembling and stripping purposes.

FUSEE SPRING.

On the left of breech casing there is a strong spiral spring called the fusee spring, the rear end of which is connected by the fusee chain and fusee with the crank; the fore-end is attached to the breech casing by means of the fusee spring box and adjusting screw, which passes through the front end of fusee spring box, and through the nut at the front end of spring.

The fusee spring can be adjusted without removing the box, as the vice pin of the screw is loose. This screw is kept in position by two nibs which fall into recesses, by the tension of the fusee spring. The fusee is attached to the crank by means of a stem and lugs, and is easily removed.

To Weigh and Adjust Fusee Spring.

Take out lock; place loop of spring balance over knob of crank handle, and, standing on left side of gun, press down check lever with left hand. Pull spring balance vertically up, resting right wrist on breech casing. The reading indicated when crank handle commences to move will be the weight of fusee spring. This weight should be between 7 and 9 lbs. If spring is over, or not up to weight, adjust by means of vice pin. Generally six clicks (three revolutions) make a difference of about 1 lb. Adjust by ½–lbs. as a rule.

Turning vice pin clockwise increases weight and vice versa.

Tension of spring should always be kept as high as possible, consistent with maintaining normal rate of 500 rounds per minute.

38

TO STRIP AND ASSEMBLE GUN.

The gun is stripped in the following order:—

Lock.

Clear extractor by revolving crank handle twice; pull crank handle on to roller; raise rear cover, place finger between extractor and stop, lift lock, at same time allowing crank handle to move slowly forward until lock is released from side plates. Give lock one-sixth of a turn in either direction and lift out.

Feed Block.

Release front cover catch, raise front cover, and lift out.

Fusee Spring Box.

With right hand at rear and left hand at front, press box forward until clear of lugs and remove. Disconnect fusee chain and remove box and spring. Care should be taken to throw no cross strain on chain.

Fusee.

Turn fusee to rear until lugs on stem are free to be withdrawn.

Ball Firing Attachment.

Withdraw split pin. Give outer casing one-sixth turn and remove it. Unscrew front cone. Loosen clamping screw of muzzle cup and revolve cup till clamping screw coincides with flat on barrel. Remove muzzle cup. Unscrew and remove gland.

Slides, Right and Left.

Raise rear cover, unscrew rear crosspiece screwed fixing T-pin, and hinge down rear crosspiece. Pull out sides.

Recoiling Portion.

Draw recoiling portion out to rear. Disconnect side plates from barrel, removing left one first (for convenience only). If necessary, by taking out fixing pin, crank handle can be driven off with a drift and hammer, but as a rule this should not be stripped.

Roller.

Remove split fixing pin, collar, and roller.

39

To Strip Lock.

(a) See that lock is cocked; force out side lever split pin and axis bush. Remove side levers and extractor levers and slide extractor from front of lock casing. (b) Release lock spring and push out the trigger and tumbler axis pins. (c) Remove trigger, tumbler, lock spring, firing pin and sear with spring. To strip extractor, push out gib spring cover and remove spring and gib.

Tangent Sight and Spring.

(a) Remove top fixing screw of graduated plate. (b) Run the slide off stem. (c) Remove fixing screw of milled head and lift latter off slide. (d) Remove fixing pin, pawl, and pinion from slide. (e) Place the milled head, face upwards, on a bench; then, with small screwdriver applied to rectangular nib on slide spring, knock latter down flush with face, when it can be lifted out with pliers.

EXAMINATION AND TESTING.

Before assembling the gun all parts should be tried in their places separately to see that they work freely.

Test friction of recoiling portions (as Maxim, page 22).

Assembling.

Reverse all foregoing operations with exception that recoiling portions must be replaced before packing and packing gland. When assembling lock, care must be taken that lock spring is replaced with lock in fired position, and when all the other parts are assembled. When assembling rear crosspiece see that pawl of firing lever engages with trigger bar lever. When assembling tangent sight, it will be found convenient to place slide on stem (axis end) before attaching the milled head; in this position pinion is prevented from turning with pawl when engaging arms of spring outside lugs on pawl.

REPLACEMENT OF DEFECTIVE PARTS.

(As Maxim, page 22.)

STOPPAGES.

(As Maxim, page 24.)

DAMAGED PARTS OF LOCK, &c.

(As Maxim, page 29.)

40
POINTS TO BE ATTENDED TO.
Before firing. During firing. After firing.
Oil Working and recoiling portions. Working parts during temporary cessation of fire. Bore immediately.
  In handles.   Thorough clean in barracks.
Test Recoiling portions.   Release lock spring.
  Fusee spring.    
Examine Barrel. Clamps of tripod not loose. Unload and clear extractor.
  Spare parts.    
  Belt. Refill belts. Empty cases (no live rounds amongst them).
Water Fill barrel casing. Watch consumption. Empty out.
  Add glycerine in frosty weather.    

BELT FILLING.

All numbers, also drivers, should be instructed and practised in belt filling by hand, and also with the belt-filling machine, as follows:—

Belt Filling by Hand.

One Man Loading by Hand.—Sit on the ground, with the right foot doubled under the left thigh, the left foot resting on the outer side and drawn towards the right knee.

Place the belt on the left knee, with the tag pointing to the right. Take hold of the first brass strip between the forefinger and thumb; then with the remaining fingers and ball of the thumb, hold the belt so that the pockets will remain open. Take five cartridges in the right hand, insert into pockets, taking care to avoid doubling over the thin edge of webbing. Now place the belt on the knee, and, placing the tips of the fingers on the front of the belt, finally adjust the cartridges by pushing them forward with the thumb until the points of the bullets are in line with the ends of the long brass strips. Continue to load and adjust in fives, and make a final inspection when placing the belt in the box.

41

Belt Filling by Machine.

Fix machine so that crank handle can be worked with right hand.

Unfold loading tray and leg, the tray being secured to the left of bed plate by pin, the leg being made rigid by turning up the keeper plate on to the pin catch.

Turn the steel guide plate (on bed plate) outwards. Pocket opener must be far enough back to clear the belt.

Place belt behind roller and into belt guide. Edge of belt to be touching side of guide, projecting end of long brass strips to point away from cartridge plunger, and to pass under the steel guide.

Pawl to lie on top of belt.

Turn steel guide into position again and draw belt through with left hand until first pocket is opposite pocket opener.

Fill hopper with cartridges and replenish as required.

Revolve crank handle continuously (not too fast) until belt is filled.

(A light pressure should be kept on the belt with the left hand until the weight of the filled portion is sufficient to assist the pawl.)

43

The Lewis Automatic Machine Gun.

LIST OF PARTS.

1.
Butt plate.
2.
Butt plate screws (2).
3.
Buttstock.
4.
Butt tang screw.
5.
Butt tang.
7.
Butt latch.
8.
Back sight bed spring.
9.
Back sight bed spring screw.
10.
Butt latch spring.
11.
Back sight bed.
13.
Feed cover.
14.
Back sight leaf.
20.
Back sight slide.
21.
Ejector.
22.
Guard side pieces (2).
23.
Back sight axis pin washer.
24.
Back sight axis pin.
26.
Receiver.
27.
Magazine pawls spring.
28.
Stop pawl.
29.
Rebound pawl.
30.
Trigger.
31.
Feed operating stud.
32.
Safety (right and left).
33.
Trigger pin.
34.
Feed operating arm.
35.
Feed pawl.
36.
Feed pawl spring.
37.
Bolt.
38.
Charging handle.
39.
Guard.
40.
Cartridge guide spring.
41.
Sear spring.
42.
Sear spring box.
43.
Magazine pan.
44.
Ejector cover.
45.
Extractors (2).
46.
Gear stop.
47.
Striker fixing pin.
48.
Gear stop pin.
49.
Gear stop spring.
50.
Striker.
51.
Cartridge spacer ring.
52.
Gear.
53.
Mainspring casing.
54.
Magazine top plate rivets (6).
55.
Mainspring.
56.
Collet pin.
57.
Mainspring collet.
58.
Magazine centre.
59.
Mainspring rivets (2).
60.
Magazine latch spring.
61.
Gear casing.
62.
Magazine latch.
63.
Centre key.
65.
Gear case hinge pin.
66.
Feed operating arm latch.
67.
Magazine top plate.
68.
Receiver lock pin.
69.
Spacer ring rivets (5).
70.
Interior separators (25).
71.
Radiator casing rear, locking piece.
72.
Rack.
74.
Radiator casing rear.
75.
Piston connecting pin.
76.
Barrel.
77.
Gas cylinder.
78.
Radiator.
79.
Piston.
80.
Regulator key stud.
81.
Gas regulator key.
82.
Gas chamber.
83.
Gas chamber band.
84.
Gas regulator cup.
85.
Clamp ring.
86.
Front sight.
87.
Clamp ring positioning screw.
88.
Clamp ring screw.
89.
Barrel mouthpiece.
90.
Radiator casing front.
91.
Sear (rear).
92.
Hand grip.
93.
Oil well.
94.
Oil well cap.
95.
Oil brush.
96.
Spade grip butt tang.
97.
Deflector.
98.
Deflector arm.
99.
Deflector arm joint pin.
100.
Deflector clip.
101.
Deflector clip joint pin.
102.
Deflector bracket.
103.
Deflector clamp screw.
104.
Deflector latch.
105.
Deflector latch screw.
106.
Deflector clamp screw washer.
107.
Deflector clamp screw stop nut.
108.
Shell catcher bag.
109.
Mounting yoke.
110.
Mounting yoke clamp.
111.
Mounting yoke bronze pillar.
112.
Mounting yoke pillar screw.
113.
Mounting yoke clamp hinge pin.
114.
Mounting yoke clamp pin.
115.
Mounting yoke clamp key.
116.
Back sight elevating screw.
117.
Back sight elevating screw head.
118.
Back sight elevating screw head pin.
119.
Back sight elevating screw head spring.
120.
Sear pin.
121.
Butt latch pin.
122.
Mounting yoke pillar hinge pin.
123.
Mounting yoke chain.
124.
Mounting standard.
125.
Light field mount bottom cross brace.
126.
Light field mount centre post.
127.
Light field mount feet (2).
128.
Light field mount front legs (2).
129.
Light field mount front yoke.
130.
Light field mount knuckle joint.
131.
Light field mount knuckle joint pin.
132.
Light field mount rear brace.
133.
Light field mount T joint, centre.
134.
Light field mount T joint, side (2).
135.
Light field mount top lug.
136.
Barrel mouthpiece spanner.
137.
Magazine filling handle.
44

Plate VI.

LEWIS AUTOMATIC MACHINE GUN.

47

Description.

The gun complete weighs 25¼ lbs. and can be withdrawn from its leather case and put into action immediately.

There are only 62 parts in the gun proper—these cannot be wrongly assembled, and require no adjustment.

No water is used for cooling purposes, the steel barrel being closely fitted with a jacket of aluminium having deeply-cut grooves throughout its length. Over this is a thin tubular steel casing, the muzzle end of which extends (in reduced diameter) beyond the end of barrel, the special shaped mouthpiece screwed to the end of barrel serving the double purpose of firmly securing the radiator in place and of directing the powder blast of each discharge as to greatly increase the “ejector action” of this blast in sucking cool air through the grooves of the radiator. The system is so effective that the gun is found to give a slightly greater velocity to the bullet than can be obtained from the same length of barrel in a shoulder arm firing the same ammunition. There is no excessive recoil and the gun can be used with or without mount.

The gun is fed from a rotating drum magazine, which is controlled by the reciprocating breech mechanism.

Shell Deflector.

The shell deflector is an attachment for controlling the ejection of empty cartridge cases. It is very readily and quickly attached, and when in position can be instantly swung back out of the way so that the inside of the gun may be examined or any part of the mechanism got at.

Light Folding Field Mount.

Is a three-and-a-half-pound folding mount adapted for general use with infantry and cavalry. The mount is surprisingly rigid, and permits of very accurate shooting. Both front and rear mounting yokes, connected through centre post and rear brace, are pivoted about the axis of the centre post, so that the gun is always free to traverse. The gun is also free to turn within the yokes, so that the sights may always be kept vertical, no matter what the position of the feet. When the mount is attached, it is often convenient to use the rear brace as a handle for carrying the gun.

48

Plate VII.

Light Folding Field Mount Complete.

49

To Put Gun into Action.

When a loaded magazine is dropped into place over the magazine post, and the charging handle pulled to the rear as far as it will go and then released, the gun is put into action by a pull on the trigger, and continues to fire until the finger pressure on the trigger is released, or until the magazine is empty.

Single Shots.

When the trigger is pulled once and very quickly released a single shot is fired, this may be repeated at will until the magazine is empty.

Semi-Automatic Fire.

Within the limits of the magazine capacity the gun continues to fire so long as the trigger is held back, and stops firing whenever the trigger is released.

Full Automatic Fire.

Continued pressure on the trigger results in full automatic fire, which need be interrupted only by the four seconds interval required to replace emptied magazines by loaded ones.

During firing, before the magazine has been emptied, the gun stops at the beginning of the forward stroke, in the “ready to feed” position.

In this position the action is open and the chamber empty, but firing can be resumed on pulling the trigger.

General Note.

Before Firing.—See to it that bore is clear, working parts properly lubricated, and that tension of main spring is sufficient to avoid missfires.

After Firing.—See that gun is immediately unloaded, and that bore, working parts, and bearing surfaces are carefully examined, cleaned, and properly lubricated as soon as possible.

It is especially important to oil piston head and inside of gas cylinder; and to remove oil, and replace gas regulator cup.

Burrs found raised on any working part should be removed, and any roughening on a bearing surface should be smoothed down with fine emery or an oilstone.

50

TO STRIP AND ASSEMBLE.

The gun may be taken apart starting with the mechanism in any position, but it is best, whenever practicable, to see that the magazine is removed, the chamber empty, and the charging handle at the extreme forward end of its stroke, before commencing to dissemble. If this procedure is followed there will be no need to readjust the mainspring tension or to make any other adjustment when the gun is reassembled.

Stripping.

To dissemble gun, insert point of a bullet into slot leading to butt latch and push forward against force of butt latch spring. At the same time twist buttstock up and to left, then remove by withdrawing it to the rear. This removes buttstock group which should not be further dissembled.

Next, hold back trigger and pull back guard until clear of receiver. This removes guard, which contains trigger mechanism and butt latch.

Pull down gear casing until it drops clear of rack.

Pull back charging handle until it reaches end of slot, then withdraw by pulling it out away from receiver.

Withdraw operating rod complete and bolt complete by pulling them both together to rear until clear of receiver.

With point of a bullet push back on receiver lock pin, then twist receiver up and to left and unscrew it from barrel.

The foregoing operations divide the gun into convenient groups.

DETAILED STRIPPING.

Buttstock Group.

It is best never to strip this group, but if found necessary, the screws securing buttplate and butt tang to buttstock are readily removed.

Receiver Group.

See that the feed operating arm is pushed to the right, then pull back and remove feed cover.

Feed Cover.—From the feed cover the stop pawl, rebound pawl and cartridge guide spring are readily removed with the point of a bullet.

51Back Sight.—The back sight may be stripped from feed cover by removing bed spring screw.

Feed Operating Arm.—Remove feed operating arm complete, by pushing forward on feed operating arm latch and then lifting clear of magazine post. The feed pawl and feed pawl spring are removed from feed operating arm by lifting them clear of the studs. The latch should not be removed.

Ejector.—With the point of a bullet lift and pull out ejector cover and the ejector.

Safety.—The safeties may be prised out of the receiver with a bullet point.

Gear case hinge pin and centre key are permanently assembled and should not be removed.

Gear Casing.—Push forward and remove receiver lock pin and unhook gear casing from gear case hinge pin.

Mainspring Group.

To strip completely the parts assembled in gear casing, raise the gear stop with the point of a bullet, and allow mainspring to unwind.

Gear.—Then unscrew the collet pin and shake out gear.

Mainspring.—Pushing with a bullet through the gear against mainspring collet forces out mainspring casing from which mainspring, with its locating rivets and mainspring collet, may also be removed by the use of a bullet.

Gear Stop.—The gear stop and gear stop spring should not be stripped, but in case of necessity they may be removed by driving out the gear stop pin.

Guard Group.

The assembled guard contains trigger mechanism and butt latch. To strip, punch out trigger pin and sear pin.

Trigger.—Pull back trigger and lift out.

Sear.—Remove sear, sear spring box and sear spring.

Butt Latch.—Punch out butt latch pin and remove butt latch, and butt latch spring.

In ordinary practice the guard group need never be stripped.

52

Bolt and Rod Group.

The bolt and rod group comprises the bolt complete and operating rod complete. These two assembled parts are withdrawn together from the receiver, and may then be separated by lifting bolt clear of operating post on rod.

Bolt Complete.

Feed Operating Stud.—Unscrew and remove feed operating stud from rear end of bolt.

Extractors.—The extractors are spring-tempered and are sprung into place. To remove, insert point of a bullet under extractor claw and push head of extractor out and away from bolt. At the same time draw the whole extractor forward until it is clear of its seating.

Operating Rod Complete.

Not usually stripped.

Piston.—The piston connecting pin is riveted in place, but may readily be punched out in case it is desired to remove piston.

Striker.—The striker may be withdrawn after punching out striker fixing pin.

Barrel Group.

Gas Regulator.—Lift out gas regulator key, then unscrew and remove gas regulator cup.

Clamp Ring.—Using the gas regulator key as a tool, unscrew clamp ring screw and remove clamp ring which carries front sight and clamp ring positioning screw.

Radiator Casing.—Pull forward radiator casing front, and pull back radiator casing rear which is permanently assembled to radiator casing rear locking piece.

Gas Cylinder.—Unscrew and remove gas cylinder, using operating rod as a wrench.

Gas Chamber.—Unscrew gas chamber, using, if necessary, barrel mouthpiece wrench.

Barrel Mouthpiece.—Unscrew barrel mouthpiece. Thread is left-handed.

Barrel.—Drive out barrel from radiator. This operation may conveniently be accomplished before removing barrel mouthpiece by unscrewing latter part way and then allowing barrel and radiator to drop from a height of two 53or three feet on to a solid piece of wood, striking on front end of barrel mouthpiece. The weight of the radiator dropping from this height will usually loosen barrel sufficiently so that it can be withdrawn by hand from radiator after mouthpiece has been removed.

Gas Chamber Band.—Lift out gas chamber band from its recess in radiator.

Assembling.

By reversing the operations for stripping the assembling of gun is readily and quickly carried out. The following points, however, should be noted:—

1. Be sure that gas chamber band is correctly inserted into its place in the radiator before barrel is pushed home, and that barrel is turned with gas port at bottom.

2. In replacing bolt and operating rod the cam slot in bolt is slipped over striker and feed operating stud is screwed into bolt as far as it will go.

3. After inserting bolt, rod, and charging handle, the charging handle is carried forward to extreme end of its stroke before gear casing is swung up into place and rack engaged.

4. The mainspring is wound up by engaging the rack and gear, disengaging the guard, and pulling back on the charging handle until the required tension is obtained. The gear is then disengaged, charging handle moved completely forward, gear re-engaged and guard pushed home.

5. To reduce tension of mainspring proceed as follows:—

Remove buttstock.
Disengage both guard and gear.
Move charging handle part way back.
Re-engage gear and guard.
Replace buttstock.

STOPPAGES.

Position of C.H. Immediate action. Remedy. Cause.
Forward:—      
(a) Turn magazine free and change   Magazine empty.
(b) If magazine is fixed, pull back C.H.   Missfire or space or rotation not sufficient.
54(c) If recur, change magazine Examine rim of old magazine Faulty feed due to damaged rim.
  Feed arm pawl. Stop pawls Feed arm pawl, or stop pawl.
(d) If missfire on pressing trigger examine return spring If too light—adjust. Weak or broken return spring.
  If broken—substitute Damaged or broken striker.
  If correct—change rod  
(e) If C.H. will not come back pull back with wooden handle If dirty—clean Dirt.
  If hot—cool  
C.H. back slightly Pull C.H. back with wooden handle or pull through   Bulged cartridge (should never get into magazine.)
    Separated case (unknown as yet).
C.H. nearly back Examine ejection opening, if clear pull C.H. back and carry on    
or, back to full extent If return spring is weak, adjust or change it Clean gas cylinder, or piston rod and oil up Weak or broken return spring.
  If it recurs, remove magazine and gas regulator and fire. After firing put back gas regulator, with large hole to rear   Friction in gas cylinder or moving parts.
  If empty case is found, pull crank handle, raise safety catch, remove magazine and empty. Examine rim If recurs, examine extractor ejector Weak or broken extractors.
    Broken ejector.
  If crank handle jams remove magazine   Magazine not really home, or rim injured, or catch broken.
  If crank handle flies forward, insert new magazine, otherwise examine cartridge guide spring Change if broken Weak or broken cartridge guide spring.
55

The Colt Automatic Gun

(1914 MODEL.)

Weight of gun 35 lb.
„ „ tripod 58 „
Length of barrel 28 in.
Calibre ·303.
Rate of fire 400 shots per min.

The gun will swing horizontally through a complete circle of 360 degrees. The muzzle may be depressed 39 degrees and elevated 31 degrees, giving a vertical range of 70 degrees.

The barrel, which is detachable, is connected with the breech casing in which the mechanism for charging, firing and ejecting is contained.

Cartridges are automatically fed into the gun by means of a belt containing 250, running from a box attached to the left side of the breech casing.

The automatic action of the gun is effected by means of the pressure of the powder gases in the barrel. There is a small radial vent in the barrel near the muzzle, opening downward from the bore. This vent is closed by a piston which fits in the gas cylinder surrounding the outer edge of the vent. The piston is pivoted to the gas lever so that it adjusts itself to the gas cylinder while the lever swings in a vertical plane.

The belt is inserted from the left; the lever thrown downward and rearward as far as it will go. This opens the breech and feeds the first cartridge from the belt to the carrier; the lever is then released, and the spring causes it to swing forward, close the vent and transfer the cartridge from the carrier to the barrel; also cocking the hammer, closing and locking the breech.

56

Plate VIII.

Gun mounted on Tripod, showing Belt passing out.

(Right Side.)

57On pulling the trigger the cartridge is fired. After the bullet has passed the vent and before its exit from the muzzle, the powder gases expand through the vent upon the piston and gas lever, which in turn act on the breech mechanism, opening the breech, ejecting the shell and feeding to the carrier another cartridge. The gas lever, returning, under the action of the retractor spring, forces the cartridge into the chamber, closing and locking the breech. If, instead of releasing the trigger, it is held back, the same operation will be repeated as long as cartridges are supplied, producing continuous fire at the rate of 400 shots or more per minute.

A safety lock secures the hammer, the latter being also used as a piston for an air-pump, forcing a strong jet of air into the chamber and through the barrel, removing all residue after the empty shell is ejected.

The mainspring, firing-pin and extractor can be easily replaced.

The mount consists of two principal parts:—

(a)
Saddle with toothed arc.
(b)
Yoke.

The saddle, in which the gun rests, is pivoted to the yoke by means of the axis bolt, so as to swing in a vertical plane. The gun is held in position on the saddle by the gun pin, which is inserted with its handle vertical; in any other position of the handle the gun is held secure by the gun pin lock screw.

Changes of elevation are made by means of the worm gear, which engages in the teeth of the arc, and is operated by the hand wheel, being secured at any angle by the arc clamp.

The lower part of the yoke is in the form of a spindle, and fits in the socket of the tripod, being secured by a spindle washer and spindle washer bolt.

The tripod consists of a socket to which the legs are hinged. The two front ones being interchangeable, brass shoes are attached to prevent their sinking into the ground during firing.

A seat is attached to the lower portion of the rear leg, also a leather tool bag containing spare parts, etc.

Equipment.

4 feed belts (capacity 250 rounds per belt).

4 feed boxes, for feed belts.

1 leather tool bag, containing the spare parts and accessories.

58

Spare Parts.

1
main spring.
1
hammer.
1
cartridge extractor and spring.
1
sear spring.
2
firing pins.
2
firing pin springs.
2
firing pin lock pins.
2
shell extractors.
2
shell extractor springs.
2
shell extractor pins.
2
handle locks.
2
bolt pins.
2
trigger springs.
4
cotter pins for piston-pin.
1
piston spring.

Accessories.

1
oil can.
1
combination spanner and screwdriver.
1
jointed cleaning rod.
1
combination operating handle and screwdriver
3
drifts.

Instructions for Operation.

Attach box in firing position on the left side of mount.

To Load.—Push belt through opening above the box from the left and draw it as far as it will go. Let go the belt. (Never pull on the belt while the gas lever is being operated.) Swing the gas lever downward to the rear until it strikes the bottom plate of the gun. Release gas lever, when it will resume its normal position.

The gun is now ready to fire.

To Fire.—Hold back trigger. The firing will continue until the trigger is released or until all the cartridges in the belt are fired.

To hold the gun ready for firing, push the safety latch on right side of gun below rear sight from “fire” to “safe.”

To Draw Belt and Cartridges from the Gun.— Push forward the knurled head on the right side of the gun near the belt exit and draw the loaded belt out to the left. Then operate the lever once by hand, as in loading, ejecting the loaded cartridge that remains in the chamber.

Missfires.—Wait a moment in order to make sure that it is a missfire and not a hangfire. Then operate the gas lever by hand, as in loading, which will eject the unexploded cartridge and will re-load ready for continued firing.

59Stoppage from any Cause.—Whether the stoppage occurs from the jamming of a cartridge, missfire, or breakage of a part of the gun, operate the lever once by hand before making any effort to free the mechanism.

If the stoppage occurs when the lever is partially retracted, push it backward until it strikes the bottom plate. Never push it forward. This will generally free the mechanism, unless a broken part stops it. If not freed, draw belt and cartridges from the gun and examine for breakages.

In case of jamming, due to failure to eject empty shell, draw back the lever until it strikes the bottom plate, letting the live cartridge and carrier descend into the bottom position, and remove shell with cleaning rod. The lever is now free to resume its normal position. In this case, examine the extractor, and, if broken or chipped, or the spring does not work well, replace it.

Precautions to be observed.—After dismounting mechanism and before firing is begun, a belt of cartridges (preferably dummies) should be placed in the gun and the lever operated several times by hand, as in loading, to see if mechanism is in proper working order.

Caution.—With the gun hot from rapid firing, a cartridge should not be allowed to remain in the chamber longer than six or seven seconds, as it may be discharged by the heat. In case it is not possible, from any cause, to withdraw the cartridge within this time, and the lever is in its normal position, no harm will be done; but if lever is partially retracted, the bolt is then withdrawn and a “blow back” may occur. In either event, keep away from in front of the muzzle until satisfied that the danger from the explosion of the cartridge by heat is passed.

To Dismount Breech Mechanism.

1. Take hold of the gas lever pin and throw the gas lever rearward until it strikes the bottom plate. Then release the gas lever, when it will fly forward to its original position. This movement cocks the hammer.

60

Plate IX.

COLT AUTOMATIC GUN—Sectional View

MODEL 1914

COLT AUTOMATIC GUN

showing position of Gas Lever when disengaging Barrel Lock, A, to remove Interchangeable Barrel.

2. On the right-hand side of the gun, in front of the trigger, is the handle lock, which is a pin with a small projecting lever resting in a horizontal position. Turn this lever upward and backward as far as possible. Withdraw the handle lock. This releases the handle, which then can be removed rearward. The handle contains the mainspring, hammer, sear, sear spring, trigger and trigger spring. To remove the hammer and mainspring from the handle, pull back the trigger, release the sear by pulling the nose down, when the hammer and mainspring will fly out, as the sear holds them in place.

3. To remove the bolt, throw the gas lever rearward as far as possible, and while holding it in that position insert the small end of the handle lock in the hole on the right hand side of gun, pushing the handle lock in as far as it will go. This removes the bolt pin from the bolt. Withdraw the handle lock pin, but leave the bolt pin in the position in which it now is—i.e., projecting from the left side. The bolt is now free to be removed from the rear of the gun.

4. The extractor and firing pin can be removed from the bolt by pushing out the small pins that hold them in place.

62

To Assemble.

1. Insert the bolt and push forward as far as it will go.

2. Place hand on gas lever, holding it up against bottom plate.

3. Push in bolt pin from left hand side as far as it will go.

4. Then release the gas lever.

5. Replace handle, locking it in position with handle lock.

To Remove Barrel.

Take hold of gas lever pin and throw the gas lever rearward until it strikes the bottom plate, and hold in this position. Withdraw handle lock and insert small end of same in small hole in rear end of gun, and on right side, pushing handle lock in as far as it will go. This causes the bolt pin to lock slide to receiver and to hold gas lever back. Bolt pin will then project from left-hand side. Leave in this position. Replace handle lock.

Attached to gas cylinder will be found barrel lock; place small end of combination wrench under point of barrel lock and press down and out until it clears barrel. Engage combination wrench in slot in under side of barrel just forward of gas cylinder and unscrew; then pull barrel forward and out.

63

To Replace Barrel.

Push barrel in as far as it will go and engage threads; complete this operation with wrench until lines on top of barrel and receiver coincide. Swing barrel lock up into slot. Release gas lever by pushing in bolt pin from left-hand side as far as it will go with handle lock. Replace handle lock. Do not remove or replace barrel until gas lever has been thrown to rear and locked in that position.

To Strip.

Lay gun on right side, muzzle to left. Turn side plate lock screw to left to bring cut in same clear of groove in side plate screws. Unscrew side plate screws and remove. Place right hand on rear of left-hand side plate, press downward, and with the left hand raise front of plate. Turn gun over and remove right-hand plate in same manner. Turn gun so as to bring bottom plate upward. Raise gas lever slightly with left hand, and lift bottom plate out. Raise gas lever again and pull out slide pin. Push slide to rear until it remains. Remove retracting spring tubes by pulling nearest tube toward you and pushing other away from you. Pull or push out gas lever bracket pin, then lift gas lever and connections out of bracket. Push carrier pin out with pointed end of screwdriver and lift carrier out of receiver. Unscrew locking screw and belt guide screw in belt guide. Lift belt guide out. If belt guide should stick, push the point of screwdriver under the slide at rear of belt guide and gently pry upward. Remove handle lock and pull handle out to rear. Push slide to rear and insert end of handle lock in small hole in rear of receiver in side nearest to you, and push out bolt pin. Pull slide to front and out and then push bolt out to rear with finger. Remove safety and trip.

To Assemble.

Hold gun with slot in receiver upward. Insert bolt, front end first. Replace slide, pushing to rear as far as it will go. Replace bolt pin, pushing it in as far as it will go by using end of handle lock. Replace belt guide and screw, having locking screw engage groove in belt guide screw. Replace carrier, having flat side or bottom up and carrier dog down. Insert pin. Replace gas lever, having piston drop into hole in gas cylinder. Adjust gas lever until large pin holes in gas lever and gas lever bracket are opposite each other, then insert gas-lever bracket pin. 64Next place retracting spring tubes in position having slot in followers align with long slot in retracting spring tubes. Force follower over projecting end of retracting connection by pressing follower end inward, at the same time slightly compressing retracting springs until pilot at end of tube clears bracket. Press tube inward at bracket end and into hole for pilot. Place bottom plate in position by putting tongue at rear end in receiver first and flush with rear end of receiver. Place safety in position. Right-hand side plate should be next placed in position, taking precaution to have slide pushed to rear as far as it will go and the feed lever on plate carried to rear as far as it will go, so that feed lever will lay between projections on slide when plate is in position. To place plate in position, have the dowel at rear of plate enter hole for same, in receiver, at the same time having groove near edge of plate engage rib on bottom plate and gas lever bracket pin enter hole in front end of plate. Turn gun over to rest on plate, draw slide forward, having slot at forward end of slide engage end of gas-lever connection. Hold gun at rear end with right hand to prevent moving. Take hold of gas-lever pin with the left hand and swing gas lever outward until slide pin can be pushed into hole in slide through gas-lever connection, having flattened end of slide pin enter slot in side plate. Place trip in holes and slot in receiver. Place left-hand slide plate in position by the same method as right-hand plate. Place side plate screws into holes in front and rear of side plates. If screws do not enter freely see that bottom plate is flush with rear of receiver; if not, tap bottom plate gently on front end until it is flush with rear end of receiver. Screw plates together and lock with locking screws, making a quarter turn of these screws to engage grooves in side plate screws. Push handle into hole in rear of receiver and lock with handle lock. Handle lock is placed in position by inserting large end into hole with the stem held upward and then turned toward front and downward to have projection engage locking cut in side plate and until handle lock stop springs over stem. Place gun in mount and run a few cartridges in a belt through gun to see that mechanism works properly. Keep hand away from trigger during this latter operation, and be sure to work gas lever until all cartridges are out of gun.

65

LIST OF PARTS.

1.
Handle.
2.
Handle lock.
3.
Handle lock and safety stop.
4.
Handle lock and safety stop spring.
5.
Handle lock and safety stop screw.
6.
Hammer.
7.
Mainspring.
8.
Trigger.
9.
Trigger spring.
10.
Sear.
11.
Sear spring.
12.
Trigger and sear pin.
13.
Bolt.
14.
Bolt pin.
15.
Shell extractor.
16.
Shell extractor spring.
17.
Shell extractor pin.
18.
Firing pin.
19.
Firing-pin spring.
20.
Firing-pin stop pin.
21.
Carrier.
22.
Carrier pin.
23.
Carrier dog.
24.
Carrier-dog pin.
25.
Carrier-dog spring.
26.
Carrier-dog plunger.
27.
Gas cylinder.
28.
Gas-cylinder pin.
29.
Gas lever.
30.
Gas-lever pin.
31.
Gas-lever connection.
32.
Gas-lever connection pin.
33.
Gas-lever bracket.
34.
Gas-lever bracket pin.
35.
Gas-lever piston.
36.
Gas-lever piston-pin.
36A.
Gas-lever piston-pin cotter pin.
37–38.
Retracting springs.
39.
Retracting-spring tube, R.H.
40.
Retracting-spring tube, L.H.
41–42.
Retracting-spring follower.
43–44.
Retracting-spring tube screws.
45.
Retracting connection.
46.
Retracting-connection pin.
47.
Retracting-connection long link.
48.
Retracting-connection long link rivet.
49.
Retracting-connection short link.
51.
Retracting-connection short link rivet.
52.
Stock, R.H., with escutcheon.
53.
Stock, L.H., with escutcheon.
54.
Stock screw.
55.
Front side plate screw.
56.
Front side plate screw, Lock screw.
57.
Rear side plate screw.
58.
Safety.
59.
Belt guide.
60.
Belt guide screw.
61.
Feed-wheel and bushing.
62.
Feed-wheel shaft.
63.
Feed-wheel dog.
64.
Feed-wheel dog screw.
65.
Feed-wheel dog spring.
66.
Feed lever.
67.
Feed lever screw.
68.
Feed throw-off.
69.
Feed throw-off spring.
70.
Feed throw-off screw.
66
71.
Ratchet lever.
72.
Ratchet-lever screw.
73.
Ratchet-lever pawl.
74.
Ratchet-lever pawl spring.
75.
Ratchet-lever pawl pin.
76.
Ejector.
77.
Chamber guide.
78.
Bullet guide.
79.
Bullet-guide screw.
80.
Cartridge guide, R.H.
81.
Cartridge guide, L.H.
82.
Cartridge extractor.
83.
Cartridge-extractor pin.
84.
Cartridge-extractor spring.
85.
Trip.
86.
Slide.
87.
Slide pin.
88.
Receiver.
89.
Side plate, R.H.
90.
Side plate, L.H.
91.
Bottom plate.
92.
Barrel.
93.
Front sight.
94.
Rear sight.
A.
Barrel lock.
A1.
Barrel-lock pin.
C.
Combination wrench.
67

Hotchkiss Portable Machine Gun.

COMPONENT PARTS.

1.
Barrel.
 
Assembled—
 
 Trunnion ring.
 
 Gas nozzle ring.
 
 Orifice screw.
 
 Gas cylinder support.
 
 Front sight carrier.
 
 Front sight.
2.
Regulator.
3.
Receiver.
 
Assembled—
 
 Bottom plate.
 
 Front feed guide.
 
 Rear feed guide.
 
 Cartridge base stop.
 
 Feed piece cover.
 
 Closing spring.
 
 Rear sight base.
 
 Rear sight screw.
4.
Hand guard.
 
Assembled—
 
 Catches for legs.
 
 Catch springs.
5.
Locking nut.
6.
Locking screw.
7.
Cocking handle.
8.
Guard with stock.
 
Assembled—
 
 Recoil spring seat.
 
 Hinged strap.
 
 Elevating screw tube.
 
 Elevating screw slide.
 
 Slide spring.
9.
Barrel rest.
10.
Elevating mechanism.
 
Assembled—
 
 Outer screw.
 
 Inner screw.
 
 Base.
11.
Piston.
12.
Fermeture nut.
13.
Breech block.
14.
Extractor.
15.
Firing pin.
16.
Ejector.
17.
Ejector cap.
18.
Cartridge stop.
19.
Cartridge stop holder.
20.
Sear.
21.
Trigger.
22.
Feed piece.
23.
Feed spring.
24.
Recoil spring.
25.
Ejector spring.
26.
Sear spring.
27.
Cartridge stop spring.
28.
Extractor spring.
68

Plate X.

Infantry Model with Elevating Gear.

69

Plate XI.

External Parts.

70

Plate XII.

Working Parts.

71

ACCESSORIES.

One dismounting wrench.
One ejector key.
One hand extractor.
One cleaning rod complete.
Two wire brushes.
One cleaning brush.
One gas cylinder cleaner.
One oil can.
One front sight cover.

GENERAL DESCRIPTION.

The gun comprises a single barrel, receiver, guard and stock, rigidly assembled. Guided in the receiver, parallel to and below the barrel, is the piston, which by its reciprocating motion assures the automatic action of the gun. This reciprocating motion is brought about as follows:—When the bullet in its passage through the bore has passed a port connecting the bore with the gas nozzle, a small portion of the powder gas issues from the nozzle, and impinging in the cup-shaped forward extremity of the piston, throws in the rear. The recoil spring compressed by the piston in its rearward movement now returns the piston to its initial position.

In its movement to the rear the piston, which is accompanied by the breech block, opens the breech, extracts and ejects the spent cartridge case, and brings a fresh cartridge to the loading position. In its forward movement the breech is locked and the shot fired.

Feed.

The cartridges are fed into the gun on flat, tempered steel strips, of 30 rounds each.

A folding barrel rest is provided for steadying the barrel when firing in the prone position which will ordinarily be taken.

For aircraft the gun is mounted on a crutch, and the stock may be replaced by a pistol grip.

The operation of the gun requires but one man, who loads and fires. If a second operator loads the speed of fire is increased from 250 to 400 rounds per minute.

ACTION OF THE MECHANISM

To load, the breech must be opened by means of the cocking handle. As the piston is drawn back, cams on its upper face turn the fermeture nut a partial revolution, 72disengaging its interrupted threads from corresponding threads on the nose of breech block. This unlocks the breech. Under the action of its spring, the feed piece engages with a shoulder on the piston and locks it in its rearmost position.

To permit the introduction of the feed strip, the feed piece must be lifted to its highest position by pressing up on its lower end. This frees it from the shoulder of the piston, which latter moves forward slightly under the action of its spring and engages with the sear. The feed strip may now be introduced into the guides, cartridge side down, and should be pushed forward until the pawl forming part of the feed spring engages with it, so as to prevent any backward movement.

When the trigger is pulled, the piston, accompanied by the breech block, is propelled forward by the recoil spring; the breech block pushes a cartridge from the feed strip into the chamber; the cams on the upper face of the piston act on the fermeture nut, locking the breech; the firing pin is driven against the primer and the shot fired.

When the bullet in its passage through the bore has passed the port leading to the gas nozzle, a small portion of the powder gas, conducted by the port and the gas nozzle, impinges in the cup-shaped forward extremity of the piston, and drives it to the rear. As already explained, the breech is now unlocked by the action of the piston cams on the fermeture nut, the breech block is withdrawn, along with the extractor holding the spent cartridge case, which later is ejected when its head strikes the ejector.

Towards the end of the backward stroke of the piston a cam on its side imparts a slight rotary movement to the feed piece, which advances the feed strip sufficiently to bring the following cartridge to the loading position.

The last cartridge having been fired, the strip is ejected from the gun. Under the action of its spring, the feed piece, which has been held up by the strip, now descends, and, engaging with the shoulder of the piston, locks the breech open. All is now ready for the introduction of another strip.

The firing gear may be set for continuous firing, single shots, or safety, by turning the cocking handle to the positions marked “A,” “R” and “S,” respectively.

73When set at “A” (automatic), so long as the trigger is held back, the piston is free to move forward again under the action of the recoil spring. As a result the gun fires continuously until the strip is exhausted or the trigger released.

When set at “R” (repetition), a separate pull of the trigger is required for each shot, as the sear engages with the piston each time the latter recoils, thus stopping the firing.

When set at “S” (safety) the trigger is locked, and cannot be pulled back. As a result the gun cannot be fired.

TO STRIP AND ASSEMBLE THE GUN.

1st.—Close breech.

(a)
Lift feed piece to its highest position by pressing up on its lower end as for loading. This releases shoulder of piston from feed piece and allows it to move forward slightly and rest on the sear.
(b)
Pull trigger, cocking handle being set at “R” or “A.” As this releases sear, the piston is propelled forward by recoil spring and breech closed as when firing.

2nd.—Remove cocking handle.

(a)
Throw cocking handle knob to left, slightly past vertical and against stop.
(b)
Draw cocking handle back about ½ inch and then throw knob to right as far as possible to an angle of about 45 degrees. By this movement cocking handle is released from piston.
(c)
Withdraw cocking handle to rear.

3rd.—Remove guard.

(a)
Unscrew locking screws on left side of receiver three turns.
(b)
Grasp receiver firmly with left hand and stock or pistol grip with the right. Push stock forward about ⅜ inch and then bring it straight down, separating it from receiver. This combined movement will be learned after a few trials.
 
Firing gear (sear, sear spring and trigger) remains with guard.

4th.—Withdraw recoil spring from receiver.

745th.—Remove recoiling mechanism.

(a)
Insert cocking handle in piston and push it forward as far as it will go, knob inclined at about 45 degrees to right. When home, turn knob to vertical position so as to engage lugs at forward end with piston.
(b)
Draw cocking handle to rear, and with it the piston, breech block, extractor and firing pin.

6th.—Remove feed spring.

(a)
Disengage feed spring from button at top of feed piece, springing it up with forefinger of right hand by means of the hooked portion projecting to rear.
(b)
Dismount feed spring by pushing it to rear with left hand by means of knurled button, at the same time springing it up sufficiently with right hand to clear pawl from rear feed guide.

7th.—Remove feed piece.

(a)
Throw open feed piece cover by means of knurled knob.
(b)
Lift leaf of rear sight.
(c)
Lift feed piece to its highest position and turn through an angle of 180 degrees so that lever points to rear. As flattened portion of axis is now opposite corresponding slot in upper bearing, feed piece may be removed to rear.

8th.—Remove ejector.

(a)
By means of key unscrew ejector cap and remove it.
(b)
Lift out ejector spring and then ejector.

9th.—Remove barrel.

(a)
Unscrew barrel locking nut one-sixth of a turn to a stop with right hand, using dismounting wrench.
(b)
Remove barrel by drawing it straight to front.

10th.—Remove hand guard.

(a)
Turn locking nut to left sufficiently to free its stud from engagement with hand guard. (This stud serves to hold hand guard in place while barrel is being mounted or dismounted.)
(b)
Remove hand guard by drawing it to front.

7511th.—Unscrew and remove locking nut.

12th.—Remove fermeture nut.

13th.—Remove firing pin.

 
Reverse breech block and firing pin will fall into the hand.

14th.—Remove extractor.

 
(a) Grasp breech block with left hand and hand extractor with right; insert hook portion of latter between last and before last coil of extractor spring, compress the spring, tilt the end out of its seat and remove it.
 
(b) By holding breech block upwards, extractor will fall out.

15th.—Remove firing gear from guard.

(a)
Hold stock between knees, the guard to the front.
(b)
With right hand lift hooked arm of trigger sufficiently to clear it entirely from vertical lever of sear.
(c)
With left hand catch knurled button forming outer extremity of sear axis and draw to left sufficiently to free right hand end of axis from its pocket. Now lift sear vertically from guard.
(d)
Lift trigger upward and forward, separating it and sear with spring attached from guard.
(e)
Detach respective ends of spring from sear and trigger.

16th.—Remove cartridge stop.

(a)
Unscrew cartridge stop holder by means of the dismounting wrench.
(b)
Withdraw cartridge stop spring and cartridge stop.

ASSEMBLING.

1st.—Mount in order the following parts: fermeture nut, barrel nut, hand guard, barrel, ejector, spring and cap, feed piece, feed piece spring.

2nd.—Assemble the trigger, sear and sear spring, and then mount them in guard.

763rd.—Mount the recoiling parts in receiver.

(a)
Assemble extractor with breech block.
(b)
Mount the firing pin, bringing it to its rearmost position and turning head to left behind shoulder in breech block.
(c)
Engage piston tang in the under slot of breech block. (Rear face of tang should abut against the rear wall of slot, and under tang of firing pin should engage in corresponding groove in piston tang.)
(d)
Turn fermeture nut to the open position by passing first finger of left hand in ejection slot of receiver. (When in the open position the ejection slot in the fermeture nut coincides with the ejection slot in the receiver.)
(e)
With the right hand grasp rear of piston assembled with breech block, placing thumb on head of firing pin so as to hold it turned to left behind shoulder of breech block.
(f)
Insert piston assembled with breech block in rear of receiver and push it forward with right hand until it comes to a stop. (Its rear face will now be about 1½ inch in front of rear of receiver.)
 
N.B.—It is imperative that the head of firing pin be turned completely to the left, and that fermeture nut be at the open position. The mechanism should slip into place easily, forcing being neither necessary nor permissible.
(g)
While pressing on the lower end of feed piece with the right hand so as to bring it to its highest position, push forward piston with left hand until breech is closed.

4th.—Insert recoil spring in piston and push forward, allowing a few inches to project to rear of receiver.

5th.—Mount guard.

(a)
Grasp pistol grip with right hand as for firing, making sure that firing gear is properly mounted by pulling trigger several times.
(b)
Engage projecting end of recoil spring in its seat in the guard.
77
(c)
Bring the guard to a position under receiver so that the two lugs on its head are opposite their mortises in rear of receiver, the trunnions at the front being below and slightly in advance of their sockets in the bottom of receiver. In order that the end of recoil spring remains engaged in its seat in the guard it may be held in place by means of the end of the cocking handle shank.
(d)
Engage lugs in their mortises and trunnions in their sockets by raising guard vertically.
(e)
Draw guard to rear until solidly seated in receiver.
(f)
Screw up locking screw.

6th.—Mount cocking handle.

(a)
Insert shank of cocking handle in opening in guard, the knob inclined at 45 degrees to right, and push forward to a stop.
(b)
Throw knob to left to a stop.
(c)
Push cocking handle forward until home, and then throw knob to right and down as far as it will go.

In order to replace a defective extractor or firing pin proceed as follows:—

1st.—
Close breech.
2nd.—
Remove cocking handle.
3rd.—
Remove guard.
4th.—
Withdraw recoil spring.
5th.—
Remove recoiling mechanism.

Replace defective part by a spare, and mount by reversing operations.

The extractor and extractor spring can also be removed without stripping gun as follows:—

1st.—
Insert an empty cartridge case in the ejection slot, perpendicular to chamber.
2nd.—
Close breech gently, i.e., by holding it back with cocking handle, on to empty cartridge case, thus giving access to extractor and extractor spring.
3rd.—
Remove extractor spring and extractor by means of hand extractor.

Replace defective part by a spare, cock the gun and withdraw empty cartridge case.

78

POINTS TO BE ATTENDED TO BEFORE FIRING.

1. Cock gun.

2. Pass cleaning rod down the bore to make sure that barrel is clear.

3. See that regulators of all available barrels are properly set.

4. Oil mechanism. A moderate quantity of oil will suffice. It is useless to flood the mechanism. As the essential parts are sufficiently accessible through the ejection slot and by opening the feed piece cover, dismounting is not necessary.

5. Test action of both ejector and cartridge stop by pushing on their points. They should work freely, their springs being elastic but without stiffness.

6. Test action of mechanism by rapidly opening and closing breech several times. It should work freely and smoothly.

OPERATING THE GUN.

In firing, the prone position will be taken ordinarily, the barrel rest being used to steady the gun.

In high grass or under conditions where more height is desirable, ammunition boxes may be placed under the barrel rest so as to increase height.

In short, any sort of rest available may be used, for instance, the top of a parapet or the limb of a tree.

In going into action the following operations must be performed:—

(1) Set barrel rest.

(a)
Free legs from their catches.
(b)
Turn legs forward until at right angles to barrel.
(c)
Open legs with a sharp movement such that the separators catch in one another.
(d)
Place the feet in desired position and force points into the ground.

(2) Mount elevating mechanism.

(a)
Place elevating mechanism foot on ground in such position that it is at right angles to axis of gun.
(b)
Bring gun to approximately the required elevation by turning outer elevating screw.

79(3) Take firing position.

(a)
Take prone position, resting on the elbows.
(b)
Grasp pistol grip and trigger with right hand, pressing stock well into hollow of right shoulder.
(c)
Grasp outer elevating screw with left hand.
(d)
In case elevating gear is not used, left hand grasps stock to rear of receiver and pulls shoulder strap down solidly against shoulder.

(4) Cock gun.

(a)
Throw cocking handle knob to left to a stop.
(b)
Draw cocking handle to rear as far as possible with a sharp quick movement.
(c)
Return cocking handle to its original position, and set at “R” for single shots, “A” for automatic and “S” for safety.

(5) Loading is ordinarily performed by a second operator, who takes the prone position to the right of gun, with ammunition conveniently at hand.

(a)
Raise feed piece to its uppermost position by pushing up on its lower extremity with left hand, placing thumb on feed piece cover.
(b)
With right hand introduce a feed strip into guides, cartridge side down, and push home until the pawl catches.

N.B.—If gun is operated by but one man, loading will be found more convenient if the elevating mechanism is not used; the firer performs both operations of lifting the feed piece and introducing the strip with the right hand, the left hand meanwhile steadying the gun by grasping the stock.

(6) Firing.—The gun is fired by pulling the trigger.

(a)
Single shots: Set cocking handle at “R” (repetition). One shot is fired each time trigger is pulled.
(b)
Automatic firing: Set cocking handle at “A” (automatic). If trigger is held back the entire strip of 30 rounds is fired automatically.
(c)
Volley firing: Set cocking handle at “A” (automatic). The trigger may be released after some 3, 5, or 10 rounds, as circumstances require, aim quickly altered and firing resumed, i.e., the strip of 30 rounds is fired in volleys, as required.
80
(d)
Safety: Set cocking handle at “S” (safety) and remove strip, unless firing is to be promptly resumed.

N.B.—The trigger must be released at the end of each strip, so that the sear will hold the piston at the cocked position during the introduction of the following strip. Otherwise, as soon as the feed piece is raised preparatory to loading the breech will close, necessitating recocking the gun before continuous firing.

(7) Unloading.—In order to remove a partially spent strip, proceed as follows:—

(a)
See that breech is open, cocking if necessary.
(b)
Hold claw of pawl free from strip by pushing upon lower extremity of feed piece with left hand while withdrawing strip with right.

N.B.—As a live cartridge never remains in the chamber the mere presence or absence of the strip shows whether the gun is loaded.

RAPID CHANGE OF BARREL IN THE FIELD.

In prolonged firing it is sometimes desirable to replace a hot barrel by a fresh one, so as to allow the former to cool.

This operation, which is performed without dismounting any part of the mechanism, requires some 10 to 15 seconds.

Proceed as follows:—

Suppose the gun in the firing position.

The firer unscrews the locking nut one-sixth of a turn with the right hand, using the dismounting wrench.

While the second operator grasps the legs of the barrel rest, quite near the barrel, No. 1 separates the barrel from the receiver by drawing the latter to the rear.

Resting the butt on the ground No. 1 now mounts the fresh barrel and pushes it home.

Meanwhile No. 2 handles the hot barrel by means of the barrel rest, which he then detaches as follows:—

(a)
Fold the legs.
(b)
Turn the legs forward until in line with the barrel.
(c)
Pivot the legs half a turn around the lug of the front sight carrier, thus permitting the separation.

81The fresh barrel being mounted, No. 2 attaches the barrel rest and resets it.

A hot barrel may be carried by means of dismounting wrench.

COOLING BARREL.

To reduce wear of rifling, the barrel should be kept cool if circumstances allow.

Water is not harmful, and when available may be copiously applied to barrel by means of a sponge or rag.

A hot barrel may be dipped in water, but all traces of latter must be removed from barrel bore and gas cylinder, by blowing through same, by means of cleaning rod, or by firing two or three loose cartridges.

Until all water is blown out of gas cylinder, the gas pressure may be insufficient for ensuring automatic action.

USE OF THE REGULATOR.

In order that the working of the gun may be regular, sufficient power must be available to ensure complete recoil of the piston. The amount of power necessary must vary because of insufficient oiling, dust, or fouling in the mechanism, &c. Then, again, pressure of the powder gases may vary because of temperature, deteriorated powder, or badly worn rifling.

The regulator affords means of varying the power which works the gun. Under normal conditions it should be set at 25.

To test the automatic action, fire several shots with regulator set at 25 and cocking handle at “R,” and observe:—

(a)
One shot should be fired at each pull of trigger. If more than one shot is fired at a time, it shows that piston does not recoil sufficiently after each shot to catch on sear.
(b)
Claw of pawl should catch in the opening in strip at each shot. If pawl rides on top of strip instead of catching, it shows that piston does not recoil sufficiently to throw feed lever through a complete stroke.
(c)
The ejection should be regular and energetic.

82If these three points are not satisfactory it may be concluded that there is a lack of power, and regulator should be screwed up from 5 to 10 divisions.

On the other hand, too much power is not desirable, as the vibration due to the violent action of the mechanism necessarily affects accuracy.

ACCIDENTAL STOPPAGES IN THE AUTOMATIC ACTION OF THE GUN.

In case of a jam always proceed as follows:—

(a)
Open breech completely by means of cocking handle.
(b)
Remove jammed cartridge through ejection slot by using hand ejector or cleaning rod as the case may be, and see that chamber is clear.
(c)
Withdraw the strip if some remedy is to be applied. Otherwise push it forward, bringing the next cartridge to the loading position.

STOPPAGES AND THEIR REMEDIES.

(1) Jam on the first round of a strip.

The strip was probably not pushed completely home before trigger was pulled. Always push forward strip until pawl catches, so that both strip and cartridge are positively held in loading position.

(2) Missfire.

Eject defective cartridge by cocking gun, and continue firing.

N.B.—A loose primer falling into the mechanism may cause repeated missfires. Dismount the piston and breech block so as to remove primer, which will usually be found either in the piston cams or in the fermeture nut near the entrance to the chamber.

Missfires may be also due to a weakened recoil spring. In this case replace the spring with a spare.

(3) Bad introduction.

The cartridge jams at entrance to the chamber when being pushed forward by breech block. The bullet of 83the cartridge in question may have been imperfectly seated due to defective crimping, or the cartridge insufficiently held by the clips of the feed strip.

In the latter case the strip should be put aside for re-sizing.

Another cause of bad introduction is incomplete feeding due to lack of power. In this case screw up the regulator 3 to 10 divisions.

(4) Incomplete ejection of the spent cartridge case.

This is due to lack of power. Screw up the regulator 5 to 10 divisions.

CLEANING AND CARE.

This arm requires the same care as the service rifle. It must be kept clean and free from rust, and all parts lightly oiled. No gritty substances or emery should be used.

As soon after firing as practicable the barrel should be thoroughly cleaned and oiled, particular attention being paid to the chamber.

The gas cylinder should be kept free from fouling by means of the cleaner so that the regulator can be easily screwed up without using the dismounting wrench.

When the gun is not in use the breech should be kept closed so as to avoid weakening the recoil spring.

FEED STRIPS.

The feed strips hold 30 rounds each. There are three rows of clips which hold the cartridge near the base, the middle and at the neck. A stop lug which catches behind the head of the cartridge case prevents longitudinal motion.

FEED STRIP FILLING MACHINE.

The feed strip filling machine is constructed for clamping to a bench or plank, as, for instance, the lid of a cartridge box.

The hopper and clamp are removable for compactness in packing.

84The machine must be so placed that the crank can be conveniently turned with the right hand.

Proceed as follows:—

(a)
Fill the hopper with cartridges.
(b)
Push a feed strip, stop lugs to the rear, in its guides on the machine until the feed tooth catches back of the first middle clip.
(c)
Turn the crank. At each complete turn of the crank first a cartridge is pushed forward into the clips, and then the feed strip fed ahead one notch into position for the succeeding cartridge.
(d)
When filled remove the feed strip.

This machine is operated most efficiently by two men. One supplies the machine with feed strips, turns the crank, and removes filled feed strips; the other supplies the hopper with cartridges.

N.B.—The feed strips may also be readily filled by hand; care should be taken that the rims of all cartridges bear back against their stop lugs.

RE-SIZING THE FEED STRIPS.

When the feed strips have been used repeatedly, the middle clips sometimes lose their curvature to such an extent that the cartridges are not firmly held. This is quickly remedied by passing the strips through the re-sizing tool so as to restore the middle clips to their original form.

As a rule, very little re-sizing is necessary, slight contact between the re-sizing roller and the top of the middle clip sufficing.

85

General.

DUTIES.
(Referring mainly to the Maxim and Vickers’ Guns.)

Section Officer.

To command his section in accordance with orders and the tactical situation.

To select gun positions.

To observe and control fire.

To give instructions to range taker.

To act, when brigaded, under instructions of the B.M.G.O.

Sergeant.

Supervise guns coming into action as the section officer will direct.

Be prepared to take command in the event of the officer becoming a casualty; in fact, act as the officer’s understudy.

Corporal.

Responsible for packing, and contents of limbered wagon·

On the march he will be in rear of it and work brake as required.

Superintend unpacking, and take command in the absence of officer and sergeant.

See that rifles and packs of Nos. 1, 2, 3 and 4 are put into wagon.

Have spare parts box handy.

Supervise ammunition supply and belt filling.

Direct limbered wagons as required.

Superintend filling of sandbags and cutting of brushwood.

Watch for signals from section officer.

Take place of sergeant in the event of him becoming a casualty.

86

No. 1 Firer.

Will personally clean and look after his gun.

Carry tripod into action, place it in position and assist No. 2 in mounting.

Repeat all orders received.

Observe his own fire.

No. 2.

Assists No. 1 at the gun, carries it into action and mounts it with the assistance of No. 1.

Attends to the feeding.

Watch for signals from the section officer.

Nos. 3 and 4.

Ammunition carriers.

No. 3 takes first supply to the gun assisted by No. 4 and arranges that spare parts wallet is brought up to gun position.

He is also responsible that the condenser is in position before water boils.

No. 4 takes ammunition from limber to No. 3 when a further supply is required.

Takes condenser complete, and half filled with water to No. 3.

No. 5—Scout.

Acts as ordered by section officer.

No. 6—Range taker.

Takes ranges and prepares range cards.

The other No. 6, is a spare man and acts according to orders from his officer.

Drivers.

Remain with wagons and must act on signal from the officer. They should be taught to fill belts by hand or machine and to act as ammunition carriers.

SECTION DRILL (WITH TRANSPORT).

Drill with Limbered Wagons.

The detachment will be formed up in two ranks six paces in rear of the wagon, facing outwards.

On the command or signal “Action,” the driver dismounts and stands to his horses. The sergeant and Nos. 5 and 6 double out to the section officer. The corporal lowers the tail-board and superintends the unpacking. The remaining numbers ground arms on the word of command of the senior number, and fall out to the wagon to perform the duties detailed above.

87The corporal selects a suitable covered position for the limbered wagon, if necessary.

On the command or signal “Dismount guns,” the procedure for unpacking is reversed, and when completed, detachments fall in and take up arms by word of command.

Drill with Pack Transport.

Normally mules will be led by Nos. 1, 2, 3, 4, 7 and 8.

On the command “Prepare for action,” Nos. 2, 3, 7 and 8 will link their mules to those immediately in front of them.

Nos. 7 and 8 will lead Nos. 1 and 4 mules. Nos. 1 and 2 will march on the tripod and gun sides respectively of No. 1 mule and loosen straps. Nos. 3 and 4 will march on either side of No. 2 mule.

On the command or signal “Action,” No. 1 will off-load the tripod and No. 2 the gun; No. 3 will off-load the leading ammunition animal.

The corporal will select a suitable covered position for the pack animals. The other duties of the various numbers are as on pages       .

On the command or signal “Stand to,” Nos. 1, 2 and 3 will reverse the actions of off-loading. The detachment will then form up for marching.

SECTION DRILL (WITHOUT TRANSPORT).

Guns, tripods and ammunition boxes will be placed on the ground, muzzles to the front and in line, legs to rear, straps round rear legs buckled, clamps sufficiently tight to prevent legs from hanging loose when tripod is lifted. Traversing clamp sufficiently loose to enable gun to be deflected by a sharp tap with the hand on rear crosspiece, guns on right and not closer to each other than eight paces, ammunition boxes three paces in rear.

Fall in.—Detachment for the two guns will “fall in” in two ranks, five paces in front of the interval between guns, sergeant on left of front rank, corporal covering him in rear.

Front rank will be right gun detachment.

Rear rank will be left gun detachment.

Number.—As in squad drill.

Take Post.—Detachments turn outwards and double to their respective guns (sergeant and corporal on outer 88flanks, where they can superintend). Nos. 1 and 2 fall in on left of tripod; No. 3 on left of ammunition box. (If ground suitable these numbers should lie down.)

Nos. 4, 5 and 6 fall in, in single rank, in rear of No. 3.

The gun position and point of aim is then indicated, followed by command:—

Mount Gun.—No. 1 picks up tripod, having previously seen that both elevating screws are exposed the same distance, carries and places it in position indicated. In adjusting, he must ensure that crosshead and sights are upright, and legs clamped tight. No. 2 should so time his advance that he will arrive immediately the tripod is adjusted. He will carry gun to right side of tripod, holding rear crosspiece with left hand, gun muzzle to rear under right arm. Kneels on left knee, facing tripod, and supporting weight of gun on right knee, places it on tripod, drives in and turns down crosshead joint pin, and removes cork plug from steam escape hole.

No. 1 fixes elevating joint pin and directs gun towards the mark.

No. 2 kneeling and placing ammunition box in position.

No. 3 when he sees gun nearly mounted, will carry ammunition box forward and place it within reach of No. 2. He then retires to a position not immediately in rear of the gun.

Load.—No. 1 raises tangent sight, No. 2 passes tag of belt through feed block. No. 1 turns crank handle on to buffer spring, pulls belt to left front as far as it will go, and lets go crank handle, releases strain on belt, then turns crank handle on to buffer spring, again pulls belt to left front and lets go belt and crank handle. The gun is now ready to fire.

Single Shot Loading.—Carry out first half of loading motions, then, without touching belt, turn crank handle on to buffer spring and let go.

800 (Range).—No. 1 repeats the order and adjusts slide to elevation required.

At (Object).—No. 2 adjusts traversing clamp if ordered to by No. 1, who lays the gun, raises automatic safety catch with forefinger and prepares to fire.

When No. 1 is ready No. 2 holds up his hand.

Fire.—No. 1 presses the double button.

89Cease Fire.—No. 1 releases automatic safety catch and remains steady.

Traversing Fire.—No. 1 will lay gun on flank named, press button, and tap alternately, with the hand, on the rear crosspiece in the required direction, until limit is reached.

Unload.—No. 1 lowers the sight (not the slide), turns the crank handle twice in succession on to buffer spring, letting it fly back each time on to the check lever; then presses up finger pieces on bottom pawls, No. 2 withdrawing and repacking belt in box. No. 1 clears ejector tube and lock, and releases lock spring by pressing double button.

Dismount Gun.—No. 1 removes crosshead and elevating joint pins. No. 2 replaces cork plug, passes ammunition box to No. 3, and removes gun to its original position in rear, No. 1 following with tripod, joint pins will then be pushed home, legs folded and clamped.

Prone Position.

Mount Gun.—No. 1 crawls into position, pushing tripod forward with right hand, having first adjusted front legs by turning it over and moving legs round so that they remain in a slightly backward position over the elevating wheel.

When in the position ordered for mounting, he turns legs down and adjusts so as to secure a low, upright position of the crosshead.

No. 2 will then move into position, on his back, carrying the gun across his body, muzzle to the front. On reaching tripod he will push muzzle towards No. 1 who will assist in mounting, and insert crosshead joint pin, No. 2 inserting elevating joint pin and removing cork plug.

No. 1 will then turn into position for firing, supporting himself against the legs of No. 2.

Adjust sights, load, and fire as ordered.

Out of Action.—No. 1 will unload, Nos. 1 and 2 (in prone position) will take hold of rear leg (No. 1 with right hand, No, 2 with left), and draw gun out of action until under cover, when gun will be dismounted in the usual manner; No. 2 having drawn ammunition box back with the gun.

90

TESTS OF ELEMENTARY TRAINING.

No. of Test. Nature of Test, with Commands. Standard Time. Remarks.
I. To erect tripod and mount gun. “Mount Gun.” 20 sec.  
II. To load the gun. “Load.” 5 sec. All motions distinct. No slurring.
III. To adjust sights and lay gun “At ... (Range) ... Object ...” 12 sec. From range being ordered until No. 2 holds up his hand.
IV. To unload the gun. “Unload.” 5 sec. Motions distinct, belt correctly repacked, Lockspring released.
V. To dismount the gun. “Dismount Gun.” 15 sec. All points as at beginning of Test I., and cork plug replaced.
VI. To bring gun into action (Range ... Object ...) “Action.” 40 sec. All points for Tests I., II. and III. to be fulfilled. Time taken until No. 2 holds up his hand.
VII. Horizontal Traversing (Limits of Traverse). “Traversing Fire.” 3 sec. for each complete series.  
VIII. Diagonal Traversing (Limits of Traverse). “Traversing Fire.” 4 sec. for each series.  
IX. Rectifying Stoppages. “Gun Stops.” Correct procedure begun, 3 sec. Correct remedy applied and gun relaid after remedy.
X. Belt Filling. 1 min.
12 min.
25 rounds.[1]
250 rounds.[1]

1. Placed in a heap. Pass for inspection when filled.

CHARACTERISTICS OF MACHINE GUN.

The fact that the gun is mounted upon a platform and the personal factor thus reduced, results in a close grouping of fire, and practically the same results are obtained in war as in peace, the beaten zone being about half the area of that of rifle fire. This gives the following advantages:—

Surprise effect.

Observation of fire for ranging.

Overhead covering fire.

Other advantages of the machine gun are:—

Narrow frontage (a machine gun only occupying the same frontage as two infantrymen).

Difficult to locate.

Normal rate of fire about 500 rounds per minute. 91All-round traverse, which allows gun to be turned in any direction without moving tripod, and with little exposure.

Mobility: It can go wherever a man can go on foot.

It has, however, the following drawbacks:—

Overheating, and consequent stoppage through too prolonged fire.

Noise of firing, and steam from barrel casing reveals position.

Narrow and scattered objects are unsuitable targets.

It will be seen therefore that the machine gun is a weapon of opportunity particularly adapted for surprise effect, but not for sustained fire action.

FIRE DIRECTION.

The following methods should be used:—

Ranging Fire.

Bursts of fire limited to from 10 to 20 rounds.

It is unlikely that observation will be obtained with larger bursts.

Rapid Fire.

In groups of from 30 to 50 rounds, the firer pausing slightly between each group to confirm the alignment of sights.

Traversing Fire.

Distributed laterally, and applied in a series of small groups, the object being to cover as wide a front as possible, with a minimum of volume. (Groups should consist of from 5 to 10 rounds only.) A belt of 250 rounds should cover a frontage of 25 yards in one minute.

Swinging Traverse.

For trench warfare, and against dense targets at close ranges, the traversing clamp being kept fairly loose and the gun traversed evenly and smoothly from side to side, both hands retaining their hold on the traversing handles.

Combined Sights.

When two or more guns are working together, the depth of the effective zone can be increased by ordering different elevations for each gun, both, however, using the same point of aim.

92The respective depth and width of effective zones may be taken as being:—

Range. Mark VI. Mark VII.
Depth. Width. Depth. Width.
Yards. Yards. Feet. Yards. Feet inches.
500 150 4 220 2 6
1,000 70 8 140 5 0
1,500 60 13 70 10 0
2,000 50 19 60 17 6

From this it is apparent that, allowing an error of 10 per cent. in ascertaining the range, the flatness of trajectory within 800 yards will insure the target being included in the effective zone, therefore with Mark VII ammunition combined sights should not be used at less than 800 yards.

Bracketing.

When only a section is available and the “combined sights” method does not give sufficient assurance of fire effect, “bracketing” should be used as follows:—

The range estimated, probable error determined, and the limits between which it is necessary to search with fire, the maximum and minimum elevation will be allotted to right and left gun respectively, who fire a burst and then work inwards (one higher, one lower) by altering their respective elevations 50 yards each time, eventually passing each other. If observation of the fire can be obtained, correct elevation should be immediately ordered.

With Mark VII ammunition this method would not be necessary at 1,000 yards, as with a 10 per cent. error the “combined sights” method would give a satisfactory result.

Vertical Searching.

The range to nearest point of objective is taken, sight adjusted and gun laid on this point.

Sights are then set for the farthest point of the objective. This will bring the line of sight short of the aiming-point. A series of bursts are then fired, care being taken that each burst strikes just beyond the former one, but does not leave any gap between groups.

Overhead Fire.

Can be employed normally from or at a commanding position, or across a valley, but not when own troops and those of the enemy are on same plane.

93Range of target must be accurate. If 1,000 yards or under, angles of sight to enemy and own troops must not be less than 30 minutes. If range is between 1,000 and 1,500 yards, the angle must not be less than 60 mins.

Overhead fire should not be used at 1,500 yards and over.

The following method of sighting can be used.—

Adjust backsight to correct range of target and lay gun on mark. If gun is nearer than 900 yards, raise sight by 400 yards, and if further than 900 yards, raise sight 250 yards.

The new line of sight gives safety angles.

When heads of own troops come into line of sight, cease fire, or continue to elevate gradually, keeping pace with advance.

Indirect Fire.

Firing from concealed positions at an auxiliary aiming mark.

A machine gun protractor, or graticules cut across the focal plane of prismatic glasses are most satisfactory. By this means indirect fire can be applied as easily as direct fire.

Night Firing.

The gun may be laid by day and left until required, or by use of the “night firing box,” as follows:—

A stick is placed in the ground 10 yards in front of gun in a direct line with the target, and at night the stick is replaced by the “night firing box”—the sights altered (but not the gun) until aligned on the lamp at the point where the lines form the true centre.

Searching and deflection can be satisfactorily carried out with this apparatus.

EXAMPLES OF FIRE ORDERS.

Normal Fire Order using One Elevation.

Range.

Aiming mark.

Fire (signalled).

Cease fire (signalled).

Changes in elevation (up or down 100), as required.

Combined Sights.

Range and differences.

Aiming mark.

Fire (signalled).

Changes in elevation (left gun up 200, right gun down 200) (or more, as required).

94

When Brigaded within Hearing.

The B.M.G.O. issues fire orders direct to the Nos. 1 as above.

When “differences” “by sections” are required the fire order will be as follows:—

B.M.G.O.

(a)
By sections—Range—Differences.
 
(Pause for section officers to name the number of their sections and the “range” for their sections; they do not repeat the “differences.”)
(b)
Aiming mark.
(c)
Fire.

Traversing Fire.

Range.

Target (naming right and left limits to be traversed).

“Inwards traversing.”

Fire (signalled).

The same method is employed when laying on the centre, the caution “Outwards traversing” being given.

When brigaded within hearing orders are issued as follows:—

By B.M.G.O.:—

Range.
Limits of traverse.
Fire (signalled).

Section officer repeats limits to be traversed, and immediately issues orders respecting ground to be traversed by their own sections, corresponding to their own positions.

Vertical Searching Fire.

Range.

Aiming mark.

To “range” vertical searching.

Fire (signalled).

Bracketing Fire.

Ranges—bracketing.

Aiming mark.

Fire.

SIGNALS.

In many cases observation will be impossible from the gun position and it will be necessary for observers to signal results from a flank.

95The following semaphore code is used in signalling the results of observation of fire:—

P—
Plus: meaning fire observed at least 50 yards beyond target.
M—
Minus: meaning fire observed at least 50 yards short of target.
T—
Right: meaning fire observed to right of target.
C—
Centre: meaning direction of fire correct.
U—
Unobserved: meaning no observation obtained.
Q—
Query: meaning fire observed, but its position uncertain.
R—
Range: meaning range correct.

The signaller at the observation post should give the “call up” to show that the observers are ready. “P” and “M” may be repeated for multiples of 50 yards; thus, “PP” would mean, “Fire observed at least 100 yards beyond target.” Signals should be repeated from the gun position if this can be done without disclosing the position to the enemy.

On all occasions when guns are firing, the following signals should be used in controlling fire:—

Signal for “Action.”—Both arms fully extended, raised from the sides to a position in line with the shoulders and lowered again. This motion to be repeated until it is seen that the signal is being complied with. Note.—A machine gun is said to be “In Action” when it is mounted, loaded and laid, but not necessarily firing.

Signal for “Out of Action.” Arm swung in a circular motion in front of the body.

By No. 2.

Hand up—Gun ready to open fire.

By Controlling Officer.

Hand u— Preparatory to opening fire.

Hand dropped—Open fire.

Elbow close to the side, forearm waved horizontally—Cease fire.

GENERAL MACHINE GUN COURSE.

Extracts from War Office Letter No. 9/General Number/4976 (M.T. 2), dated 14th May, 1915.

1. PERSONNEL.

The following table shows the establishment of the Service Machine Gun section to be maintained in the 96following units:—New Armies, Reserve Units, Territorial Force Units, Colonial Contingents.

Unit. Officers. Sergeants. Corporals. Privates.
New Armies (Infantry Battalions):—        
  Service Section 1 2 1 24
  Reserve Section[2] 1 2 1 24
           
Reserve Cavalry Regiments 1 1 1 24
           
Territorial Force:—        
  Yeomanry Regiments 1 1 1 24
  Infantry Battalions 1 2 1 24
  3rd Line Depôts 1 1 1 24
           
Special and Extra Reserve Infantry Battalions:— 1 1 1 24
  2nd Reserve Infantry Battalions (supplying 3 Battalions)[3] 1 1 1 24
  2nd Reserve Infantry Battalions (supplying 2 Battalions)[3] 1 1 1 18
  2nd Reserve Infantry Battalions (supplying 1 Battalion)[3] 1 1 1 12
           
Colonial Contingents:—        
  Cavalry Regiments 1 1 1 24
  Infantry Battalions 1 2 1 24

2. See paragraph 3.

3. Until the Second New Army goes overseas, 2nd Reserve Infantry Battalions will all be considered as supplying one Battalion for the purposes of this Letter.

In draft producing units, the personnel of machine gunners will always be maintained; a reserve of men thoroughly trained in mechanism, drill, etc., must be available to fill the gaps in the service section caused by drafting.

2. AMMUNITION.

300 rounds (Territorial Force Units, Mark VI., other Units, Mark VII.) will be fired in the General Machine Gun Course by each Officer, N.C.O. and man of the existing service section or on his appointment thereto, as soon as he is fit to fire.

Exceptions:—

(a) Men who have already fired a complete course:

(b) Men who have commenced a course previously approved will complete such course.

97Machine gunners of New Army Battalions, other than 2nd Reserve Battalions, will not commence the course until authority is given to do so.

Ammunition allotted to Machine Gun Sections is not to be expended for rifle firing.

3. GENERAL MACHINE GUN COURSE.

Part I.   Rounds allotted.
Practice 1.— Grouping   10
2.— Single shot, traversing   10
3.— Application   20
4.— Vertical searching   20
5.— (Omitted).    
Additional Practice.— Swinging traverse   30
    Repetition   20
       
        110
       
Part II.
         
(Range 400 yards for all Practices except Practice 14.)
         
      Time. Rounds
      Seconds. allotted.
Practice 7.— Ranging   20
8.— (Omitted).    
[4]9.— Application 20 30
[4]10.— Traversing 50 60
11.— (Omitted).    
12.— (Omitted).    
13.— Observation   20
14.— Fire at successive positions (range 600 yds. to 200 yds.)   40
       
    Total   170
       
    Part I.   110
       
    Part II.   170
       
Surplus for repetition of indifferent shots to be pooled and used at the discretion of the Commanding Officer 20
       
Grand total   300
       

4. Classification practices.

98

Notes.

Part I.

1. Additional Practice.—For trench warfare, and against dense targets at close range, the “Swinging Traverse” has been found necessary. It in no way replaces the method of traversing by automatic tapping, which should still be considered the normal method. The swinging traverse is taught by teaching a man to traverse a machine gun instructional target evenly and smoothly in about 6 seconds.

Part II.

2. Practice 10.—It will be necessary to shorten the target, as 40 rounds less are allowed for in this practice. This will be done by using two 10–feet screens instead of three. Spaces will be 20 inches.

3. Practice 13.—(a) If a field firing range is not available Practice 11 will be substituted for this practice.

(b) Observation should be taken by three parties, left, right, and centre, who should change round after each firer. Section Officers should ascertain that each man has observed from each position.

4. Practice 14.—10 rounds will be fired at each of the four distances from 600 yds. to 200 yds. on the lines laid down in Musketry Regulations. These rounds will be “spaced out” before commencing the practice, and the firer will proceed to the next range on completing his 10 rounds, whether he has secured a hit or not.

Classification.

5. Machine gunners will be classified upon the result which they obtain in Practices 9 and 10, General Machine Gun Course, as follows:—

To be classified as a “1st Class Gunner” 50 points.

To be classified as a “Qualified Gunner” 25 points.

Points will be allotted in the classification practices on the same basis of scoring as laid down in paragraph 647, Musketry Regulations, Part I., 1909 (reprint), 1914.

Preliminary instruction in aiming and firing should be given by means of a Rifle Attachment.

A very satisfactory one can be obtained at small cost from Messrs. A. G. Parker & Co., Whittall Street, Birmingham.

99 [Clamps]

The illustration is practically self-explanatory. The large round clamps fit on the water jacket of the machine gun and the small clamps hold the rifle, which can be adjusted to hit at exactly the same mark as the machine gun barrel is aimed at.

The trigger of the rifle is connected to the machine gun by the adjustable chain device shown.

The apparatus is in constant use at the Schools of Musketry, and is the invention of Armourer Sergeant-Major Hiscock, of the Motor Machine Gun Section.

WAR ESTABLISHMENTS OF NEW ARMIES, 1915.

4
Guns.
1
Subaltern.
2
Sergeants.
1
Corporal.
24
Privates.
6
Drivers.
1
Batman.
1
Riding horse.
12
Draught horses.
4
G.S. limbered wagons.

The G.S. limbered wagons contain:—

4 guns with tripods.
7,000 rounds of ammunition in belts, and
4 ammunition pack saddles for lead horses.

1 pick-axe, 1 shovel, and 1 billhook are carried with each machine gun tripod as part of its equipment. 60 sandbags per infantry battalion are carried for use with machine guns.

100

NOTES FROM THE FRONT.

Points to Remember.

Conceal guns and men.
Select best position to achieve the object you hope to achieve.
Have alternative positions prepared.
Provide effective obstacles.
Keep guns and belts free from dirt.
Give out any preparatory orders necessary.
Be always ready to fire when wanted.
Study the ground all round the position.
Remember the value of cross fire.
Keep your fire for the proper moment.

Choice of Gun Positions.

The choice of a gun position must be governed by the following considerations:—

Enfilade fire, against the enemy and against ourselves.
Overhead fire, to support our own troops.
Long-range fire, against enemy’s supports.
Fire against houses, etc., in rear of enemy’s line.
Fire against likely places for enemy’s machine guns.
Concealment from enemy’s artillery.
Alternative positions.
Lines of advance and retreat.
Covered approach for ammunition carriers, etc.
Facilities for control of guns.
Avoid:—
Obvious positions.
Positions easy to describe. } Either from surroundings
Positions easy to arrange upon. } or maps.
Positions near prominent objects or aiming-points.
Ground which will facilitate observation of fire by the enemy.

Employment of Machine Guns.

The fire of well-concealed machine guns may often be directed against:—

Windows, doors, roofs, etc., of houses thought to be occupied.

101Areas of bush, crops, etc.

Open spaces across which the enemy are dribbling in small parties in order to concentrate at another point.

The enemy’s firing-line.

It may happen that machine guns are forced to open fire in self-defence, or to assist the advance of the infantry in spite of the target offered not being a suitable one for machine guns.

Any tendency, however, to open fire with machine guns without good reason must be suppressed.

Machine Guns and Artillery.

Every effort must be made to prevent machine guns being located by artillery.

If guns are shelled they must either:—

Change their Position at once.—This would be the usual proceeding. A movement of quite a short distance—say 50 yards—is quite sufficient in many cases; or—

Cease fire while detachments take cover until the shelling stops.—If this be done, the hostile artillery may think that the machine guns have been put out of action.

Good targets may then present themselves, and the guns may be able to reopen fire with good effect from the same position.

There have been several cases of machine guns firing against artillery with great success. The following instances are quoted:—

(a) A section of machine guns worked forward to a concealed position 900 yards away from a German field battery in action. The section brought oblique fire to bear on the battery and completely silenced it.

(b) A section took a German field battery in enfilade at 2,400 yards. The battery was firing at the time, the gunners fled from their guns, and the battery was silenced.

Note.—Frontal fire by machine guns against shielded artillery can only be expected to produce moral effect. This moral effect may, however, be considerable; and, in addition, the machine gun fire may greatly hamper the supply of ammunition to the guns, etc.

102

The Occupation of Various Positions by Machine Guns.

Barricades.—When barricading roads, bridges, streets, etc., machine guns should not be placed on the barricade itself if equally good effect can be obtained by placing the guns in positions commanding the approaches to the barricade.

Banks.—The banks of rivers, canals, streams, etc., can be made use of for gun positions, or covered lines of advance or retreat.

Crops.—Standing crops often form useful cover for guns and concealed lines of advance, etc.

Ditches.—These can often be used to enable machine guns to be pushed forward, so as to bring oblique or enfilade fire to bear on the enemy.

Great care must be taken not to show above the banks of the ditch.

A few men should be pushed along the ditch on the exposed flank as a protection against snipers, counterattacks, etc.

Houses.—Houses may be used as follows:—

Place the gun in the back of a room, firing through an open window, or a window from which a few panes of glass have been removed.

Remove a few tiles from the roof, and fire through the opening thus made.

Should a house have two doors or two windows, directly behind one another, the gun may be placed in rear of the house, and fire through these doors or windows.

Place the gun in rear of the house, so that oblique or enfilade fire can be brought to bear on the enemy.

If the house possesses a cellar, the gun may be placed in the cellar, a few bricks being removed, so as to enable the gun to be fired from the ground-level.

In whatever position the gun is placed some protection should, if possible, be provided for the numbers, such as an emplacement of sandbags, stones, bricks, etc.

103It should be remembered that if the gun is located in a building by the enemy’s artillery, it may be necessary to evacuate the building quickly; arrangements must therefore be made to meet this contingency.

Folds in the Ground.—Great use can be made of folds in the ground for the concealment of machine guns.

The gun should be placed so as to enable the bullets to clear the crest, while the gun and detachment are concealed as much as possible.

Haystacks.—These can be made use of as follows:—

Hollow out front of haystack.

No. 1 sits in this hollow, with his back against the hay.

The loose hay is piled up in front of the gun.

Cut out a place for the gun on top of the haystack.

If possible, make a rough platform of boards.

The gun then fires over the top of the ridge of the stack.

Place the gun behind the haystack in such a manner that oblique or enfilade fire may be brought to bear on the enemy.

The gun is then entirely concealed from the front.

This is, as a rule, the best method of using a haystack.

Hedges.—Can often be used as a covered approach and as fire positions giving cover from view.

A few men should be placed along the hedge, on the exposed flank, for protection.

Mounds of Earth, Roots, etc.—These may be used as follows:—

Hollow out the mound from the rear, so that the gun can fire from the hollow while it is concealed from the front.

Planks, sandbags, etc., can be used to support the earth.

Fire over the top of the mound, using the mound as a parapet.

Place the gun behind the mound, using the mound as a cover from the front, while oblique or enfilade fire is brought to bear against the enemy.

104Stacks of Wood.—The stack may be hollowed out from the rear, so that the gun can be placed inside the stack, and fire to the front, while being perfectly concealed from view.

The position can be strengthened by using sandbags inside the stack.

Stooks of Corn can also be used to provide cover from view.

Trees.—Trees, when in leaf, may be used as possible gun positions.

Trees with strong branches are necessary, and a platform for the gun must be built in the branches.

Tree-trunks can also be used to provide cover from view.

Trenches.—When guns are not used in trenches they should, when possible, be placed so as to bring oblique or enfilade fire against:—

The enemy’s trenches.

The ground over which the enemy must pass, should he attack.

Our own front line trenches in case the enemy penetrates into them.

To achieve these objects guns may be placed:—

In a salient.

At the base of a re-entrant.

At the horns of a re-entrant.

At a bend in the trench.

In an emplacement jutting out from the general line of the trench.

In all cases the gun should, if possible, be covered from fire from the front, and should be able to sweep the front of the entrenched line with cross fire.

Thus, although each gun may be firing to its flank, its front is swept by the fire of a neighbouring gun.

Arrangements should be made so that guns so placed may be able to fire to their front, should an emergency make this desirable.

This can be done by:—

Arranging that some sandbags can be removed and the gun fired to the front through the loophole thus made.

105In this connection it must be remembered that:—

(a)
If the sandbags are left in place for a considerable time without being removed, they may become embedded and be found unmovable.
(b)
That loopholes filled with single sacks will not be bullet-proof.

Training the gunners to:—

(a)
Remove the gun quickly from the tripod and fire from the top of parapet without it.
(b)
Lift the gun and tripod out of the trench and fire it from some previously selected spot.

Note.—Both these methods require much practice.

Every endeavour should be made to conceal the position of the gun from the front.

Gun emplacements must therefore be made to appear exactly like the remainder of the trench or breastwork.

Several emplacements should be made for each gun, and practice should be made in moving guns quickly from one emplacement to another.

Guns may be placedIn the Front Line of Trenches.—This may be taken as the general rule.

In Support Trenches.—There are occasions when it may be advisable to place guns in the support trenches.

Here they may be arranged so as to:—

Prevent a further advance of the enemy should they capture the front line.

Enfilade the front line should it be captured.

Sweep the communication trenches.

In Positions in Rear.—If the ground is favourable it may be possible to place guns, in concealed positions, in rear of the entrenched line.

They can be arranged so as to:—

Fire over the trenches and sweep the ground in front.

Fire through gaps in the defensive line.

Command positions where the enemy may concentrate prior to the assault.

Command positions likely to be occupied by the enemy’s machine guns.

Command covered approaches on the defensive line.

106Enable guns to fire on enemy’s trenches with greater effect.

Give overhead covering fire in case of an advance by our own troops.

General Notes on Trench Work.

If guns are often used, the positions from which they are fired should frequently be changed.

Thus the enemy may be deceived as to the number and position of the guns.

Emplacements should be numbered, and range cards placed in each.

When taking over a line of trenches the machine gun officer must make careful arrangements for controlling the fire of his guns.

The machine gun officer must:—

(a)
Establish himself at a place where he can always be found.
(b)
Keep in touch with his guns with the officers of the line of trenches he is assisting to defend.
(c)
Arrange for ammunition supply.
(d)
Arrange for reliefs.

Towers, windmills and other high buildings may often be used with advantage:—

 
For overhead fire.
(a)
Cover the advance of friendly troops.
(b)
Fire at attacking enemy over the heads of our own troops.
(c)
Enable fire to be directed into enemy’s trenches.
(d)
To direct the fire of guns situated in other positions.

Woods, especially when in leaf, are often most valuable for concealing the position of guns.

Care must be taken that the guns are not placed too near the edge of the wood or individual men expose themselves.

All communications between guns should be made in the wood, well in rear of the guns.

Alternative positions should be selected, so that the 107guns may be moved rapidly from one to another if desired, with as little loss of time as possible.

Lines of retirement through the woods must be arranged and also lines of communication between guns and limbers thought out.

Machine Guns in Action.

The Attack.—The guns should be dug in whenever it is possible to do so without giving away their position.

It is often impossible to see anything of the enemy. Therefore likely positions for him to occupy must be looked for.

Surprise, obtained by a concealed advance, is essential to the successful handling of machine guns.

The progress of the infantry must be carefully watched, with a view to pushing on a certain number of guns and to closely support them whenever possible.

The usual methods of supporting the infantry attack will be:—

(a)
Fire from the flanks.
(b)
Overhead fire.
(c)
Long-range searching fire.
(d)
Fire from a forward position.

Every opportunity for the use of overhead fire should be seized.

All suitable ground, buildings, etc., that may enable this kind of fire to be used should be looked for.

The enemy’s machine guns are the weapons that are most likely to hold up the attack.

Therefore every effort should be made to locate them, and to concentrate the fire of our own machine guns upon them.

It may sometimes be possible to use machine guns to search systematically all places in the area of attack likely to be held by the enemy.

This searching fire has undoubtedly considerable moral effect on the troops subjected to it, and may greatly assist the subsequent infantry advance. It requires, however, a large expenditure of ammunition.

If the preliminary reconnaissance is properly carried out, it is quite possible for the guns employed for this purpose to remain undetected, even though pushed well forward.

108The general rules as to position of machine guns in attack are as follows:—

(a)
The fire of a large proportion of the available guns should be carefully organized to cover the infantry advance.
(b)
This covering fire is no longer possible, move up a proportion of the available guns either into, or on to, the flanks of the infantry firing-line.
(c)
A proportion of the guns should usually be held back as a reserve in the hands of the commander.
(d)
Thus each gun has a definite duty to perform, and co-operation between guns is assured.

It may be possible, and advantageous, to move forward a proportion of the guns with the attacking lines of the infantry.

The guns allotted to this duty will not take part in the covering fire, but will keep themselves fresh and their ammunition intact, in readiness for the advance.

Their duties will be to:—

(a)
Help the infantry to gain fire superiority at the decisive point.
(b)
Make good and hold positions won.
(c)
Pursue the enemy by fire.
(d)
Watch for and repel counterattacks.
(e)
Enable the infantry to re-organize.

As enemy snipers are a particular source of annoyance to machine gunners, they should be watched for.

The defence of prepared positions has been already dealt with under the heading of Machine Guns in Trenches.

Machine guns in any defensive position must be so organized that they can support each other mutually throughout any given section of the defensive line.

It must be remembered that the best positions for machine guns are not always the same by night and day.

It will often be necessary to move the guns from the night position to the day position before dawn.

Rearguard Action.—The following points must be considered:—

A wide field of fire.

Guns must be carefully concealed in the least obvious places.

109Covered lines of retreat must be carefully reconnoitred.

Limbers must be close up, to facilitate hasty retirement.

Positions in rear must be chosen before the guns leave the position they are holding.

A proportion of the guns should occupy the position in rear, before all guns retire from the forward position, thus the retirement of the last guns can be covered.

Village Fighting.—As soon as the infantry have made good one edge of the village, the guns will be brought up as close to the firing-line as possible.

They will then search windows, doorways, roofs, etc., likely to be held by the enemy.

Guns will be used to command cross-streets, etc., so as to guard against attacks on the flanks or rear of the infantry.

Guns should also be posted on the edges of the village, to prevent flank attacks.

During village fighting every use should be made of windows, doors, etc., as machine gun positions (see page 102).

Co-operation.—The necessity for co-operation between the machine guns taking part in any particular action cannot be overestimated.

Not only should the individual gun of a particular unit work upon some definite plan for mutual support, but the sections of all units that are operating together should co-operate with a view to obtaining the best results from their combined action.

This cannot be done in action unless it has been previously practised.

Therefore great attention should be paid to training a number of guns to operate together for some specific purpose.

110The following notes from overseas on machine guns, compiled by Capt. E. Feilder (Attached Gen. Staff, A.T.C.), are of considerable value:—

INSTRUCTIONS FOR MACHINE GUN OFFICER.

1. The Machine Gun Officer should have a complete knowledge of the nature of the action and the plans of the Commander.

2. The Commanding Officer should inform the M.G. Officer generally of the part he expects the guns to play, and the particular assistance he requires from him.

3. The M.G. Officer should then be allowed to form and carry out his own plan of action in such a way as best meets the requirements of the C.O. and the situation generally.

4. When possible, ample time should be given the M.G. Officer to make his arrangements.

5. He should not be given hurried orders at the last moment; such a proceeding is very seldom necessary.

SUGGESTIONS FOR THE EMPLOYMENT OF THE MACHINE GUNS OF A BRIGADE TAKING PART IN AN ATTACK ON AN ENTRENCHED POSITION.

1. The whole of the machine guns must be organised under the command of one Officer.

2. This Officer, in conjunction with the Section Officers, must make detailed plans for the employment of the guns.

3. In this manner each gun or group of guns will have a specific task allotted to it. Before the action commences all concerned will thoroughly understand their duties.

4. It must be clearly understood by all Officers of the Brigade that the machine guns have definite tasks allotted to them. That they are under the command of the Brigade Machine Gun Officer, and are therefore not to be given orders or otherwise interfered with by other Officers.

5. The plans of the B.M.G.O. will have been made in consultation with the Brigade Commander, who will have explained to him the course that the action is expected to take.

111All guns must be in their allotted places before the preliminary bombardment commences.

6. The Machine Guns will be allotted as follows:—

A.—Some to go forward with the Attacking Infantry.

These guns should not open fire until the infantry advance takes place.

Their role will be to make good the ground gained by the infantry against counter attack.

They should advance in such a manner as to ensure their reaching the position gained by the infantry in safety.

The locality in which the guns will be mounted in the captured lines should be settled before the advance.

B.—Some to Cover the Infantry Advance.

The possibility of using guns for this purpose and their positions if used depends on:—

1. The lie of the ground.

2. The position of your own and the enemy’s trenches.

When their role of covering fire is completed they should automatically come again under the control of the B.M.G.O., who will give them further orders.

C.—Some Detailed in Pairs to Engage the Enemy’s Machine Guns when these are Located.

These may possibly go forward with the attacking Infantry. This will depend on the nature of the ground, action, etc.

D.—Some in Reserve under the Brigade Commander.

These should be retained as a real reserve and not pushed too early into the fight.

If the attack is to consist of more than one phase, that is to say, of two or more distinct advances, separate plans must be made for each.

Arrangements for the supply of ammunition, belt fittings, ammunition depôts, etc., must be made before the action commences. One Officer should be placed in charge of these arrangements.

The B.M.G.O. should remain with the Brigadier. He should provide himself with a suitable number of orderlies.

112

CO-OPERATION.

The necessity for co-operation between the machine guns taking part in any particular action cannot be overestimated.

Not only should the individual guns of a particular unit work upon some definite plan for mutual support, but the sections of all units that are operating together should co-operate with a view to obtaining the best results from their combined actions. This cannot be done in action unless previously practised. Therefore attention should be paid to training numbers of guns to operate together for some specific purpose.

RANGES.

The ranges fired at have varied from 15 yards (at which, in one instance, a German rush was stopped), to 2,800 yds., at which range a battery of the enemy’s field artillery was silenced. This brings out the importance of:—

1. The allowance for wind at long ranges.

2. The importance of range-taking, range cards, judging distance, visual training, reference points, etc.

3. Practice of the “Swinging Traverse” for stopping rushes and dealing with dense targets at very close range.

4. Practice of traversing by means of the “Automatic Tap” for medium and long ranges.

NATURE OF TARGETS FIRED AT.

Targets have been of all kinds, such as:—

1. Dense masses at all ranges.

2. Extended lines at all ranges.

3. Artillery on the move and in action.

4. Edges of woods, hedges, ditches, etc., where enemy’s firing-line was known to be, but in many cases could not be seen.

5. Enemy machine guns in all manner of positions, usually invisible to the eye or even with glasses.

6. Hollows, wood, and other cover under which the enemy was known to be concentrating.

7. Searching fire to try and locate and beat down hostile fire that was being delivered from concealed positions.

The varied nature of the targets that the machine gunner may have to engage brings out the fact that the machine 113gunner must be very thoroughly trained, and emphasizes the points brought out under “Ranges, Fire Orders, Indication and Recognition.”

FIRE ORDERS.

While in a large number of instances it has been possible to give fire orders by word of mouth, this will, as a rule, be only possible under exceptionally favourable circumstances.

Thus the successful co-operation of the guns working under one leader will very largely depend on the mutual understanding that exists between the Officer and his Gun Commanders.

Therefore the Officer must ensure that all those under him clearly understand:—

1. The part the machine guns are intended to play.

2. The plans of the Machine Gun Officer.

3. The objects in view and the methods by which the Machine Gun Officer hopes to attain them.

In this way, even when individual control by the Officer has been lost, the desired effect will most likely be obtained, for each Gun Commander will be striving to attain that effect, though, perhaps, by different means.

METHODS EMPLOYED IN CONTROLLING FIRE OF SECTION.

The following have been the usual methods:—

1. Fire orders by word of mouth.

2. Signals (including flashlights, etc.).

3. Telephones (in one or two cases in trenches).

4. Orderlies.

But whatever method is employed, a thorough understanding between the Officer and those under him is essential.

NUMBER OF GUNS UNDER ONE COMMAND.

One Officer to a 4–Gun Section is not sufficient. Whether the guns are grouped under the supreme command of one Senior Officer, or whether they work in sections, there should always be one Officer to each pair of guns.

114

ALTERNATIVE POSITIONS ARRANGED FOR.

The great importance of alternative positions being arranged for cannot be overestimated. The best way of moving the gun from one position to another without being seen should be studied. If guns are located and shelled, either:—

1. Move guns at once to an alternative position or right away.

2. Let the gunners cease fire and get under cover until the shelling ceases.

The first will be the more useful proceeding, but success has been obtained several times with the second. For example:—

On one occasion, after shelling for some time, the artillery ceased, thinking, no doubt, that they had “knocked out” the machine guns. Massed enemy infantry then advanced, the machine guns opening fire again from their old position with great effect.

The great importance of concealed approach in occupying positions must be impressed on Machine Gun Officers.

GENERAL REMARKS OF INTEREST.

1. Lack of any organised method of using machine guns. Young and inexperienced Officers are left in many cases to do what they think best with their sections, without any previous consultation or plan as to how guns can be most usefully employed.

2. Lack of any attempt at co-operation between the sections of the units working together in any particular action.

3. Lack of initiative and push. This is usually due to want of knowledge. Though the machine gun is a weapon of opportunity, opportunities seldom occur to those who passively await them.

A good Machine Gun Officer, by keeping himself thoroughly in touch with the situation, must have an opportunity to use his guns with effect.

4. This lack of co-operation is seen both in the open and in trench work. All this points to the fact that co-operation between the whole of the machine guns taking part in any action is not sufficiently studied.

115

GUNS BRIGADED IN ACTION.

On many of the occasions brought to notice in which machine guns have been brigaded they have achieved marked success, but on the whole not sufficient use has been made of this method of obtaining the combined action of a number of guns.

“Brigading” guns does not mean “massing” them. It means the “brigaded” guns are employed with some definite plan under the direction of one Officer.

In all cases where the action of brigade guns has been successful there has been:—

1. A thorough understanding of the plans of the Brigadier by the B.M.G.O.

2. Conference between the B.M.G.O. and the Section Officers at which the arrangements for the employment of the machine guns were fully discussed.

3. Definite orders to the Section Officers.

4. A proportion of the guns held in reserve under the B.M.G.O.

But when the sections have been hastily collected together and placed under the B.M.G.O., without time for making the above arrangements, the result has usually been that sections have been dispersed without definite orders or a complete understanding of the situation, and effect has been lost.

In trench warfare the successful co-operation of the machine guns assisting in the defence of any particular section of the entrenched line has been obtained by:—

1. A previous reconnaissance of the whole line by the B.M.G.O.

2. Diagrams made of own and enemy’s trenches.

3. The number of emplacements.

This has enabled rapid concentration of the requisite number of guns only on any one portion of the enemy’s line, and has prevented unnecessary opening of fire and the consequent waste of ammunition.

In many cases, however, Officers in command of troops in sections of trench line have considered they are also in command of the machine guns placed in that portion 116of the trench occupied by their troops. This has led to:—

1. The disadvantage of dual control.

2. The guns being placed in the same emplacement day after day.

3. The arrangements of Machine Gun Officer being interfered with.

4. The guns being located by the enemy through an unnecessary opening of fire ordered by an Officer who is not an expert in machine gun tactics.

FIRE ORDERS.

The system of fire orders as taught at Hythe previous to the war has been most successful.

Machine Gun Officers are also of opinion that, though it has often been impossible to give orders by word of mouth, the systematic training of all ranks in this system tends to ease of control under difficult circumstances, and when a number of guns are being employed for combined action.

This training forms a basis from which other methods of control can most easily be evolved, and inculcates into the men the necessity for assuring themselves that any orders received by them are passed on by some means to those concerned.

“INDICATION AND RECOGNITION.”

The methods of “indication and recognition,” as taught at Hythe before the war, have proved most useful. This fact has been brought out in the accounts of the most successful machine gun actions, as has also the great value of the use of range cards and indication points. Targets are generally easy to indicate, as men are more alert than in peace-time.

Training in indication, recognition, fire orders, and judging distance, can be given at any time, as no apparatus is required.

This is also valuable, as it trains all ranks in a quick understanding of directions given, study of ground, and trains the eye in quick observation.

117

WORKING GUNS IN PAIRS AND INTERVALS BETWEEN GUNS.

The necessity of using guns in pairs for mutual support in case of mechanical trouble no longer holds good. Guns in the open have usually been placed not less than 50 yards apart. This enables the best use to be made of the ground as protection against artillery fire and for concealment. In trench warfare guns should usually be placed singly, arrangements being made for “cross fire” and mutual support between the guns of any particular section of the defensive line.

OBSERVATION OF FIRE.

Observation of fire has usually been obtainable up to 900 yards, and in favourable circumstances at even longer ranges.

Even when the ground has been unfavourable, observation has often been obtainable on water, walls of houses, enemy’s parapet, etc.

OVERHEAD FIRE AND CONDITION OF GROUND.

During the fighting on the Marne and on the Aisne, guns were often able to support the infantry advance to within 100 yards of the enemy’s position.

Even on flat ground frequent instances are given where overhead fire has been used, with excellent effect, from buildings.

On the whole it would appear that not enough use is made of this fire.

This is a question that should be carefully studied by all Machine Gun Officers.

INDIRECT FIRE BY GRATICULES, LEVEL, AIMING POSTS AND OBSERVATION.

All the suggested methods have been used, and in some cases compasses and maps as well. Effect has been obtained in the open and on enemy’s concentrations at long ranges, and in trench warfare on working parties, ration parties, communications, etc., behind the enemy’s 118lines. A great deal more could be done in this way if all guns were not almost invariably placed in trenches, instead of a proportion being placed in suitable positions in rear, and long-range fire employed. All this points to the fact that a Machine Gun Officer should be acquainted with all methods of employing indirect fire, in order that he may be in a position to make the best of any opportunities that may occur.

CLOSE CO-OPERATION BY MACHINE GUNS WITH THE FRONT LINES OF ATTACKING INFANTRY.

Very little information has been given on this subject, but co-operation seems to have been very poor; but this co-operation is made very difficult in many cases by:—

1. Inability of the M.G. sections to keep pace with the attacking infantry.

2. The visibility of the methods employed of carrying the gun. This leads to many casualties.

3. Lack of tactical knowledge on the part of many of the more junior M.G.Os.

4. Lack of definite plans as to the role of the M.Gs. before the action commences.

The two following examples serve to illustrate some of the above:—

1. In a recent attack, owing to lack of any previous understanding between M.G.Os., eight M.Gs. converged into one small section of a captured trench. Owing to lack of space only two of these guns were able to come into action.

2. In another instance during an attack, six guns converged into one small house. Owing to lack of space, etc., only two of these guns were able to come into action.

Before an attack a certain M.G. Officer was told to await orders from his Commanding Officer. He was forgotten and left behind.

In this case, as soon as the Officer realized that he had been forgotten, he should have used his own initiative.

All these point to the fact that some arrangements for concerted action should be made.

N. B.—See “Guns Brigaded in Action.”

119

OBTAINING AMMUNITION FROM LIMBER FOR GUNS WHEN ATTACKING.

1. The usual system of using Nos. 3 and 4 as carriers is generally adopted. Often these numbers are not sufficient for the work. It is then necessary to borrow men from neighbouring squadrons or companies.

2. The bringing up of ammunition is dangerous work; therefore it is obviously best to avoid employing trained gunners if unskilled men are available.

3. In this manner you conserve your trained gunners for replacing casualties.

4. Pack animals can sometimes be brought close to the firing-line when the ground is favourable, thus saving manual labour.

5. Several instances are given of confusion occurring during an attack, owing to the limber moving without orders. This should be guarded against.

CHIEF MECHANICAL TROUBLES.

The answer to this subject emphasizes the fact that when well looked after, the Maxim or Vickers machine gun is thoroughly reliable. Except in very few cases all breakages may be said to be due to want of care. The following are the principal troubles that have occurred:—

1. Broken Lock Spring.

From inquiries made it would appear that many gunners keep their guns loaded with the lock spring compressed during the whole period that the gun is in the trenches. This practice will be a fruitful source of broken lock springs. The half loading motion should be performed, and the lock spring released. To complete the loading when required should not take more than one second.

2. Bulged Barrels.

These are due to mud getting into the barrel when the gun is being carried into the trenches, while it is being mounted, or through striking against the parapet when in position.

Waterproof sheets or sandbags should be put round the gun when carrying it to or from the trenches.

120

3. Wet Belts.

These can generally be kept dry by covering the box with a waterproof sheet; the exposed part of the belt also being covered by that part of the sheet that is hung over the gun.

4. Muzzle Cups (Vickers’ Gun).

The reason for most of the breakages of these cups is that they are screwed up too tight, thus allowing for no expansion of the metal of the barrel owing to heat. At the same time they must not be too loosely screwed up, as this will equally cause breakages.

5. Stove Pipe Attachment.

Complaints are made that this bursts at the seam. This seam can easily be riveted by the armourer sergeant.

6. Loose Belts.

Loose belts have given trouble owing to wear.

7. Firing Pins.

A number of firing pins have been broken.

Beyond these few things mechanism troubles have been very rare.

USE OF PACK TRANSPORT.

Pack transport for both cavalry and infantry has been found to be more mobile and less conspicuous than limbered wagons. A combination of both is probably best. In many cases, before the war, pack transport was never used; thus when issued it was little understood. Sufficient attention is not paid to the selection of horses for pack work. If the horses with easy action are selected the bad effects of undue jolting can be minimized. Putting on pack and getting in and out of action with it is too little practised.

THE FOLLOWING COMPLAINTS HAVE BEEN RECEIVED.

1. Canvas ammunition carriers soon wear out. These can easily be reinforced with leather by a saddler. A board placed underneath them with rope passed through the brass eyelets has been found very satisfactory.

1212. Jolting of the pack causes the ammunition to slip back in the belt, leading to faults in feed. Boxes can be lined with tin from biscuit boxes. Ammunition has been carried in boxes that have been treated in this way for long periods without any movement of the ammunition.

PACKING AND CARRYING GUNS IN LIMBER.

Almost every detachment appeared to have a different method of packing their limbers. It is advisable that gun, tripod, etc., should be carried in the front portion, as the rear half may have to be discarded. In many cases boxes to hold the gun are fitted into the limber itself with good results. Converted guns are sent in boxes too long to fit the limber.

BREAKAGES TO LIMBER.

Perches, brakes and perch hooks have frequently broken. It is thought that brakes are too often used instead of horses being made to take the weight of the limber when descending hills.

BILLETS.

Most Machine Gun Officers appear to make every endeavour to keep their men in practice, practice being daily given whether in or out of the trenches. There are, however, exceptions, who state that there is no time for training. As all brigades doing trench work are similarly situated, this points to lack of effort in those particular cases. In very few cases is any physical training attempted. This is one of the most important parts of the training of any man who has to carry a heavy weight at a rapid pace. After several days of trench work this becomes more than ever necessary. It is suggested that only the minimum number of men actually required to work the guns should be kept in the trenches. The remainder of the team should be practised daily, and every effort should be made to keep them physically fit. In this way each man would do only very short periods of trench work, and would be in every way better and more prepared for really strenuous work when required.

122

TO TRAIN NEW MEN FOR GUN TEAMS.

Where instruction in billets is carried out on a properly organized system there would appear to be no difficulty in training considerable numbers of new men. In certain brigades, brigade machine gun courses are held under a selected Officer; the men attending these courses are kept out of the trenches for the duration of the course. This would appear to be by far the most satisfactory arrangement. Many Officers complain that as soon as they train a reserve team it is placed in the ranks, the men fighting as ordinary riflemen. Thus after an action when reserve men are required to replace the casualties in the gun team, it is generally found that many of these, on whose training as machine gunners much time and trouble has been spent, have been killed or wounded. This is a mistaken policy. In conclusion:—

1. Trained machine gunners are too valuable to be risked on any work except their own particular job.

2. All trained reserves should be kept out of danger as much as possible until required to replace casualties.

3. At ordinary times four men per gun are ample for work in trenches; the remainder should be kept in reserve.

4. A proper system of training should be established in each brigade.

PAINTING OF GUNS.

It is suggested that guns should be painted on the rainbow smudge system, in order to make them less conspicuous and visible.

KEEPING OFFICERS IN PRACTICE.

It is very important that all Officers, when trained as machine gunners, should be given opportunities of practice and of handling a section. Thus they will be ready to take over the section at any time, if required.


A Silver Model of a Maxim Gun.

War Trophies & Souvenirs

The Goldsmiths & Silversmiths Company have a selection of designs open for inspection or special designs can be prepared by expert artists free of charge. Shells, fuses and other War Souvenirs can be mounted in suitable manner at moderate prices. Estimates can be given for any work to be undertaken. Catalogues and Photographs sent on application.

The
Goldsmiths & Silversmiths Company, Ltd.,
Jewellers to H.M. The King.
112, Regent Street, London, W.
No Branches.

TRADE MARK.

GEO. CORDING LTD.
[Coat]
GUARANTEED
WATERPROOFS

By Appointment To H.M. The King.

WATERPROOF
TRENCH COAT
Lightweight 90/–
Medium 105/–
Heavy 105/–
Fleece Linings 45/–
Without Rubber } Write for Prices.
„ (lined Oil Silk)
   
(Write giving chest measure and length required.)
WATERPROOF
BOOTS & WADERS
OVERALLS, OILSKINS
CAMP & HOSPITAL EQUIPMENT
Geo. CORDING Ltd.
Phones:—
Regent 3738
Gerrard 6327.

125, REGENT STREET 16, NEW BOND STREET London, W.1.

PIPE & McGILL,
LTD.
27, Maiden Lane, Bedford St.,
Strand, London, W.C. 2.
Actual Manufacturers
of Officers’ Uniforms
since 1868.
❧ ❧
Price List on Application.
❧ ❧
BEST MATERIAL AND
WORKMANSHIP ONLY.

Phone: Gerrard 3657.

Telegrams: “WEFT, RAND, LONDON.”

[Coat]
The Rimasop Trench Coat

Made by the old-established Bond Street House of Rimell & Allsop, this coat embodies the suggestions of British Officers who have fought in France and Flanders since the beginning of the War. War experience has proved its practical value. Officers are invited to avail themselves of the experienced services of Messrs. Rimell & Allsop in the selection of any kit, either for Ceremonial occasions or for the Front.

A 16–page booklet will be sent post free to any address by
Rimell & Allsop,
Sporting & Military Tailors,
54, New Bond Street, London, W.
WRIGHT’S
Coal Tar
SOAP
is now known as the
Soldiers’ Soap.
It Soothes, Protects, Heals.
Bournemouth, 1916.
Dear Sirs,

I am sending you an extract from my son’s letter (he is on active service, somewhere in France). I wrote asking if I should send him vermin powder, and his reply is: “DON’T SEND ANY VERMIN POWDER, THANKS; I USE WRIGHT’S COAL TAR SOAP, THAT’S AS EFFECTIVE AND MUCH MORE PLEASANT.”

It seems to me a unique and spontaneous tribute to your soap.

Yours truly, S.....
4½d. PER TABLET.
[Logo]
B.S.A.
RIFLES
AND
SIGHTS

The very extensive B.S.A. rifle and sight plant is at present exclusively engaged in the manufacture of service pattern arms for the War Department. The production of the various B.S.A. target and sporting rifles and sights will be resumed as soon as the pressure due to the war eases off.

There are still remaining in stock a few rifles of ·250, ·300, ·310, and ·32/20 bore.

WRITE FOR DETAILS, POST FREE.
B.S.A. Rifle “Safetipaste”
THE “NO TROUBLE” RIFLE BARREL PRESERVER.

Abolishes the arduous process of scrubbing out rifle barrels. The bore of the barrel has merely to be coated with the preparation. Acid and other products of combustion at once rendered quite harmless. Rifle may safely be put aside for any period. Simply wipe out the bore before firing again. Its polish may be even more brilliant than before.

Sold by all Gunmakers at 1/– per tube.

Inventors and Sole Manufacturers:—

THE BIRMINGHAM SMALL ARMS CO., LTD.,
BIRMINGHAM.
H. Graham Bennet,
Uniform Specialist,
58, Moorgate Street, LONDON, E.C.
Telephone No.: LONDON WALL 205.

Estimate for Outfit for Second Lieutenant of Infantry

on joining Unit (Home Service).
£ s. d.
1 Service Jacket, whipcord material 4 14 6
1 pair Collar Badges for ditto 0 6 6
1 pair Knicker-breeches, whipcord material 1 10 0
1 Service Jacket, fine grade serge 3 10 0
1 pair Collar Badges for ditto 0 6 6
1 pair “Slacks” to match 1 5 0
British Warm Coat (Lined Woollen Plaid) 3 15 0
1 pair Gilt Stars for shoulders of ditto 0 2 6
Sam Browne Belt, fine grade, with two braces, frog, holster, pouch, etc., complete 2 5 0
Cap and Badge 1 0 0
1 pair Spiral Puttees 0 7 6
Haversack 0 7 6
Water Bottle 0 12 6
Whistle and Lanyard 0 2 6
Great Coat Carrier, best grade sling and swivels 0 8 6
3 Best Quality Khaki Flannel Shirts at 10/6 1 11 6
6 Collars to match at 1/6 0 9 0
2 Khaki Silk Knitted Ties at 2/6 0 5 0
 


  22 19 0
Wolseley Valise and Camp Kit complete 7 10 0
 


  30 9 0
Infantry Pattern Burberry Coat 3 13 6
 


  £34 2 6
 


Strictly Net Cash.

NOTE.—The above figures are a quotation for the complete outfit, and do not refer in every case to separate items.

All the above articles of best materials, best cut and style and sound workmanship.

Full detailed price list and list of regiments, etc., for which outfits have been supplied, can be had on application.

Speciality—Promptitude.

BENSON’S
LUMINOUS
“Active Service” Watch.
VISIBLE AT NIGHT.
WARRANTED TIMEKEEPERS.
[Watch]
Silver Crystal Glass, £3 3s.
Silver Hunter or Half Hunter, £3 15s.
Gold Crystal Glass £8 0s.
„ Hunter or Half Hunter £8 10s.
Others in Silver from £2 10s.
Fine quality lever movement, fully luminous figures and hands, and extra heavy Screw case (special to our make).
Illustrated Lists of Wristlet Watches, Rings (with size card), Watches, Chains, Jewels, etc., post free.
62 & 64, LUDGATE HILL, E.C. 4, and 25, OLD BOND STREET, W. 1.
_We Pyjama the World._
ALWAYS WEAR “SWAN-STRIPE” Pyjamas.
Will not shrink.
Known throughout the world as Swan & Edgar’s Pyjamas.
REFUSE
SUBSTITUTES.
“MERCERISED”
(thin), 6/11 3 for 20/–
CEYLON WOOL,
Medium Weight, 6/11
3 for 20/–
BEST WOOL MIXTURE,
12/6 3 for 36/–
HEAVY PURE WOOL,
18/6 3 for 54/–
PURE SILK,
21/– 35/– 45/–
We hold the largest stock of Pyjamas in London.
ALL PYJAMAS SENT POST FREE IN U.K.
Height and Chest Measurement required.
Swan & Edgar
LTD.
Regent Street and Piccadilly, London, W.
OXO

is particularly valuable for use on the Field, in the Hospital, in the Canteen and in Training

It aids and increases nutrition and stimulates and builds up strength to resist climatic changes; it is invaluable for all who have to undergo exertion either to promote fitness or to recuperate after fatigue.

OXO, Ltd., Thames House, London, E.C. 4.

Don’t forget to take

BRYANT & MAY’S
“KAMPITE”
SAFETY TRENCH COOKER
[Cooker]
NO SPIRIT NO LIQUID
SAFE, CLEAN & RELIABLE
Complete with collapsible stand and six fuel blocks.
Made by BRYAN & MAY, LTD.,
Manufacturers of the celebrated
‘Brymay’ Safety Matches & Swan Vestas
Smart Yet Dependable

Prior to the invention of THE TIELOCKEN, a Weatherproof combining the smart Service appearance requisite to the Soldier, with such protective powers as would enable it to resist the heaviest downpour and keenest wind, may be said to have been non-existent.

In every case one quality had to be sacrificed for the benefit of the other, and to-day

THE TIELOCKEN
[Coat]

is the only Service top-coat that successfully unites both these essential characteristics.

Its design ensures that, from chin to knees, every vulnerable part of the body is doubly protected.

It affords effective security, yet is healthfully self-ventilating—excludes heavy rain, yet is free from rubber or other air-tight fabrics—is airylight, and yet warm in chilly weather.

Another advantage is its quick adjustment. A belt holds securely—no buttons to fasten.

NEW KIT

BURBERRYS supply well-tailored Uniforms in Burberry-proofed cloths, suitable for any part of the world, as well as every detail of equipment.

Officers’ Complete Kits in 2 to 4 Days or Ready for Use.

Illustrated Military Catalogue Post Free.

BURBERRYS Haymarket LONDON
8 & 10 Boulevard Malesherbes PARIS; Basingstoke and Provincial Agents
[Boot]
The Best Boots
for
Active Service
are
Faulkners’ Norwegians
in their
[Boot]
Special Service Leather.
The Smartest Boots
for
Home Service
are
Faulkners’ Field Boots.

Write for Descriptive Booklets of Boots, Leggings and Spurs; also Self-Measurement Apparatus if unable to call.

Faulkner & Son
SPECIALISTS IN SERVICE BOOTS & LEGGINGS.
51 & 52, SOUTH MOLTON STREET, LONDON, W. 1.
And 26, Trinity Street, Cambridge.
Freedom.
“It is not to be thought of that the Flood
Of British freedom, which to the open Sea
Of the world’s praise from dark antiquity
Hath flowed, ‘with pomp of waters, unwithstood,’
Roused though it be full often to a mood
Which spurns the check of salutary bands,
That this most famous Stream in Bogs and Sands
Should perish; and to evil and to good
Be lost for ever. In our Halls is hung
Armoury of the invincible Knights of old:
We must be free or die, who speak the tongue
That Shakespeare spake; the faith and morals hold
Which Milton held.—In everything we are sprung
Of Earth’s first blood, have titles manifold.”
William Wordsworth, 1802.
CHARING CROSS
Turkish Baths
Nevill’s
Northumberland Avenue
PRONOUNCED TO BE THE FINEST IN EUROPE
Are the last word in Comfort and Luxury
Cure
Rheumatism, Lumbago,
Sciatica, Colds, Strains,
Stiffness, Etc.
THEY MAKE AND KEEP YOU FIT
... And at
LONDON BRIDGE, BROAD STREET, CITY,
EDGWARE ROAD, Etc., Etc.
THESE BOOKS WILL HELP YOU

PLATOON & COMPANY DRILL

Compiled by the Commandant and Staff of the London District School of Instruction, Chelsea Barracks. Illustrated. The last word in Drill.

Price 1/–, post free 1/1.

BATTALION DRILL ILLUSTRATED

A very practical work widely used throughout the country. Fully illustrated.

Price 1/– net, post free 1/1.

DUTIES FOR ALL RANKS

Will be of considerable help to you. Gives all duties from the Private to the C.O. Etiquette, Officers’ Messes, hints to young Officers, how to look after your Platoon, &c., &c.

Price 6d. net, post free 7d.

KNOWLEDGE FOR WAR

Every Officer’s handbook for the Front. Based on the War Office Syllabus. Expert information on every subject which an Officer must know before being selected for service in the field.

Price 2s. 6d. net, post free 2s. 8d.

COURTS-MARTIAL FOR PRESIDENTS AND MEMBERS

A complete guide to this intricate subject by a D.A.A. and Q.M.G.

Price 5/–, post free 5/5.

RIFLE SHOOTING FOR WAR

A valuable adjunct to Musketry Regulations.

Price 6d. net, post free 7d.
Send a postcard for full List of Books:
HARRISON & SONS,
Printers in Ordinary to His Majesty,
ST. MARTIN’S LANE, LONDON, W.C.
MILITARY PUBLICATIONS

Swedish Drill Illustrated

The Maxim of
the Moment
GET FIT!
FOR EVERYBODY
Written by Army Gymnastic Expert. Plain, Simple and Concise
PRICE –/6 NET
Post Free Sevenpence

Recruit Training (Infantry) 1914

An aid to an
Instructors
NET –/6 NET
Post Free Sevenpence
ADOPTED BY COMMANDERS EVERYWHERE

Infantry Pocket Book

A Great Boon for
Infantry Officers
and N.C.Os.
Full of Everyday Hints and Data
WITH SPECIALLY RULED PAGES FOR
Nominal Roll, Duty Roster, Register, &c., &c.
PRICE 1/– NET
Post Free 1/1

From the Front: Notes for the New Armies

Full of
Valuable
Hints
Written from Personal Experience
Much can be learnt from this book which will prove extremely serviceable
PRICE –/6 NET
Post Free Sevenpence

Squad Drill Illustrated

Practically Written
Graphically Depicted
Including
SECTION DRILL
PLATOON DRILL
RIFLE EXERCISES
EXTENDED ORDER
Can be understood by anybody
PRICE –/6 NET
Post Free Sevenpence

Company Drill Illustrated

(IN RED
COVER)
Illustrating clearly each movement and showing the positions of commanders
THE NEXT BOOK TO “SQUAD DRILL”
PRICE –/6 NET
Post Free Sevenpence

Battalion Drill Illustrated

Indispensable
to Officers and N.C.Os.
Full of Graphic Illustrations
A wealth of detail invaluable to all who are in command of Units of any denomination
PRICE 1/– NET
Post Free 1/1

Guard Duty Illustrated

Direct—Simple—Useful
Full of Information
Invaluable alike to the Regulars & Volunteers All you want to know about Guard Duties
PRICE –/6 NET
Post Free Sevenpence

Handbook for Company Officers

A Valuable Aid
for all Officers
and N.C.Os.
HANDY SIZE 1/6 CLOTH BOUND
Post Free 1/9

“This convenient and well-arranged handbook sets out in clear and simple language an epitome of the duties which fall to a company officer and a group leader.”

Duties for all Ranks

A Compendium
of Information

Specially compiled, clear and concise, embracing

Adjutant’s Duties. Officers’ Messes

A Guide for all—Regulars and Volunteers—from C.O. to Private

Every Officer, N.C.O. and Private should have a copy of this Manual

PRICE –/6 NET
Post Free Sevenpence

Knowledge for War

Expert information on
all Subjects taken under
the W.O. Syllabus
EVERY OFFICER’S HANDBOOK FOR THE FRONT
PRICE 2/6 NET
Post Free 2/9
Written by Experts. Send a postcard for full syllabus

Platoon & Company Drill

The Chelsea
Barracks
Text Book
OFFICIALLY ADOPTED BY THE WAR OFFICE
See September, 1916, Army Orders
PRICE 1/– NET
Post Free 1/1

Rifle Shooting for War

A Practical
Illustrated Book
The outcome of the experience of an International Rifleman
PRICE –/6 NET
Post Free Sevenpence

Fire Orders Direction & Control

PRICE –/6 NET
Post Free Sevenpence

Aids to Musketry

A Valuable Manual on
an Important Subject
PRICE –/6 NET
Post Free Sevenpence

Machine Gun Manual

With Drill, Fire Orders
& Notes from the Front
A COMPLETE MANUAL TO MACHINE GUNNERY
Maxim—Vickers—Lewis—Colt—Hotchkiss
PRICE 1/– NET
Post Free 1/2

Trench Sketching Illustrated

A Booklet of extreme
practical value
COMPASS AND PERISCOPE WORK
PRICE –/9 NET
Post Free Tenpence

The War Manual

Two Volumes Now Ready
Full Prospectus Post Free
PRICE 5/– NET
Each

Courts-Martial

Full Proceedings
thoroughly described
INVALUABLE TO ALL OFFICERS
Should be in every Mess
PRICE 5/– NET
Post Free 5/3

Summaries of Evidence Courts of Enquiry, &c.

Will help
you over
many a fix
With complete formulas and examples
PRICE –/9 NET
Post Free Tenpence

Modern Range Finders

Will increase the efficiency
of the Range
Finder in everyday use
A thoroughly descriptive Booklet
PRICE –/6 NET
Post Free Sevenpence

Miniature Rifle Ranges

Fully Illustrated
Really Practical
All owning or about to own a range should have this book
PRICE –/6 NET
Post Free Sevenpence

Bayonet Fighting for War

With 55 Photographic
Illustrations
THE JU-JITSU OF BAYONET WORK
Valuable knowledge in a tight corner
PRICE –/9 NET
Post Free Tenpence

Company & Platoon Commands

A Pocket
Aid to
Memory
PRICE –/3 NET
Post Free –/3½

Automatic Pistols & Revolvers

Every Officer should peruse this book
PRICE –/6 NET
Post Free Sevenpence

Artillery Field Formulæ

For 18–pr. and
15–pr. B.L.C.
ALL THE NECESSARY DATA AT A GLANCE
Compact for the Pocket. Printed on Linen
PRICE –/6 NET
Post Free Sevenpence

The “Sight-Angle” Sketch Block (Terrell’s Patent)

For the making
of Perspective
Sketches
INVALUABLE FOR ARTILLERY & INFANTRY
(With full Directions and Specimen)
SKETCH BLOCK 3/– Post Free 3/4
Waterproof case for same 2/6 Post Free 2/8
Case and Block complete 5/6 Post Free 6/–

Maze Drill Illustrated

A Valuable Adjunct for Training
PRICE 1/– NET
Post Free 1/2

English-Flemish Military Guide

Wholly elaborated close to the line
of battle, where the first editions
have also been printed and sold
PRICE –/10 NET
Post Free 1/–
Invaluable to all Troops proceeding to Flanders

Military Guide for the Eastern Campaign

Extremely helpful to those
in or about to proceed to
EGYPT, SALONICA,
MESOPOTAMIA, &c.
With Field Vocabulary in English-French-Greek-Turkish
PRICE 2/6 NET
Post Free 2/9

Physical Drill for Home Defence Corps

With Illustrations
and Specimen
Lessons
PRICE –/6 NET
Post Free Sevenpence

English-French Guides & Vade-Mecums

Full List
Post Free

Canvas and Camaraderie

A Charming
Souvenir for
your Friends
FULLY ILLUSTRATED

“Should prove a blessing in every camp, the collection of songs being most interesting.”

Vide Press.
PRICE –/6 NET
Post Free Sevenpence

Field States British Expeditionary Force

AND
OTHER
DATA
PRICE 1/– NET
Post Free 1/1

“A mass of data; strength, road space, animals, transport, tools, medical services, bridging material, camp billets, etc.; of great value for quick reference.”

SMART, SERVICEABLE AND SOLDIERLY.
[Officer]

Let the Leading Military Tailors make your kit and you are assured of quality in material, soldierly smartness in cut, correctness in detail, and strict moderation in cost. Thresher’s Guide illustrates and describes everything in Officers’ Uniforms and Equipment. The long experience and wide knowledge which it embodies are invaluable to the Cadet receiving a commission who wishes to be well and efficiently equipped without throwing away money.

The Guide is kept constantly up-to-date, fresh editions, containing the latest information, being frequently published.

Write for Guide (E) to Kit and Equipment.

A FEW PRICES.
£ s. d.
Whipcord F. S. Jacket 4 4 0
Slacks 1 12 6
Bedford Cord Riding Breeches 3 3 0
Service Cap 0 15 6
British Warm from 4 4 0
Sam Browne Belt and Shoulder Strap 1 7 6

By Appointment to H.M. The King.

THRESHER & GLENNY
152 & 153, STRAND
LONDON, W.C. 2.
Estd. 1850.
Elvery’s Ltd.
“Waterproof” Trencher
[Coat]

☛ ELVERY’S TRENCHER is made of “Triple-proofed” fabric without the aid of Oilsilk or Cotton, and is unsurpassed as a reliable “Trench Coat.”

¶ “Land & Water” says: “it is a good coat worthy of the consideration of all officers in need of a really reliable coat.”

Best make & finish, special value, 4½ gns.

Active Service Waterproof, 3 gns.

(Guaranteed Stormproof.)

☛ Elvery’s are waterproof Experts, and are replete with all Waterproof Kit Requirements, Boots, Leggings, Gloves, etc.

Complete War Office Kit, £7 10s.

J. W. ELVERY & CO., Ltd., Waterproof Specialists,
ELEPHANT HOUSE, Estd. 1850,
31, CONDUIT STREET, LONDON, W.
(One door from New Bond Street), And at DUBLIN & CORK.

TRANSCRIBER’S NOTES
  1. Moved ads prior to the title page to the end of the text.
  2. Silently corrected obvious typographical errors and variations in spelling.
  3. Retained archaic, non-standard, and uncertain spellings as printed.
  4. Re-indexed footnotes using numbers.
  5. On page 87, “are as on pages       .” is printed that way.